lemon-mirror:
Home >> Subaru >> 2009 >> Outback F6-3.0L DOHC >> Repair and Diagnosis >> Diagrams >> Exploded Views >> Fuel Pump

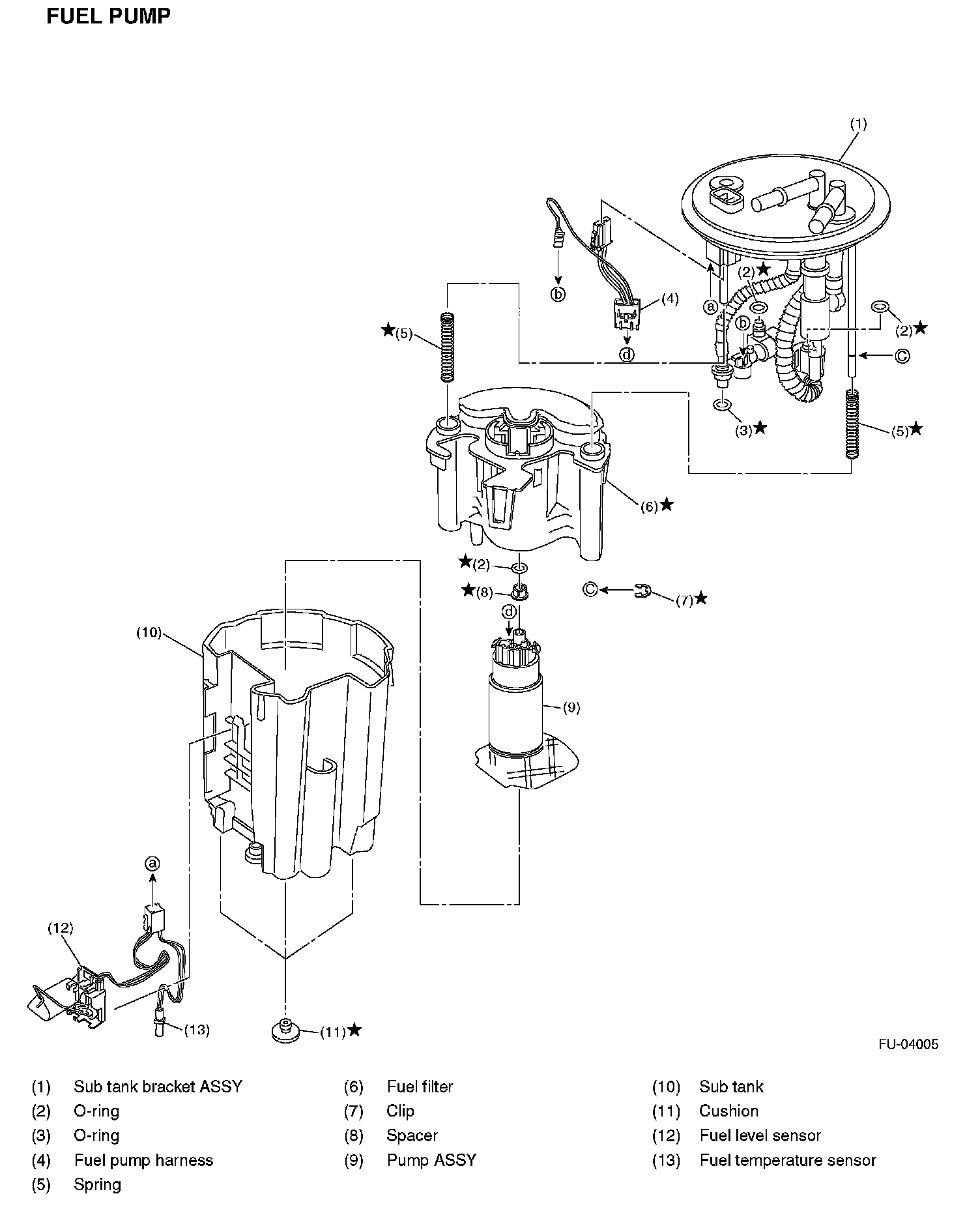
Fuel Pump

This article / image reflects the changes called out in manual update
18-135-09 dated 02\02/09.