lemon-mirror:
Home >> Subaru >> 2009 >> Outback F4-2.5L SOHC >> Repair and Diagnosis >> Diagrams >> Exploded Views >> Heating and Air Conditioning

Heating and Air Conditioning

Heater Cooling Unit - Auto A/C Model (Part 1):



Heater Cooling Unit - Auto A/C Model (Part 2):



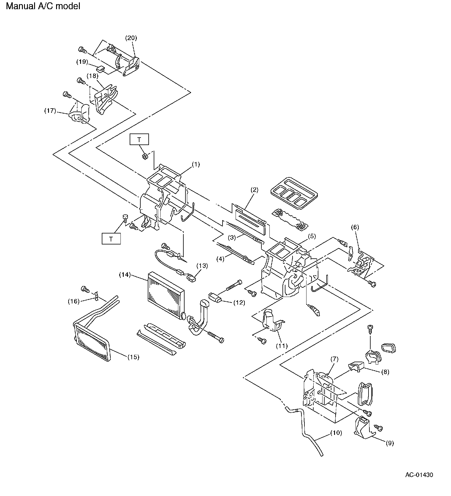
Heater Cooling Unit - Manual A/C Model (Part 1):



Heater Cooling Unit - Manual A/C Model (Part 2):



Blower Motor Unit:



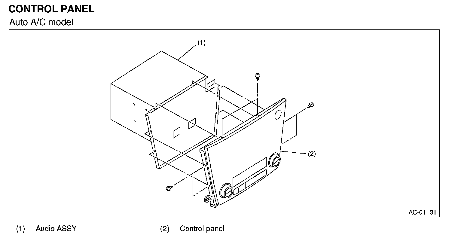
Control Panel - Auto A/C Model:



Control Panel - Manual A/C Model:



Air Conditioning Unit:



Compressor - H4 Model:



Compressor - H6 Model:



Heater Duct: