lemon-mirror:
Home >> Subaru >> 2009 >> Outback F4-2.5L SOHC >> Repair and Diagnosis >> Description and Operation >> Note

Note

NOTE

NOTE: This is the information that can improve the efficiency of maintenance and assure the sound work.

1. FASTENERS NOTICE
Fasteners are used to prevent the parts from damage, dislocation and play due to looseness. Fasteners must be tightened to the specified torque.
Do not apply paint, lubricant, rust retardant or other substance to the surface around bolts, nuts, etc. Doing so will make it difficult to obtain the correct torque and result in looseness and other problem.

2. STATIC ELECTRICITY DAMAGE
Do not touch the control modules, connectors, logic boards and other such parts when there is a possibility of static electricity. Always use a static electricity prevention cord or touch grounded metal for the elimination of static electricity before conducting work.

3. BATTERY
When removing the battery terminal, always be sure to turn the ignition switch to OFF to prevent electrical damage of the control module from over-current. Be sure to remove the battery ground cable first.

4. SERVICE PARTS
Use genuine parts for maximum performance and maintenance when conducting repairs. Subaru/FHI will not be responsible for poor performance resulting from the use of parts except for genuine parts.

5. PROTECTING VEHICLE UNDER MAINTENANCE
Make sure to attach the fender cover, seat covers, etc. before work.

6. ENSURING SECURITY DURING WORK
When working in a group of two or more, perform the work with calling each other to ensure mutual safety.

7. LIFT AND JACK
When using a lift or shop jack raise a vehicle or using rigid rack to support a vehicle, always follow instructions concerning jack-up points and weight limits to prevent the vehicle from falling, which could result in injury. Be especially careful that the vehicle is balanced before raising it. Be sure to set the wheel stoppers when jacking-up only the front or rear side of the vehicle.

NOTE:
- When using a lift, follow its operation manual before work.
- Do not work or leave unattended while the vehicle is supported with jack, support it with rigid racks.
- Be sure to use the rigid racks with rubber attached to cradle to support the vehicle.
- When using a plate lift, use a rubber attachment.






- Align the cushion rubber end of plate lift with the end of rubber attachment. (Portion b) Also, align the protrusion portion of the supporting locations with the end of attachment. (Portion a)
- Do not use the plate lift whose attachment does not reach the supporting locations.









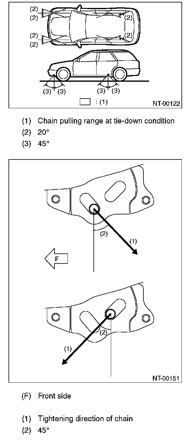
8. TIE-DOWNS
Tie-downs are used when transporting vehicles and when using the chassis dynamo. Attach tie-down only to the specified locations on the vehicle.

- TIE-DOWN LOCATION

CAUTION: Use the T-hook for rear tie-down. Do not use the hook other than T-hook, otherwise it can be removed when transporting vehicles.






- CHAIN DIRECTION AT TIE-DOWN CONDITION

NOTE: Pull the chains LH and RH in the same direction, but front and rear side in the counter direction. Pull all the chains in a same moment.






- CHAIN PULLING RANGE AT TIE-DOWN CONDITION






- VEHICLE SINKING VOLUME AT TIE-DOWN CONDITION
Measure the distance between the highest tire point and highest arch point before and after tie-down. Difference of measured values (sinking volume) should be within 50 mm (1.97 in) and make sure to fix the vehicle securely.






9. TOWING
Avoid towing vehicles except when the vehicle cannot be driven. For models with AWD, AT or VTD, use a loader instead of towing. When towing other vehicles, pay attention to the following to prevent hook or vehicle damage resulting from excessive weight.
- Do not tow other vehicles with a front tie-down hook.
- Make sure the vehicle towing is heavier than the vehicle being towed.
- Front
Remove the fog light cover (except for OUTBACK model) and hook cover, and then install the hook.






- Rear






- Notes






CAUTION:
- Check ATF, gear oil and rear differential oil before driving.
- Place the shift lever in "N" position during towing.
- Do not lift up the rear wheels to avoid unsteady rotation.
- Turn the ignition key to "ACC", then check the steering wheel moves freely.
- Release the parking brake to avoid tire dragging.
- Since the power steering does not work, be careful for the heavy steering effort. (When engine is stopped)
- Since the servo brake does not work, be careful that the brake is not applied effectively. (When engine is stopped)
- In case of the malfunction of internal transmission or drive system, lift up four wheels (on a trailer) for towing.


10. FRONT HOOD STAY INSTALLATION
- At the check and general maintenance






- When wider hood opening is necessary
Set the stay into the hole of lower hood as shown in the figure below.






11. GENERAL SCAN TOOL
Using general scan tools will greatly improve the efficiency of repairing engine electronic throttle controls. Subaru Select Monitor can be used to diagnose the engine, VDC, air conditioner and other parts.

12. AWD CIRCUIT MEASURES
1. Full-time AWD MT model
Since viscous coupling (limited slip differential) is used in the center differential, cut-off of AWD circuit cannot be carried out.

2. Full-time AWD 5AT model
Since VTD type is used in the center differential, cut-off of AWD circuit cannot be carried out.

3. Full-time AWD 4AT model
Insert a spare fuse into FWD fuse holder in the fuse box located in the left side of engine room to select the FWD. Since electronically controlled MT-P hydraulic multi-plate clutch is adapted for center differential, select FWD. When maintenance is performed with jack-up or on the free roller, check the illumination of AWD warning light in the combination meter.






13. SPEEDOMETER TEST
1. Rear wheel free roller system
1. Set the free roller on the floor of rear wheel side securely according to the wheel base and rear tread of the vehicle.
2. Let the vehicle ride on the tester and free roller gently.

CAUTION: Fix the vehicle using a pulling metal (chain or wire) to the front and rear towing hooks or tie-down hook to prevent the lateral runout of front wheels and springing out of vehicle.






3. Set the speedometer tester.
4. Conduct the speedometer test work.

CAUTION: Do not operate the clutch quickly and do not accelerate or decelerate suddenly during work.

2. Rear wheel jack-up system
1. Set the vehicle on speedometer tester.

CAUTION: Fix the vehicle using a pulling metal (chain or wire) to the front and rear towing hooks or tie-down hook to prevent the lateral runout of front wheels and springing out of vehicle.

2. Jack up the rear wheels and set the rigid racks to the specified locations of side sill.






3. Conduct the speedometer test work.

CAUTION: Do not operate the clutch quickly and do not accelerate or decelerate suddenly during work.

14. BRAKE TEST
1. Full-time AWD MT model
1. Perform this test after driving the vehicle 2 to 3 km (1.24 to 1.86 miles) on road in order to stabilize the viscous torque of viscous coupling.
2. Keep the front or rear wheels on the ground for this test.

NOTE: Effect of the viscous torque on braking force will be added approx. 25 kg compared with FWD model.






3. When the brake dragging force is large.
- Check the dragging of brake pad or brake shoe.
- Since it may be affected by the viscosity of viscous coupling, jack up either of the front or rear two wheels to check the each wheel rotation condition with the viscous coupling affection removed.

2. Full-time AWD AT model
1. Keep the front or rear wheels on the ground during measurement.






2. When the brake dragging force is large.
- Check the dragging of brake pad or brake shoe.






- When measurement is difficult to carry out because both of front wheels are locked, brake force measurement in this condition conforms to standard grand total.

15. 0N THE CAR WHEEL BALANCING

CAUTION:
- Carry out this procedures after measuring the balance of each single tire.
- Set the vehicle so that the front and rear wheels are the same height.
- Release the parking brake during measurement.
- Rotate each wheel by hands, and make sure it rotates without dragging.
- Do not operate the clutch quickly and do not accelerate or decelerate suddenly during work.
- When an error is indicated during engine drive, do not use the motor drive together.


1. Set the rigid rack to the specified locations of side sill, jack up the front or rear two wheels of non-measuring side and set the pickup stands to two wheels of measuring side.






2. For drive wheel, drive the tires with engine for measurement.
3. For non-drive wheel, drive the tires from the on the car wheel balancer for measurement.