lemon-mirror:
Home >> Subaru >> 2009 >> Outback F4-2.5L SOHC >> Repair and Diagnosis >> Accessories and Optional Equipment >> Navigation System >> Navigation Module >> Service and Repair

Navigation Module: Service and Repair

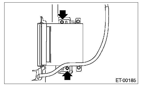
Navigation Body

REMOVAL

1. Disconnect the ground cable from the battery.
2. Slide the driver's seat to the forward position.
3. Disconnect the connector.
4. Remove the bolts and then remove the navigation unit.






INSTALLATION

Install in the reverse order of removal.

Tightening torque: 8 N.m (0.82 kgf.m, 5.9 ft.lb)