lemon-mirror:
Home >> Subaru >> 2009 >> Forester F4-2.5L DOHC Turbo >> Repair and Diagnosis >> Diagrams >> Exploded Views >> Engine >> Intake Manifold

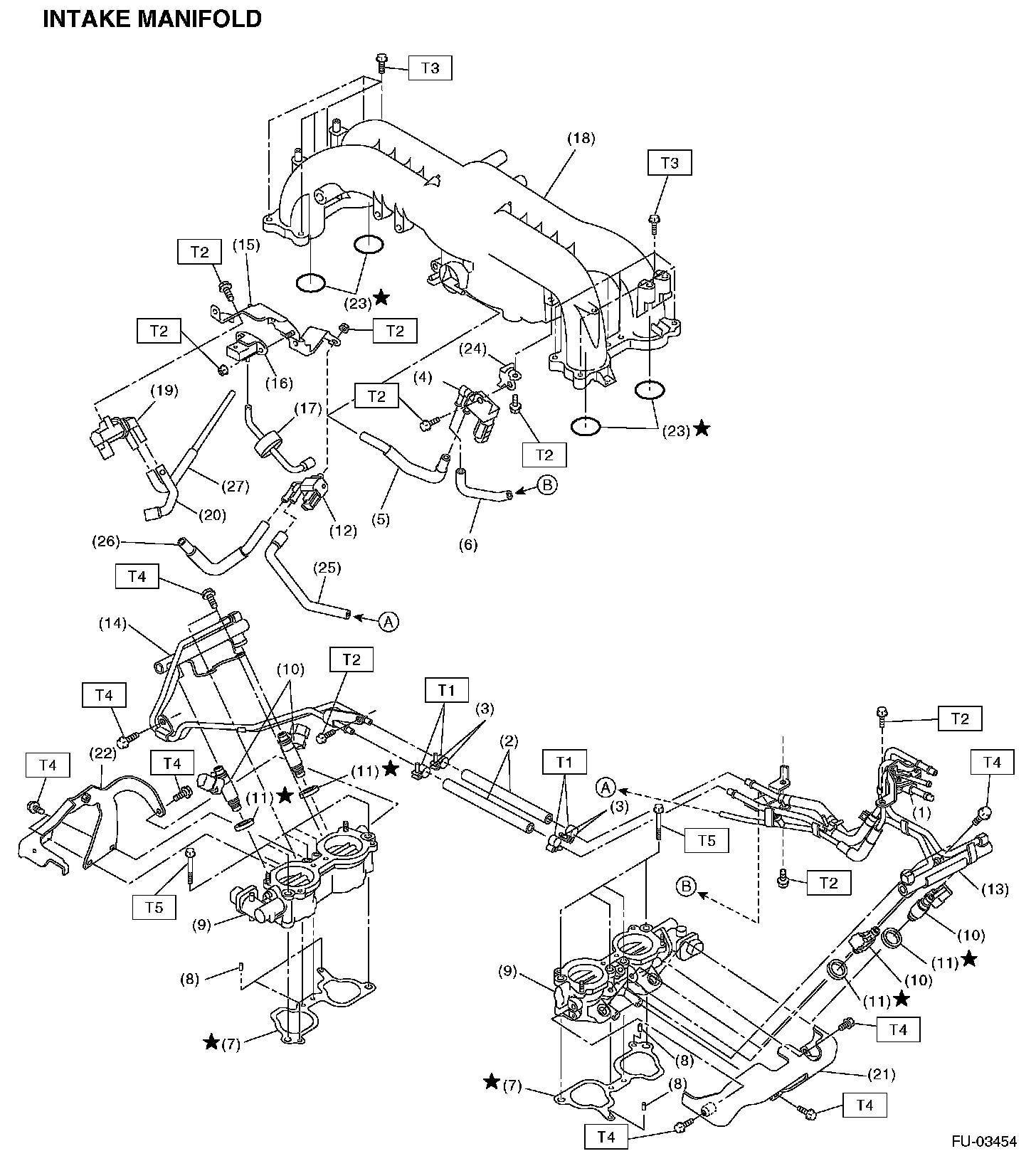
Intake Manifold

Intake Manifold (Part 1):



Intake Manifold (Part 2):



Intake Duct: