lemon-mirror:
Home >> Subaru >> 2008 >> Tribeca F6-3.6L DOHC >> Repair and Diagnosis >> Specifications >> Mechanical Specifications >> Engine >> System Specifications >> Torque Specifications

Torque Specifications

Cylinder Head

Cylinder Head Bolts
Tighten bolts 20 N-m (2.0 kgf-m, 14.8 ft-lb)
Tighten bolts 50 N-m (5.1 kgf-m, 36.9 ft-lb)
Loosen bolts (reverse order) 180°
Tighten bolts 20 N-m (2.0 kgf-m, 14.8 ft-lb)
Tighten bolts (1) - (4) 48 N-m (4.9 kgf-m, 35.4 ft-lb)
Tighten bolts (5) - (8) (4.5 kgf-m, 32.5 ft-lb)
Tighten all bolts 90°
Tighten bolts (1) - (4) 45°





Camshaft caps
(1) - (12) 16 N-m (1.6 kgf-m, 12 ft-lb)
(13) - (16) 9.75 N-m (1.0 kgf-m, 7.2 ft-lb)





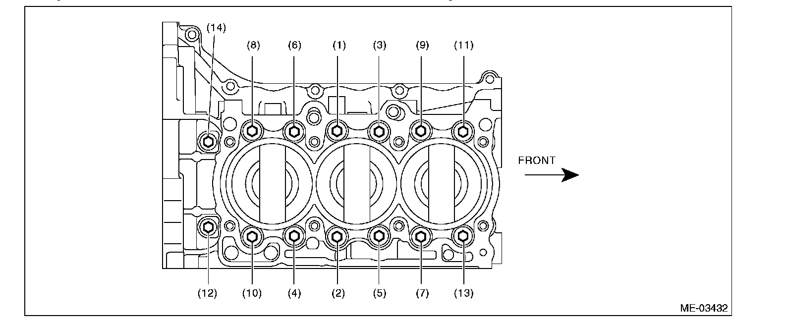
Cylinder Block Bolts
Tighten all bolts in the numerical order as shown in the figure.
Tightening torque 12 N-m (1.2 kgf-m, 8.9 ft-lb)





Retighten all bolts 18 N-m (1.8 kgf-m, 13.3 ft-lb)





Tighten all bolts 90°





Install the upper bolt
Tightening torque 25 N-m (2.5 kgf-m, 18 ft-lb)





Connecting Rod Cap Bolts 60 N-m (6.1 kgf-m, 44.3 ft-lb)

Crank Pulley Bolt 195 N-m (19.9 kgf-m, 143.8 ft-lb)

Drive Plate 90 N-m (9.2 kgf-m, 66.4 ft-lb)

Oil pump 13 N-m (1.3 kgf-m, 9.6 ft-lb)

Water Pump 6.4 N-m (0.65 kgf-m, 4.7 ft-lb)