lemon-mirror:
Home >> Subaru >> 2008 >> Forester F4-2.5L SOHC >> Repair and Diagnosis >> Specifications >> Mechanical Specifications >> Engine >> System Specifications >> Tightening Torques

Tightening Torques

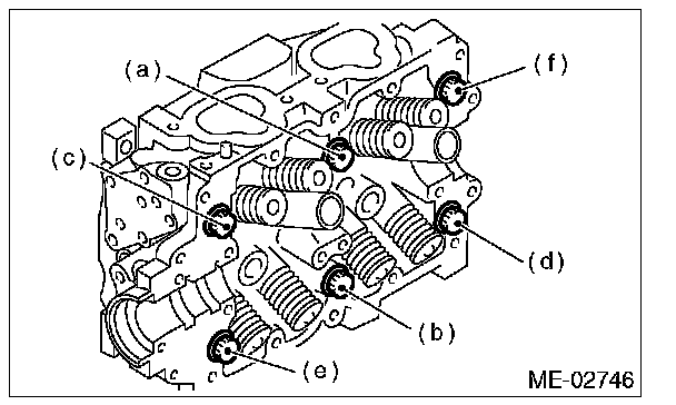
Cylinder head
Cylinder head bolts
Tighten all bolts to 29 N-m (3.0 kgf-m, 21.4 ft-lb) in alphabetical sequence.
Tighten all bolts to 69 N-m (7.0 kgf-m, 50.9 ft-lb) in alphabetical sequence.
Loosen all the bolts by 180° in the reverse order of installing, and loosen them further by 180°.
Tighten all bolts to 42 N-m (4.3 kgf-m, 31.0 ft-lb) in alphabetical sequence.
Tighten all bolts by 80 to 90° in alphabetical sequence.
Tighten all bolts by 40 to 45° in alphabetical sequence.
Further tighten the bolts (a) and (b) by 40 - 45°





Camshaft Cap
Temporarily tighten the bolts (a) through (d) in alphabetical sequence





Bolts (a) through (j) in alphabetical sequence 9.75 N-m (1.0 kgf-m, 7.2 ft-lb)





Bolts (k) through (r) in alphabetical sequence 9.75 N-m (1.0 kgf-m, 7.2 ft-lb)





Bolts (s) and (t) in alphabetical sequence 9.75 N-m (1.0 kgf-m, 7.2 ft-lb)





Connecting rod nuts 45 N-m (4.6 kgf-m, 33.2 ft-lb)

Cylinder block connecting bolts
LH side (A - D) in alphabetical order 10 N-m (1.0 kgf-m, 7.2 ft-lb)





RH side (E - J) in alphabetical order 10 N-m (1.0 kgf-m, 7.2 ft-lb)





LH side (A - D) in alphabetical sequence 18 N-m (1.8 kgf-m, 13.3 ft-lb)





RH side (E - J) in alphabetical sequence 18 N-m (1.8 kgf-m, 13.3 ft-lb)





LH side (A - D) in alphabetical sequence.
(A), (C) 90°
(B), (D) 40 N-m (4.1 kgf-m, 29.6 ft-lb)





RH side (E - J) in alphabetical sequence 90°





LH side (A - H) in alphabetical sequence.
(A) - (G) 25 N-m (2.5 kgf-m, 18.4 ft-lb)
(H) 6.4 N-m (0.65 kgf-m, 4.7 ft-lb)





Crank pulley bolt 180 N-m (18.4 kgf-m, 132.8 ft-lb)

Oil pump 6.4 N-m (0.65 kgf-m, 4.7 ft-lb)

Water pump
First 12 N-m (1.2 kgf-m, 8.9 ft-lb)
Second 12 N-m (1.2 kgf-m, 8.9 ft-lb)

Flywheel/Flex Plate 72 N-m (7.3 kgf-m, 53.1 ft-lb)