lemon-mirror:
Home >> Subaru >> 2008 >> Forester F4-2.5L DOHC Turbo >> Repair and Diagnosis >> Powertrain Management >> Computers and Control Systems >> Service Precautions

Computers and Control Systems: Service Precautions

CAUTION

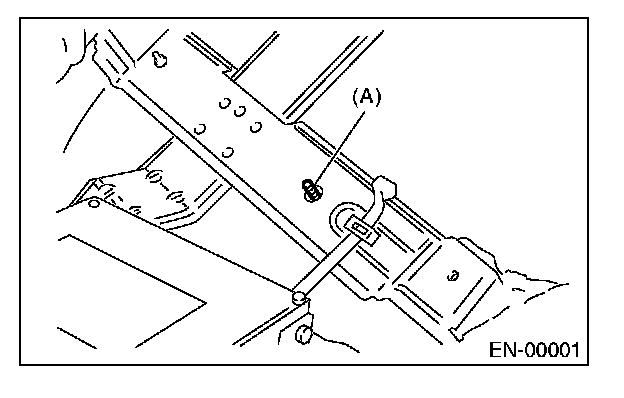
1. Airbag system wiring harness is routed near the ECM, main relay and fuel pump relay.

CAUTION:
- All airbag system wiring harness and connectors are all colored yellow. Do not use the electrical test equipment on these circuits.
- Be careful not to damage the airbag system wiring harness when servicing the ECM, TCM, main relay and fuel pump relay.


2. Never connect the battery in reverse polarity. Failure to do so will damage the ECM instantly, and the fuel injector and other parts will also be damaged.
3. Do not disconnect the battery terminals while the engine is running. A large counter electromotive force will be generated in the generator, and this voltage may damage electronic parts such as ECM etc.
4. Before disconnecting the connectors of each sensor and ECM, be sure to turn the ignition switch to OFF. Perform the Clear Memory Mode after connecting the connectors. Reading and Clearing Diagnostic Trouble Codes
5. Measure the voltage or resistance of individual sensor or all electrical control modules using a tapered pin with a diameter of less than 0.6 mm (0.024 in). Do not insert the pin 4 mm (0.16 in) or more into the part.

CAUTION: When replacing the ECM, be careful not to use the wrong spec. ECM to avoid damaging the fuel injection system.

6. Take care not to allow water to get into the connectors when servicing or washing the vehicle in rainy weather. Avoid exposure to water even if the connectors are waterproof.
7. Use ECM mounting stud bolts at the body side grounding point when measuring voltage and resistance inside the passenger compartment.






8. Use the engine ground terminal or engine assembly as the grounding point to the body when measuring the voltage and resistance in engine compartment.






9. Every MFI-related part is a precision part. Do not drop them.
10. Observe the following cautions when installing a radio in MFI equipped models.

CAUTION:
- The antenna must be kept as far apart as possible from control unit. (The ECM is located under the passenger's seat floor mat.)
- The antenna feeder must be placed as far apart as possible from the ECM and MFI harness.
- Carefully adjust the antenna for correct matching.
- When mounting a large power type radio, pay special attention to the three items above mentioned.
- Incorrect installation of the radio may affect the operation of ECM.


11. When disconnecting the fuel hose, release the fuel pressure.
12. For the model with ABS, the ABS warning light may illuminate when performing driving test with jacked-up or lifted-up condition, but this is not a system malfunction. The reason for this is the speed difference between the front and rear wheels. After diagnosis of engine control system, perform the ABS memory clear procedure of self-diagnosis function.