lemon-mirror:
Home >> Subaru >> 2007 >> Outback F6-3.0L DOHC >> Repair and Diagnosis >> Specifications >> Mechanical Specifications >> Engine >> Timing Components >> System Specifications

System Specifications

Timing Chain Tensioner Bolts 16 N-m (1.6 kgf-m, 12 ft. lbs.)

Crank Pulley Bolt 178 N-m (18.1 kgf-m, 131 ft. lbs.)

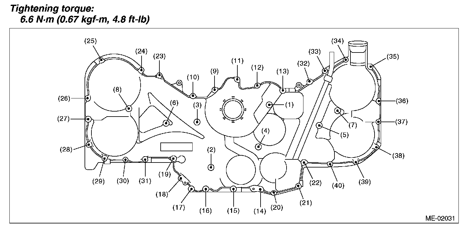
Front Chain Cover Bolts 6.6 N-m (0.67 kgf-m, 4.8 ft. lbs.)

Tightening torque:





Rear Chain Cover Bolts
Bolts 1-11 9 N-m (0.9 kgf-m, 6.5 ft. lbs.)
Bolts 12-19 20 N-m (2.0 kgf-m, 14 ft. lbs.)
Bolts 20-30 9 N-m (0.9 kgf-m, 6.5 ft. lbs.)
Bolts 31-38 12 N-m (1.2 kgf-m, 8.7 ft. lbs.)
Bolts 39-45 9 N-m (0.9 kgf-m, 6.5 ft. lbs.)




Tightening torque: