lemon-mirror:
Home >> Subaru >> 2007 >> Outback F4-2.5L SOHC >> Repair and Diagnosis >> Heating and Air Conditioning >> System Relay >> Testing and Inspection

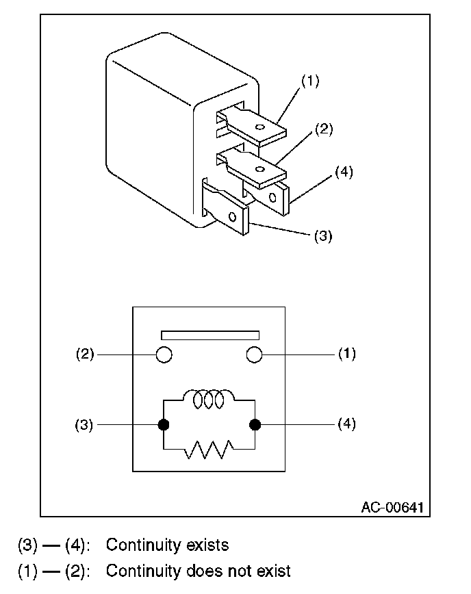
System Relay: Testing and Inspection

INSPECTION






While applying battery voltage to the terminal between (3) and (4), check continuity between (1) and (2). If no continuity exists, replace the relay with a new part.