lemon-mirror:
Home >> Subaru >> 2007 >> Outback F4-2.5L DOHC Turbo >> Repair and Diagnosis >> Specifications >> Mechanical Specifications >> Engine >> Cylinder Block Assembly >> System Specifications

System Specifications

CYLINDER BLOCK

Measurements should be performed at a temperature of 20°C (68°F).

Cylinder head surface
Warping limit 0.025 mm (0.00098 inch)
Grinding limit 0.1 mm (0.004 inch)
Cylinder block height, standard 201.0 mm (7.91 inch)
Cylinder bore stamped on front upper face of cylinder block





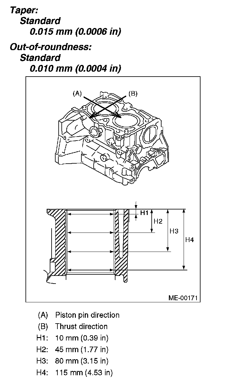
Cylinder Inner Diameter Measurement
Taper, standard 0.015 mm (0.0006 inch)
Out-of-roundness, standard 0.010 mm (0.0004 inch)
Cylinder inner diameter boring limit (diameter) 100.015 mm (3.9376 inch)





PISTON AND PISTON PIN
Piston grade point H 38.2 mm (1.50 inch)
Standard diameter
A 99.505 - 99.515 mm (3.9175 - 3.9179 inch)
B 99.495 - 99.505 mm (3.9171 - 3.9175 inch)
0.25 mm (0.0098 inch) oversize 99.745 - 99.765 mm (3.9270 - 3.9278 inch)
0.50 mm (0.0197 inch) oversize 99.995 - 100.015 mm (3.9368 - 3.9376 inch)
Cylinder to piston clearance, standard -0.010 - 0.010 mm (-0.00039 - 0.00039 inch)
Clearance between pin & pin hole, standard 0.004 - 0.008 mm (0.0002 - 0.0003 inch)

PISTON RING
Piston ring gap, standard
Top ring 0.20 - 0.25 mm (0.0079 - 0.0098 inch)
Second ring 0.37 - 0.52 mm (0.015 - 0.020 inch)
Oil ring rail 0.20 - 0.50 mm (0.0079 - 0.0197 inch)
Clearance between ring & ring groove
Top ring 0.040 - 0.080 mm (0.0016 - 0.0031 inch)
Second ring 0.030 - 0.070 mm (0.0012 - 0.0028 inch)

Piston grade point H:





CONNECTING ROD
Limit of bend or twist per 100 mm (3.94 inch) in length 0.10 mm (0.0039 inch)
Thrust clearance, standard 0.070 - 0.330 mm (0.0028 - 0.0130 inch)
Oil clearance, standard 0.017 - 0.045 mm (0.0007 - 0.0018 inch)
Clearance between piston pin & bushing, standard 0 - 0.022 mm (0 - 0.0009 inch)

CONNECTING ROD BEARINGS

Connecting rod oil clearance:





CRANKSHAFT AND CRANKSHAFT BEARING
Crankshaft bend limit 0.035 mm (0.0014 inch)
Crank pin
Out-of-roundness 0.003 mm (0.0001 inch)
Cylindricality 0.004 mm (0.0002 inch)
Grinding limit (dia.) To 51.750 mm (2.0374 inch)
Crank journal
Out-of-roundness 0.005 mm (0.0002 inch)
Cylindricality 0.006 mm (0.0002 inch)
Grinding limit (dia.) To 59.758 mm (2.3527 inch)
Crankshaft thrust clearance, standard 0.030 - 0.115 mm (0.0012 - 0.0045 inch)
Crankshaft oil clearance, standard 0.010 - 0.030 mm (0.0004 - 0.0012 inch)

CRANKSHAFT AND CRANKSHAFT BEARING:





LH Cylinder Block To RH Cylinder Block Bolts
For cylinder block tightening specifications and sequence, please refer to Overhaul. Service and Repair

Crankshaft Pulley Bolt
For crankshaft pulley bolt tightening specifications and sequence, please refer to Overhaul. Service and Repair