lemon-mirror:
Home >> Subaru >> 2007 >> Forester F4-2.5L SOHC >> Repair and Diagnosis >> Maintenance >> Timing Component Alignment Marks >> Locations

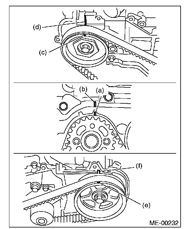
Timing Component Alignment Marks: Locations