lemon-mirror:
Home >> Subaru >> 2006 >> Outback F6-3.0L DOHC >> Repair and Diagnosis >> Powertrain Management >> Ignition System >> Description and Operation >> Ignition Control System

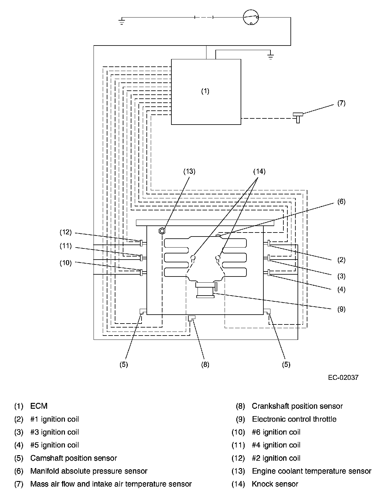
Ignition Control System

Ignition Control System




- The ignition system is controlled by the ECM.
The ECM monitors the operating condition of the engine using the signals from the sensors and switches shown below and determines the ignition timing most appropriate for each engine operating condition. Then it sends a signal to the igniter, commanding generation of a spark at that timing.
- The ECM uses a preprogrammed map for a "closed-loop" control which provides its ignition timing control with excellent transient characteristics, i.e., highly responsive ignition timing control.