lemon-mirror:
Home >> Subaru >> 2006 >> Baja F4-2.5L SOHC >> Repair and Diagnosis >> Heating and Air Conditioning >> Control Module HVAC >> Testing and Inspection

Control Module HVAC: Testing and Inspection

INSPECTION

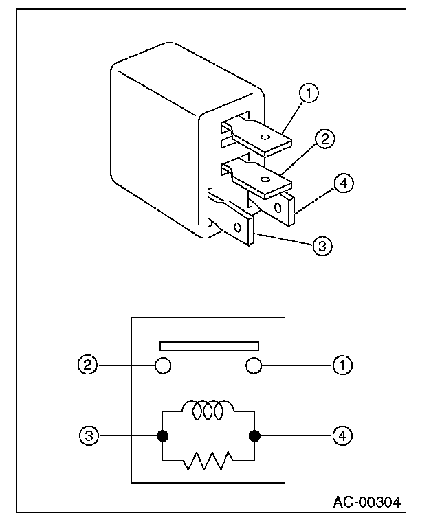
1. 4-TERMINAL TYPE




(3) - (4): Continuity exists.
(1) - (2): No continuity.

While applying battery voltage to the terminal between (3) and (4), check continuity between (1) and (2).
If no continuity exists, replace the relay with a new one.

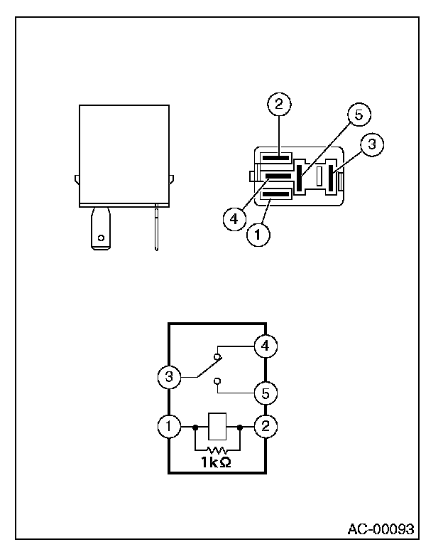
2. 5-TERMINAL TYPE




(1) - (2): Continuity exists.
(3) - (4): Continuity exists.
(3) - (5): No continuity.

While applying battery voltage to the terminal between (1) and (2), check continuity between (3) and (5).
If no continuity exists, replace the relay with a new one.