lemon-mirror:
Home >> Subaru >> 2005 >> Outback F6-3.0L >> Repair and Diagnosis >> Powertrain Management >> Emission Control Systems >> Catalytic Converter >> Locations

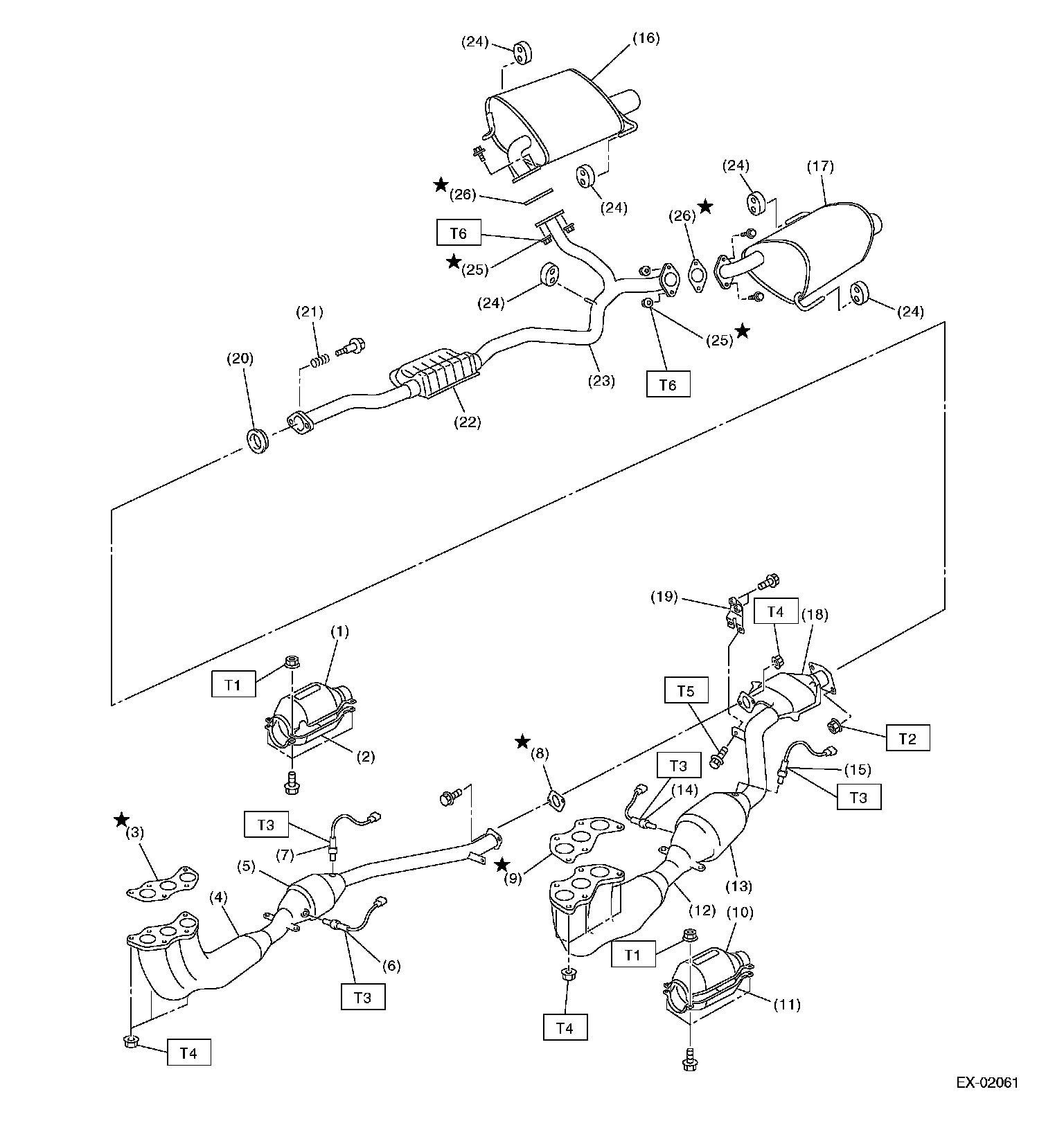
Catalytic Converter: Locations