lemon-mirror:
Home >> Subaru >> 2005 >> Outback F6-3.0L >> Repair and Diagnosis >> Maintenance >> Hoses >> Power Steering Line/Hose >> Service and Repair

Power Steering Line/Hose: Service and Repair

Pipe Assembly

REMOVAL
1. Disconnect the ground cable from battery.





2. Lift-up the vehicle, and then remove the front crossmember support plate and jack-up plate.





3. Remove one pipe joint at the center of gearbox, and connect the vinyl hose to the pipe and the joint. Discharge the fluid by turning steering wheel fully clockwise and counterclockwise. Discharge the fluid similarly from other pipes.





4. Remove the clamp E from return hose and pressure hose.





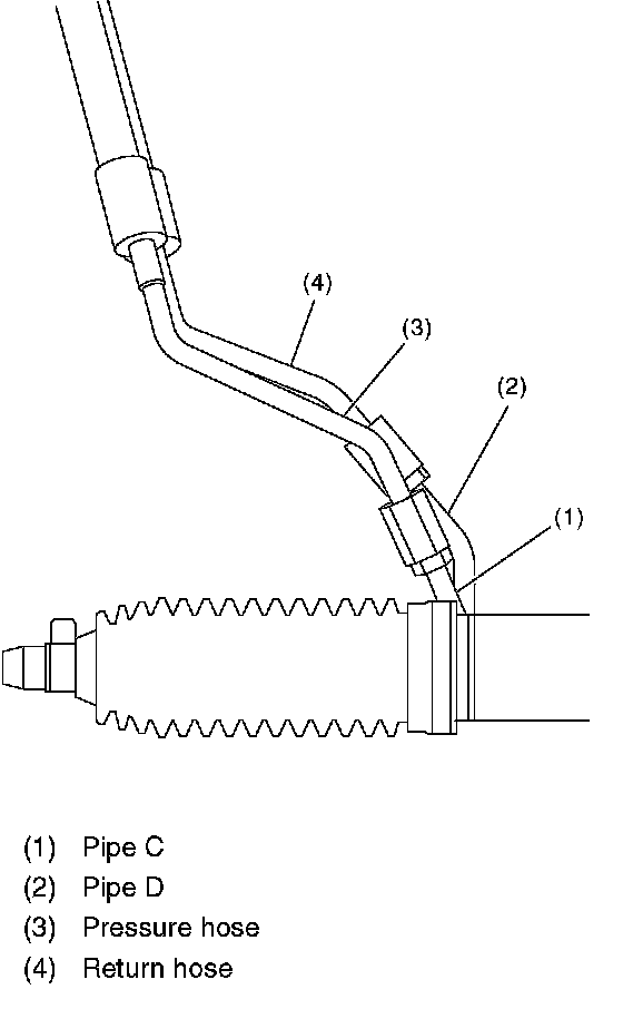
5. Disconnect the return hose and pipe D, pressure hose and pipe C.
6. Remove the air intake duct.





7. Disconnect the suction hose and pressure hose from oil pump.
8. Disconnect the suction hose and return hose from reservoir tank. Remove the oil cooler from oil cooler bracket.





^ H4 model





^ H6 model





9. Remove the hose bracket and take out the hose assembly from vehicle.

INSTALLATION





1. Temporarily tighten the bolt of hose bracket.





2. Install the resin clip to the pressure hose and suction hose.

CAUTION: Align the installation position of the resin clip with the protector edge of suction hose.

3. Connect the suction hose and return hose to reservoir tank. Install the oil cooler to oil cooler bracket.

CAUTION: Firmly insert the resin clip of return hose to the bracket.





^ H4 model





^ H6 model





4. Connect the suction hose and pressure hose to the oil pump. Tighten the eye bolt of pressure hose.
Tightening torque: 39 Nm (3.98 kgf-cm, 28.8 ft. lbs.)





5. Temporarily connect the pressure hose and pipe C, the return hose and D. Place the clamp E in the position shown in the figure, and tighten the bolt temporarily.
6. Tighten the clamp E.
Tightening torque: 7.4 Nm (0.75 kgf-cm, 5.4 ft. lbs.)
7. Tighten the pressure hose and pipe C, the return hose and pipe D.
Tightening torque: 15 Nm (1.5 kgf-cm, 10.8 ft. lbs.)





8. Connect the pipe A and B to the four pipe joints of gearbox.
Tightening torque: Refer to COMPONENT in General Description.
9. Install the front crossmember support plate and jack-up plate.
10. Lower the vehicle.





11. Tighten the bolts which hold the hose bracket.
Tightening torque: 10 Nm (1.02 kgf-cm, 7.4 ft. lbs.)
12. Install the air intake duct.
13. Connect the battery ground cable to battery.
14. Feed the specified fluid.

CAUTION: Never start the engine before feeding the fluid; otherwise vane pump might be seized up.

15. Finally, check clearance between pipes or hoses as shown in the figure indicated in General Diagnostic Table.

INSPECTION





Check all disassembled parts for wear, damage or other abnormalities. Repair or replace defective parts as necessary.





CAUTION:
Although surface layer materials of rubber hoses have excellent weathering resistance, heat resistance and resistance for low temperature brittleness, they are likely to be damaged chemically by brake fluid, battery electrolyte, engine oil and automatic transmission fluid and their service lives are to be very shortened. Wipe out immediately when the hoses are adhered with the fluids.

Since resistances for heat or low temperature brittleness are gradually declining according to time accumulation of hot or cold conditions for the hoses and their service lives are shortening accordingly, it is necessary to perform careful inspection frequently when the vehicle is used in hot weather areas, cold weather areas and a driving condition in which many steering operations are required in short time.

Particularly continuous work of relief valve over 5 seconds causes to reduce service lives of the hoses, the oil pump, the fluid, etc. due to over heat.








NOTE: It is likely that although one judges fluid leakage, there is actually no leakage. This is because the fluid spilt during the last maintenance was not completely wiped off. Be sure to wipe off spilt fluid thoroughly after maintenance.