lemon-mirror:
Home >> Subaru >> 2005 >> Outback F4-2.5L SOHC >> Repair and Diagnosis >> Powertrain Management >> Emission Control Systems >> Service and Repair

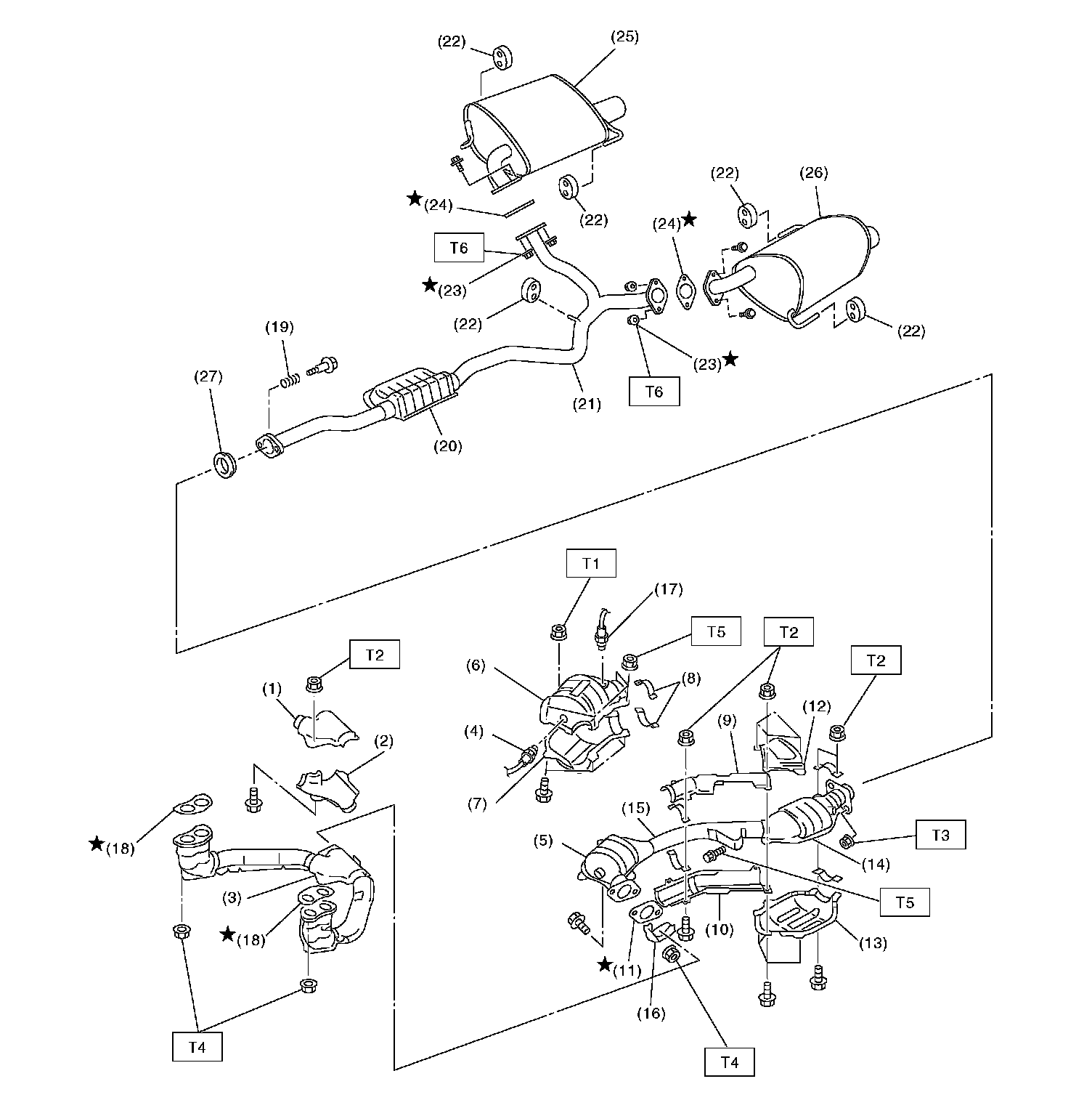
Emission Control Systems: Service and Repair