lemon-mirror:
Home >> Subaru >> 2004 >> Outback F6-3.0L >> Repair and Diagnosis >> Maintenance >> Hoses >> Power Steering Line/Hose >> Service and Repair

Power Steering Line/Hose: Service and Repair

Pipe Assembly
REMOVAL
1. Set the vehicle on the lift.
2. Disconnect battery ground cable.







3. Lift vehicle and remove jack-up plate.







4. Remove one pipe joint at the center of gearbox, and connect vinyl hose to pipe and joint. Discharge fluid by turning steering wheel fully clockwise and counterclockwise. Discharge fluid similarly from the other pipe.

CAUTION: Improper removal and installation of parts often causes fluid leak trouble. To prevent this, clean the surrounding portions before disassembly and reassembly, and pay special attention to keep dirt and other foreign matter from mating surfaces.







5. Remove clamp E from pipes.







6. Disconnect pipe C-D.
Disconnect pipe C-D from pipe (on the gearbox side).

CAUTION: When disconnecting pipe C-D, use two wrenches to prevent deformities.
Be careful to keep pipe connections free from foreign matter.


2.5L model
Disconnect pipe C from oil pump.
Disconnect pipe D from return hose.

CAUTION: Do not allow fluid from the hose end to come into contact with pulley belt.
To prevent foreign matter from entering the hose and pipe, cover the open ends of them with a clean cloth.


3.0L model:






Disconnect pressure hose from oil pump. Disconnect return hose from reservoir tank.

CAUTION: Do not allow fluid from the hose end to come into contact with pulley belt.
To prevent foreign matter from entering the hose and pipe, cover the open ends of them with a clean cloth.



INSTALLATION
1. Tighten bolt A.

CAUTION: Visually check that hose between tank and pipe D is free from bending or twisting.


3.0L model:






1. Connect pipe D or return hose to oil tank.
2. Connect pipe C or pressure hose to oil pump.

CAUTION: Use anew gasket.

Tightening torque:
39 Nm (4.0 kgf-cm, 28.9 ft. lbs.)

3. Tighten bolt A.

Tightening torque:
13 Nm (1.3 kgf-cm, 9.4 ft. lbs.)







2. Temporarily connect pipes C and D.







3. Temporarily install clamp E on pipes C and D, and tighten clamp E firmly.

CAUTION: Ensure that the letter "8" on each clamp are diagonally opposite each other as shown in figure.

4. Tighten joint nut.

Tightening torque:
15 Nm (1.5 kgf-cm, 10.8 ft. lbs.)







5. Connect pipe A and B. Connect pipes A and B to four pipe joints of gearbox. Connect upper pipe B first, and lower pipe A second.
6. Install jack-up plate.
7. Connect battery ground cable.







8. Feed the specified fluid.

NOTE: Never start the engine before feeding the fluid; otherwise vane pump might be seized up.

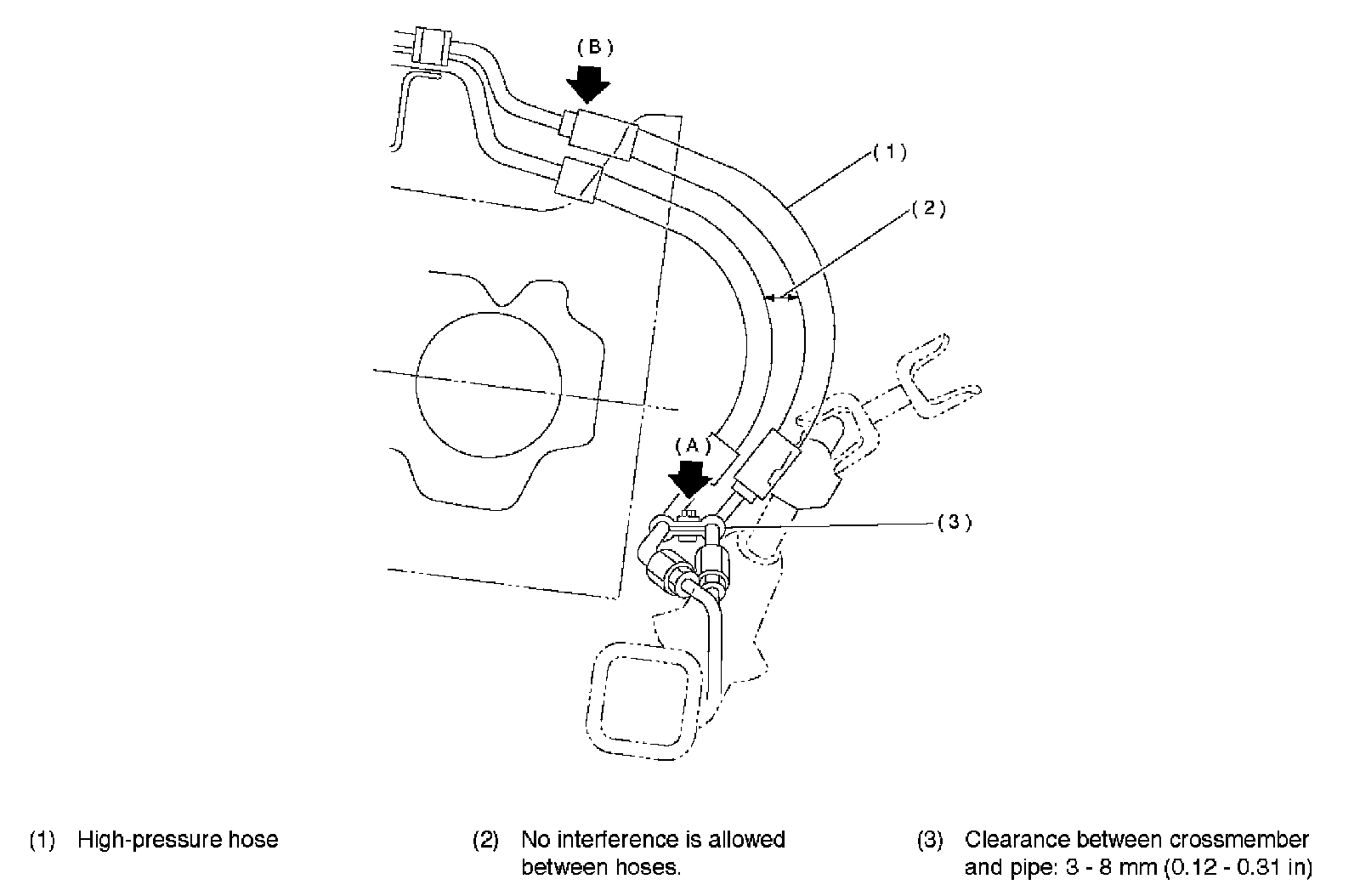
9. Finally check clearance between pipes and/or hoses, as shown above. If clearance between cruise control pump and power steering hose is less than 10 mm (0.39 inch), proceed as follows:
1. Move clamped section (A) down to a point where pipe is close to crossmember.

Pipe-to-crossmember clearance:
10 mm (0.39 inch), min.

2. Check that clearance between cruise control pump and power steering hose is at least 10 mm (0.39 inch). If it is not, bend section (B) down until a clearance of at least 10 mm (0.39 inch) is obtained.





INSPECTION







Check all disassembled parts for wear, damage or other abnormalities. Repair or replace faulty parts as required.







CAUTION: Although surface layer materials of rubber hoses have excellent weathering resistance, heat resistance and resistance for low temperature brittleness, they are likely to be damaged chemically by brake fluid, battery electrolyte, engine oil and automatic transmission fluid and their service lives are to be very shortened. It is very important to keep the hoses free from before mentioned fluids and to wipe out immediately when the hoses are adhered with the fluids.

Since resistances for heat or low temperature brittleness are gradually declining according to time accumulation of hot or cold conditions for the hoses and their service lives are shortening accordingly, it is necessary to perform careful inspection frequently when the vehicle is used in hot weather areas, cold weather area and/or a driving condition in which many steering operations are required in short time.

Particularly continuous work of relief valve over 5 seconds causes to reduce service lives of the hoses, the oil pump, the fluid, etc. due to over heat.

So, avoid to keep this kind of condition when servicing as well as driving.











CAUTION: It is likely that although one judges fluid leakage, there is actually no leakage. This is because the fluid split during the last maintenance was not completely wiped off. Be sure to wipe off split fluid thoroughly after maintenance.

NOTE: Fluid level is specified at optimum position (range) for ordinary use. Accordingly, if the vehicle is used often under hard conditions such as on very rough roads or in mountainous areas, fluid may bleed out from cap air vent hole. This is not a problem. If a customer complains strongly and is not likely to be satisfied with the leakage, lower the fluid level to the extent that fluid will not bleed out under the conditions described, and have the customer check the fluid level and its quality more frequency than usual.