lemon-mirror:
Home >> Subaru >> 2004 >> Forester F4-2.5L DOHC Turbo >> Repair and Diagnosis >> Transmission and Drivetrain >> Automatic Transmission/Transaxle >> Control Module >> Locations

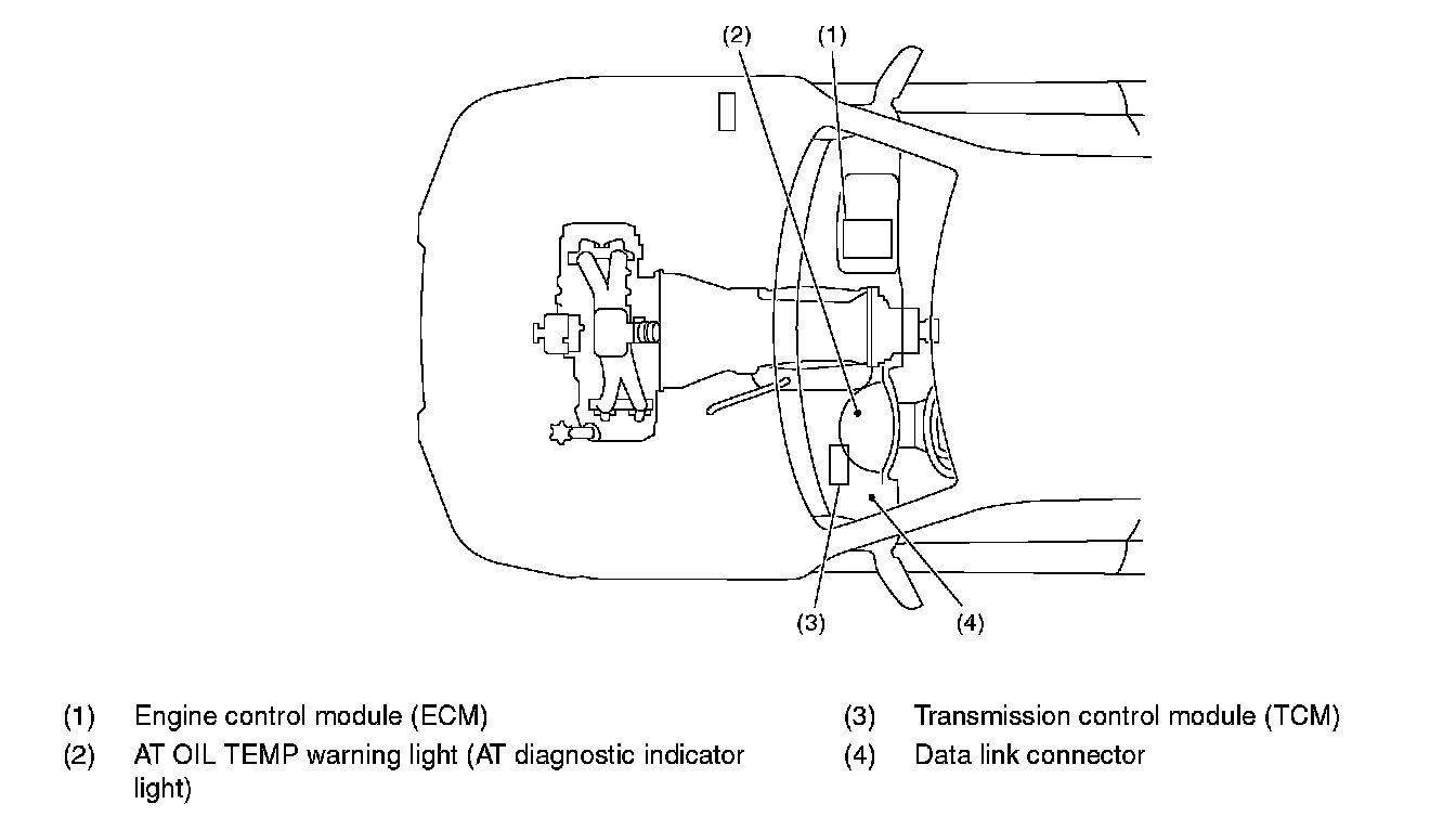
Control Module: Locations