lemon-mirror:
Home >> Subaru >> 2004 >> Forester F4-2.5L DOHC Turbo >> Repair and Diagnosis >> Diagrams >> Exploded Views >> Radiator

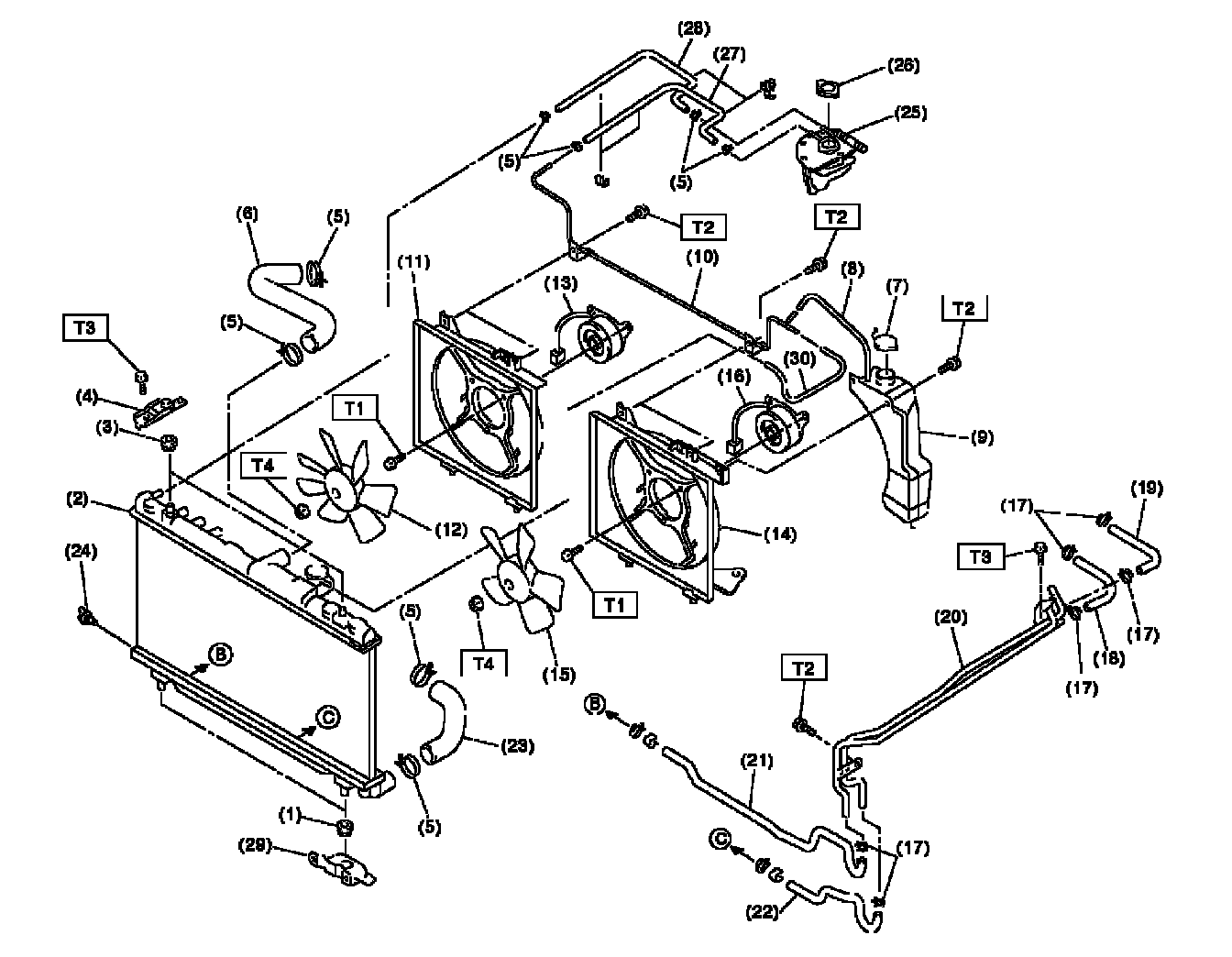
Radiator

Part 1:



Part 2: