lemon-mirror:
Home >> Subaru >> 2003 >> Outback F6-3.0L >> Repair and Diagnosis >> Starting and Charging >> Starting System >> Starter Motor >> Testing and Inspection

Starter Motor: Testing and Inspection

INSPECTION

ARMATURE

1. Check commutator for any sign of burns of rough surfaces or stepped wear. If wear is of a minor nature, correct it by using sand paper.




2. Run-out test
Check the commutator run-out and replace if it exceeds the limit.

Commutator run-out:
Standard 0.02 mm (0.0008 in), or less

Service limit
Less than 0.05 mm (0.0020 in)




3. Depth of segment mold
Check the depth of segment mold.

Depth of segment mold: 0.6 mm (0.024 in)
Limit 0.2 mm (0.008 in)




4. Armature short-circuit test Check armature for short-circuit by placing it on growler tester. Hold a iron sheet against armature core while slowly rotating armature. A short-circuited armature will cause the iron sheet to vibrate and to be attracted to core. If the iron sheet is attracted or vibrates, the armature, which is short-circuited, must be replaced or repaired.




5. Armature ground test
Using circuit tester, touch one probe to the commutator segment and the other to shaft. There should be no continuity. If there is a continuity, armature is grounded. Replace armature if it is grounded.

YOKE
Make sure pole is set in position.

OVERRUNNING CLUTCH




Inspect teeth of pinion for wear and damage. Replace if it is damaged. Rotate pinion in correct direction of rotation (counterclockwise). It should rotate smoothly. But in opposite direction, it should be locked.

CAUTION: Do not clean overrunning clutch with oil to prevent grease from flowing out.

BRUSH AND BRUSH HOLDER




1. Brush length
Measure the brush length and replace if it exceeds the service limit.
Replace if abnormal wear or cracks are noticed.

Brush length:
Standard 15 mm (0.59 in)

Service limit 10 mm (0.39 in)

2. Brush movement
Be sure brush moves smoothly inside brush holder.




3. Insulation resistance of brush holder
Be sure there is no continuity between brush holder and its plate.
4. Brush spring force
Measure brush spring force with a spring scale. If it is less than the service limit, replace brush spring.

Brush spring force:
Standard 18.6 N (1.9 kgf, 4.2 lb) (when new)

Service limit 6.9 N (0.7 kgf, 1.5 lb)

BEARING

1. Rotate bearing by hand; no binding should exist.




2. Rotate bearing rapidly; no abnormal noise should be heard.

MAGNETIC SWITCH

CAUTION:
- The following magnetic switch tests should be performed with specified voltage applied.
- Each test should be conducted within 3 to 5 seconds. Power to be furnished should be one-half the rated voltage.




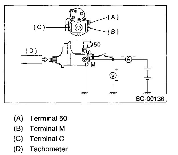
1. Pull-in test
Connect two battery negative leads onto magnetic switch body and terminal C respectively. Then connect battery positive lead onto terminal 50. Pinion should extend when lead connections are made.




2. Holding-in test
Disconnect lead from terminal C with pinion extended. Pinion should be held in the extended position.




3. Return test
Connect two battery negative leads onto terminal 50 and onto switch body respectively. Then connect battery positive lead onto terminal C. Next, disconnect lead from terminal 50. Pinion should return immediately.

PERFORMANCE TEST

The starter is required to produce a large torque and high rotating speed, but these starter characteristics vary with the capacity of the battery. It is therefore important to use a battery with the specified capacity whenever testing the starter.
The starter should be checked for the following three items:

- No-load test
Measure the maximum rotating speed and current under a no-load state.

- Load test
Measure the magnitude of current needed to generate the specified torque and rotating speed.

- Stall test
Measure the torque and current when the armature is locked.




1. No-load test
Under no-load state, measure its rotating speed and current, using the specified battery. Measured values must meet the following standards:

No-load test (Standard):
Voltage/Current 11 V / 90 A, or more

Rotating speed 228000-7141 2900 rpm, or more




2. Load test (For reference)
Perform this test to check maximum output of starter. Use test bench which is able to apply load (brake) to starter. Measure torque value and rotating speed under the specified voltage and current conditions while controlling braking force applied to starter.

CAUTION: Change engagement position of overrunning clutch and make sure it is not slipping.

Load test (Standard): 228000-7141
Voltage/Load 8 V / 13.7 N.m (1.4 kgf-m, 10.1 ft-lb)
Current/Speed 370 A, or less / 880 rpm, or more




3. Stall test
Using the same test equipment used for load test, apply brake to lock starter armature. Then measure voltage, current, and torque values. Measured values must meet the following standard.

Stall test (Standard): 228000-7141
Voltage/Current 5 V / 1,050 A, or less
Torque 27.5 N.m (2.8 kgf-m, 20.3 ft-lb) or more.

NOTE: Low rotating speed or excessive current during no-load test may be attributable to high rotating resistance of starter due to improper assembling. Small current and no torque during stall test may be attributable to excessive contact resistance between brush and commutator; whereas, normal current and insufficient torque may be attributable to shorted commutator or poor insulation. Starter can be considered normal if it passes no-load and stall tests; therefore, load test may be omitted.