lemon-mirror:
Home >> Subaru >> 2003 >> Outback F6-3.0L >> Repair and Diagnosis >> Powertrain Management >> Computers and Control Systems >> Oxygen Sensor >> Service and Repair >> Front Oxygen Sensor

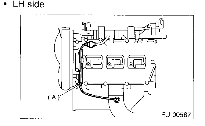
Front Oxygen Sensor

REMOVAL




1. Disconnect battery ground cable.




2. Disconnect connector from front oxygen (A/F) sensor.
3. Lift-up the vehicle.
4. Remove under cover.







5. Separate harness from clip (A).
6. Apply SUBARU CRC or its equivalent to threaded portion of front oxygen (A/F) sensor, and leave it for one minute or more.

SUBARU CRC (Part No. 004301003)







7. Remove front oxygen (A/F) sensor.

CAUTION: When removing front oxygen (A/F) sensor, do not force front oxygen (A/F) sensor especially when exhaust pipe is cold, otherwise it will damage exhaust pipe.

INSTALLATION

1. Before installing front oxygen (A/F) sensor, apply anti-seize compound only to threaded portion of front oxygen (A/F) sensor to make the next removal easier.

Anti-seize compound: SS-30 by JET LUBE

CAUTION: Never apply anti-seize compound to protector of front oxygen (A/F) sensor.







2. Install front oxygen (A/F) sensor.

Tightening torque: 21 N.m (2.1 kgf-m, 15.2 ft-lb)







3. Secure harness to clip (A).
4. Install under cover.
5. Lower the vehicle.




6. Connect connector of front oxygen (A/F) sensor.




7. Connect battery ground cable.