lemon-mirror:
Home >> Subaru >> 2003 >> Impreza F4-2.5L SOHC >> Repair and Diagnosis >> Specifications >> Mechanical Specifications >> Engine >> System Specifications

System Specifications

SPECIFICATIONS

















NOTE: US: Undersize, OS: Oversize





TIMING BELT





CYLINDER HEAD AND CAMSHAFT





VALVE ROCKER ASSEMBLY





CYLINDER HEAD AND VALVE ASSEMBLY





CYLINDER BLOCK

Part 1 Of 2:




Part 2 Of 2:





CRANKSHAFT AND PISTON





ENGINE MOUNTING





Cylinder head bolts.
1) Apply a coat of engine oil to the washers and bolt threads.
2) Tighten all bolts 29 Nm (3.0 kgf-m, 22 ft. lbs.) in alphabetical sequence. Then tighten 69 Nm (7.0 kgf-m, 51 ft. lbs.) in alphabetical sequence.
3) Back off all bolts in reverse order of assembly by 180° first; back them off by 180° again.
4) Tighten bolts (a) and (b) to 34 Nm (3.5 kgf-m, 25 ft. lbs.)
5) Tighten bolts (c), (d), (e) and (f) to 15 Nm (1.5 kgf-m, 11 ft. lbs.)
6) Tighten all bolts by 80 to 90° in alphabetical sequence.

CAUTION: Do not tighten bolts more than 90°

7) all bolts by 80 to 90° in alphabetical sequence

Crankshaft pulley bolt:
Stage 1 44 Nm (4.5 kgf-m, 33 ft. lbs.)
Stage 2 177 Nm (18.0 kgf-m, 130.2 ft. lbs.)
Stage 3 angle 65° or more

Intake Manifold 25 Nm (2.5 kgf-m, 18.1 ft-lb)

Throttle Body 22 Nm (2.2 kgf-m, 15.9 ft-lb)



Camshaft Cap Bolts
1) Apply liquid gasket on the around of camshaft cap.





NOTE: Apply a 3 mm (0.12 inch) diameter (A) bead of liquid gasket along edge (B) of the camshaft cap (C) mating surface.





2) Temporarily tighten bolts (g) through (j) in alphabetical sequence.





3) Install the valve rocker assembly.





4) Tighten bolts (a) through (h) in alphabetical sequence 25 Nm (2.5 kgf-m, 18.1 ft. lbs.)





5) Tighten the TORX bolts (i) through (n) in alphabetical sequence 18 Nm (1.8 kgf-m, 13.0 ft. lbs.)





6) Tighten bolts (o) through (v) in alphabetical sequence 10 Nm (1.0 kgf-m, 7.2 ft. lbs.)





7) Tighten bolts (w) through (x) in alphabetical sequence 10 Nm (1.0 kgf-m, 7.2 ft. lbs.)





Connecting rod bearing cap nuts

Oil Pump 6.4 Nm (0.65 kgf-m, 4.7 ft. lbs.)








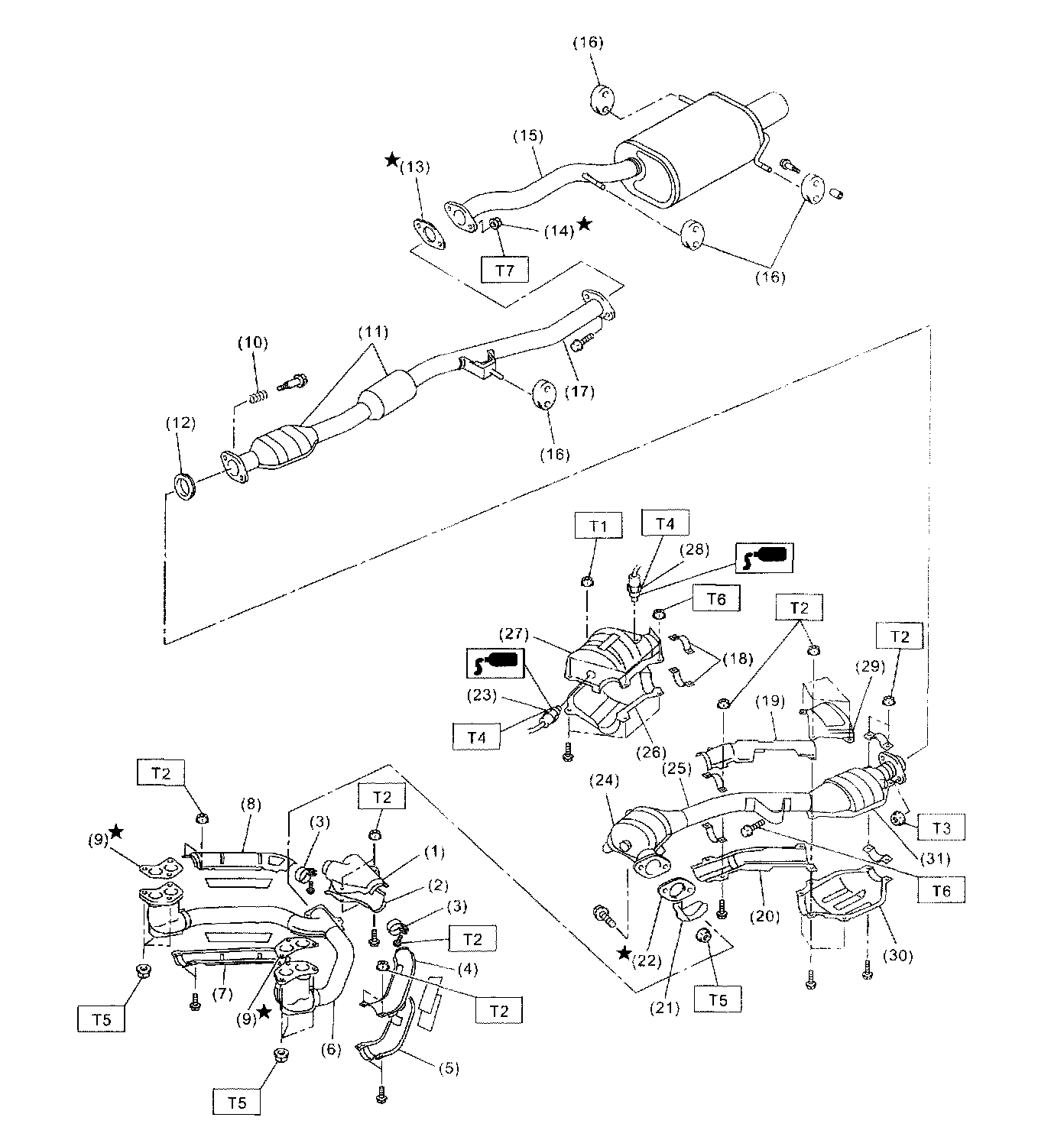
FRONT EXHAUST PIPE

Water pump to left-hand cylinder block - Tightening torque




Non-Turbo Model Sequence




Turbo Model Sequence
First Stage 12 Nm (1.2 kgf-m, 8.7 ft. lbs.)
Second Stage 12 Nm (1.2 kgf-m, 8.7 ft. lbs.)