lemon-mirror:
Home >> Subaru >> 2003 >> Forester F4-2.5L SOHC >> Repair and Diagnosis >> Diagrams >> Exploded Views >> Speedometer Head

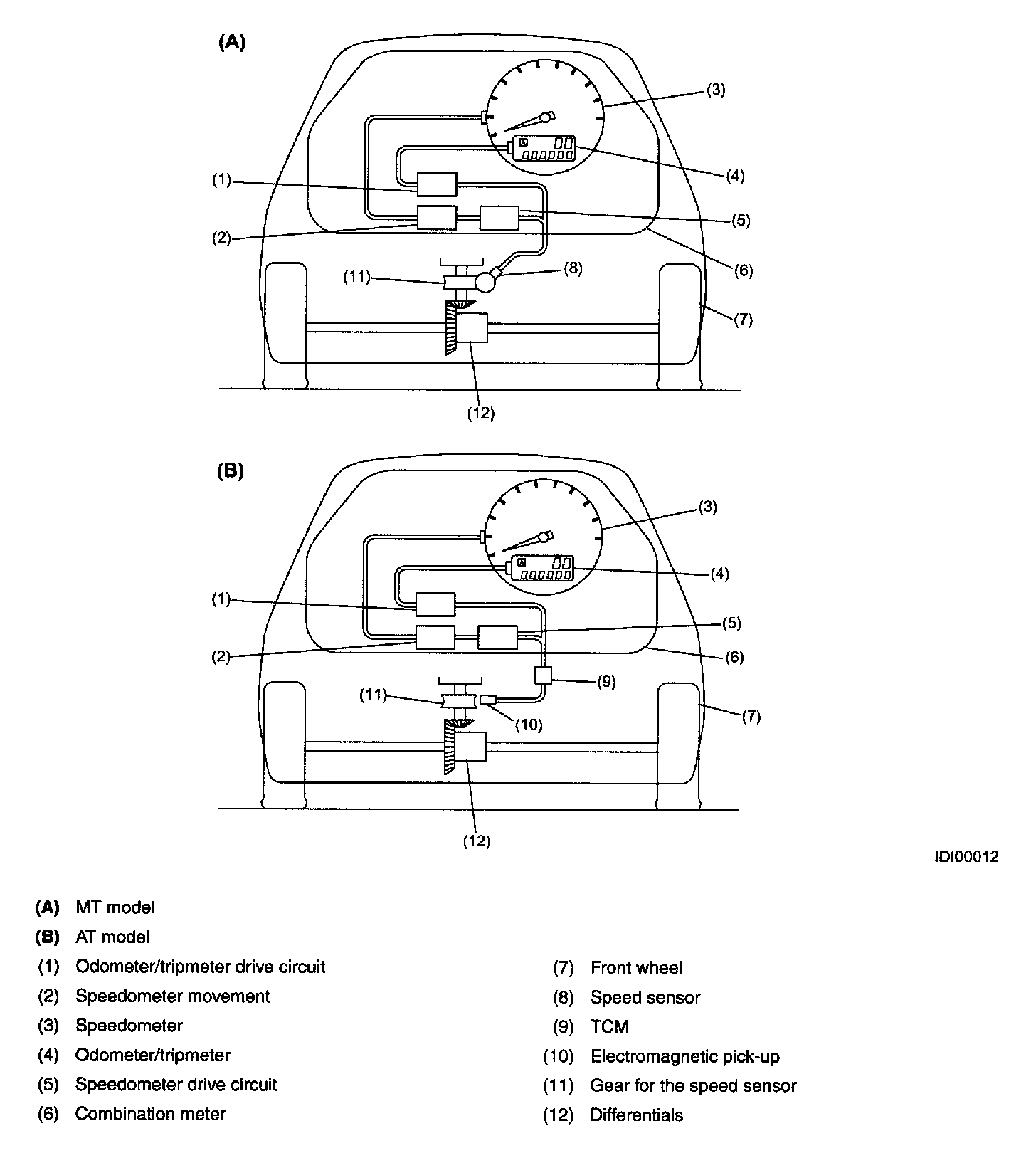
Speedometer Head

System Diagram: