lemon-mirror:
Home >> Subaru >> 2001 >> Legacy Outback LL Bean Ed. AWD F6-3.0L >> Repair and Diagnosis >> Specifications >> Mechanical Specifications >> Engine >> System Specifications >> Torque Specifications >> Intake (Induction)

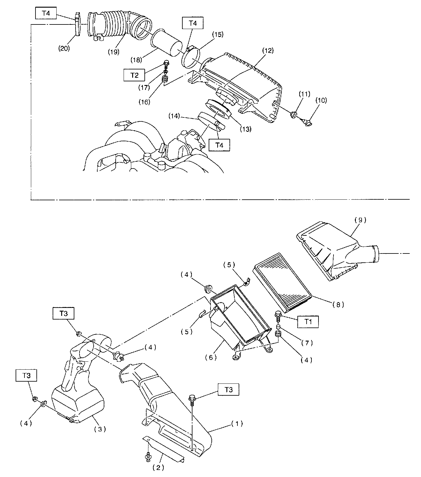
Intake (Induction)





1 of 2





2 of 2