lemon-mirror:
Home >> Subaru >> 2001 >> Legacy Outback LL Bean Ed. AWD F6-3.0L >> Repair and Diagnosis >> Powertrain Management >> Transmission Control Systems >> Locations

Transmission Control Systems: Locations

Module

Component Location Overall View / Component Views:




Component Location Overall View:




Component Views:










1. Transmission Control Module (TCM)
2. AT diagnostic indicator light

Sensor

Component Views:
















1. Rear vehicle speed sensor
2. Front vehicle speed sensor
3. Torque converter turbine speed sensor
4. ATF temperature sensor
5. Brake light switch

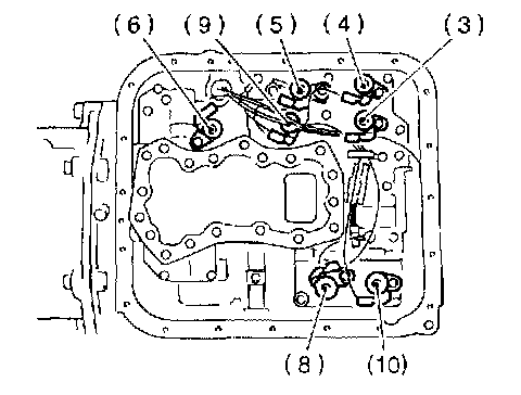
Solenoid Valve and Switch

Component Views:
















1. Dropping resistor
2. Inhibitor switch
3. Shift solenoid valve 1
4. Shift solenoid valve 2
5. Line pressure duly solenoid
6. Lock-up duty solenoid
7. Transfer duty solenoid
8. 2 - 4 brake duty solenoid
9. Low clutch timing solenoid valve
10. 2 - 4 brake timing solenoid valve