lemon-mirror:
Home >> Subaru >> 2001 >> Legacy Outback LL Bean Ed. AWD F6-3.0L >> Repair and Diagnosis >> Powertrain Management >> Computers and Control Systems >> Knock Sensor >> Service and Repair

Knock Sensor: Service and Repair

REMOVAL




1. Disconnect battery ground cable from battery ground terminal.
2. Remove intake manifold.
3. Disconnect knock sensor connector.




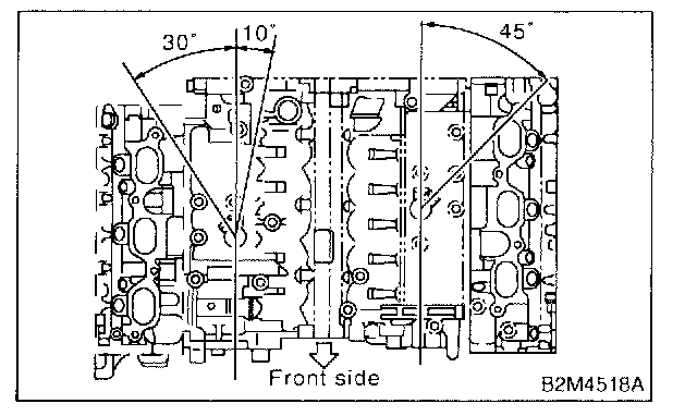
4. Remove knock sensor from cylinder block.

INSTALLATION

1. Install knock sensor to cylinder block.

Tightening torque: 25 N.m (2.5 kgf-m, 18 ft-lb)






NOTE: For the knock sensor's installation angle, refer to the figure.

2. Connect knock sensor connector.
3. Install intake manifold.




4. Connect battery ground cable.