lemon-mirror:
Home >> Subaru >> 2000 >> Forester L F4-2.5L SOHC >> Repair and Diagnosis >> Powertrain Management >> Computers and Control Systems >> Barometric Pressure Sensor >> Specifications

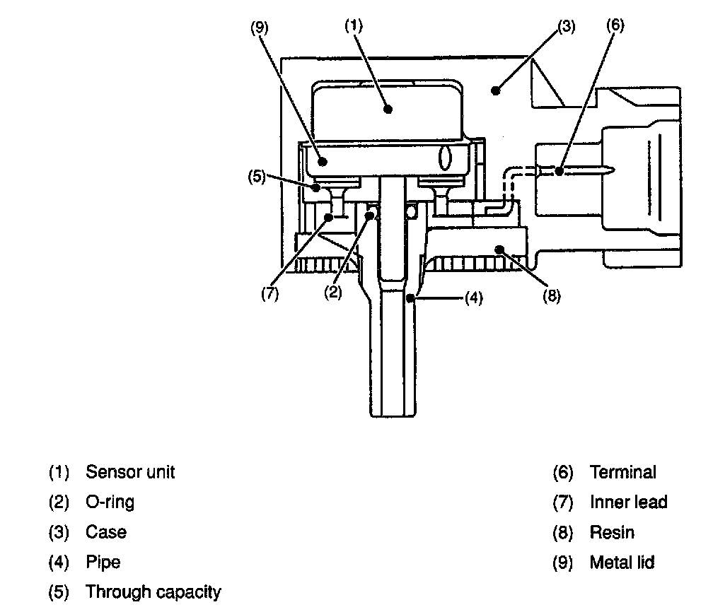
Barometric Pressure Sensor: Specifications



Atmospheric Pressure Sensor:






Atmospheric Pressure Sensor







Tightening Torque: 6.4 N.m (0.65 kgf-m, 4.7 ft-lb)