lemon-mirror:
Home >> Subaru >> 1998 >> Legacy Outback AWD F4-2.5L DOHC >> Repair and Diagnosis >> Powertrain Management >> Transmission Control Systems >> Locations

Transmission Control Systems: Locations

ELECTRICAL COMPONENTS LOCATION

TRANSMISSION

















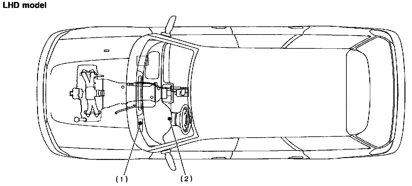
1. MODULE
(1) Transmission Control Module (TCM) (for AT vehicles)
(2) AT diagnostic indicator light (for AT vehicles)




















2. SENSOR
(1) Vehicle speed sensor 1 (for AT FWD vehicles only)
(2) Vehicle speed sensor 1 (for AT AWD vehicles only)
(3) Vehicle speed sensor 2 (for MT vehicles only)
(4) Vehicle speed sensor 2 (for AT vehicles only)
(5) ATF temperature sensor (for AT vehicles only)
(6) Brake light switch




















3. SOLENOID VALVE AND RELAY
- For AT vehicles
(1) Dropping resistor
(2) Inhibitor switch
(3) Shift solenoid valve 1
(4) Shift solenoid valve 2
(5) Shift solenoid valve 3
(6) Duty solenoid valve A
(7) Duty solenoid valve B

- For MT vehicles
(1) Neutral position switch (FWD models only)
(2) Neutral position switch (AWD models only)