lemon-mirror:
Home >> Subaru >> 1998 >> Forester AWD F4-2.5L DOHC >> Repair and Diagnosis >> Transmission and Drivetrain >> Automatic Transmission/Transaxle >> Control Module >> Locations >> Component Locations

Component Locations

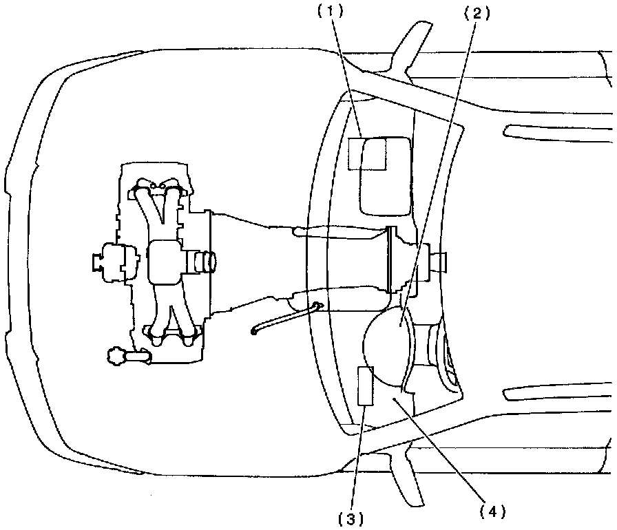
TRANSMISSION CONTROL MODULE





Electrical Components Location








(3) TCM
(4) Data link connector (for Subaru select monitor and OBD-II general scan tool)