lemon-mirror:
Home >> Subaru >> 1998 >> Forester AWD F4-2.5L DOHC >> Repair and Diagnosis >> Diagrams >> Exploded Views >> Air Flow Meter/Sensor

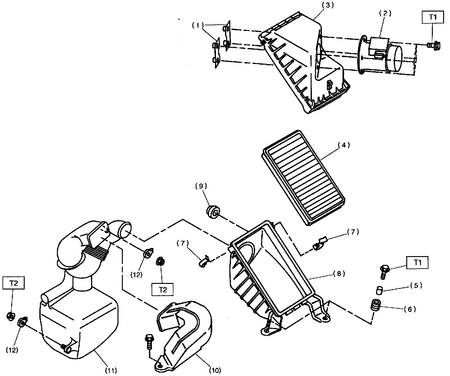
Air Flow Meter/Sensor





(1) Mass air flow sensor bracket
(2) Mass air flow sensor ASSY
(3) Air cleaner upper cover
(4) Air cleaner element
(5) Spacer
(6) Bush
(7) Clip
(8) Air cleaner case
(9) Cushion rubber
(10) Air intake duct
(11) Resonator chamber ASSY
(12) Clip

Tightening torque: N.m (kg-m, ft-lb)
T1: 7.4 ± 2.0 (0.75 ± 0.2, 5.4 ± 1.4)
T2: 33 ± 10 (3.4 ± 1.0, 25 ± 7)