lemon-mirror:
Home >> Subaru >> 1998 >> Forester AWD F4-2.5L DOHC >> Repair and Diagnosis >> Body and Frame >> Locks >> Keyless Entry >> Keyless Entry Module >> Service and Repair >> RKE Installation

RKE Installation

A. Pre-Installation Notes

Connector Orientation:





1. Connector Orientation
2. Vehicle Preparation
a. Roll down the driver's side window to avoid locking the keys in the vehicle during installation.
b. Remove the left lower dash trim to access the underdash wiring:
- Remove two (2) phillips screws at the bottom of the knee blocker panel.
- Remove one plastic clip on the side ot the dash closest to the driver's door.
c. Remove the negative battery cable.
3. System Preparation
a. Remove the 10-amp fuses from the module WHITE/BLACK and PINK wires. Plug the wiring harnesses into the remote keyless entry module.

Note: The supplied wiring harness is pre-cut to proper length.

B. Connecting the Keyless Entry Harness





1. Locate the keyless entry connector:
a. The connector is taped to a vehicle harness that crosses behind the metal knee protector under the driver's dash.
b. The connector is a white 10-pin plug with a mating connector attached. The mating connector has a single wire loop.
c. To locate the connector, reach behind the knee protector at a point just to the right of the fuse block. Pull the con nector down for access.
2. Remove the mating connector and discard. Replace with the 10-pin connector from the keyless entry harness.

C. Programming Button





1. On the keyless entry harness, locate the programming button. The button is taped and tie-wrapped to the harness near the 18-pin connector.





2. Carefully cut the tie wrap. Unravel the button wiring and pull button away from harness.





3. Remove the button housing by turning it counter-clockwise.





4. Using a drill with a 5/16" bit, carefully drill a hole in the left lower dash trim, below the diagnostic connector (white arrow). Hold the diagnostic connector harness clear of the drill bit. Drill the hole from the inside of the panel to prevent burrs or scratches.
5. Clear away any burrs or plastic debris from both sides of the hole.
6. Insert the button into the hole from behind. Secure the button from the front by re-attaching the button housing. Turn clockwise to tighten.

D. System Power-Up and Programming
1. The system will not operate until the following steps are completed.
a. Re-connect the negative battery cable.
b. Turn the ignition key to the "ON" position (do not start the engine).
c. Insert the 10-amp fuses into the module WHITE/BLACK and PINK wires.
d. Open the driver's door before proceeding any further.
e. Press and hold the programming button.
- In fifteen (15) seconds the door locks will cycle three (3) times to indicate that the system is in the transmitter programming mode. DO NOT release the programming button.
f. Press the LOCK button two (2) times on one of the transmitters.
- The door locks will cycle each time a button is pressed to confirm programming.
g. Repeat step 6 for the second transmitter.
h. Release the programming button and turn the ignition key to the "OFF" position.

E. Installation Testing

Note: If an incorrect response to test procedure is observed, refer to the corresponding installation step and verify installation.

1. Close all vehicle doors (with dome switch set to "doors" - middle position).
2. Press the LOCK button on one of the remote transmitters.
a. All vehicle doors will lock.
b. The parking lights will flash once.
3. Press the UNLOCK button on one of the remote transmitters.
a. The driver's door will unlock.
b. The vehicle courtesy light and DOOR AJAR indicator will turn on.
c. The parking lights will flash once.
4. Press and hold UNLOCK on the same transmitter.
a. All doors will unlock.
5. Repeat steps 3 and 4 with the second remote transmitter.

F. Warning Label Installation
1. Open the hood and clean any dirt or oil from the radiator support in the area located directly in front of the battery.
2. Adhere the label to the radiator support (label has large lettering).
3. Clean any dirt and oil from the black/yellow (ground) battery cable in an area located approximately 3" from the battery terminal.
4. Adhere the battery cable label to the clean area (label has small lettering).

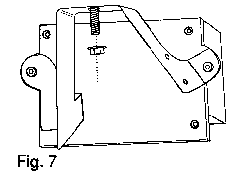
G. Mounting the Module





1. Mount the keyless entry module to the bracket using the supplied screws and nuts as shown.
2. The hole at the top of the module bracket will fit onto a threaded bolt behind the fuse block. To find the bolt, reach behind the fuse block. There are two bolts extending downward, mounted approximately 3 inches apart. The module bracket will mount to the bolt closest to the passenger side of the vehicle.





3. Fit the bracket onto the bolt, with the module SUBARU label facing the front of the vehicle. Use the supplied 1O mm nut to secure the bracket and module. Tighten to 45-60 inch lbs.

H. Notes on System Operation

1. Parking lights will flash when the vehicle battery is disconnected and reconnected. To stop lights from flashing, either:
a. Press remote transmitter Unlock button once.
b. Turn ignition to the "ON" position and press programming button for one second (mounted on trim beneath diagnostic connector).
2. The vehicle courtesy light and DOOR AJAR indicator will stay on tor 60 seconds upon exiting the vehicle unless the door is locked with the remote transmitter.
3. The instrument panel lights will tlash when the parking lights flash.

IMPORTANT!! If installing the Security Upgrade system at the same time as the Keyless Entry system, review now the Security Upgrade instructions to continue the installation procedure.

Finishing the Installation
1. Route the WHITE/BLACK antenna wire (8" wire extending from the side of the module) away from the module and surrounding harnesses. Keep the antenna as straight as possible. Make sure the end of the antenna does not make contact with metal.

Note: The antenna is cut to the appropriate length to ensure optimum performance. Do not cut or add wire to the antenna.

2. Using the supplied short tie wraps, secure the system wiring harness to existing wiring harnesses so that they are concealed and clear of any moving vehicle components.
3. Replace the left lower dash trim panel.
4. Place the Owner's Manual in glovebox.

INSTALLATION IS NOW COMPLETE.