lemon-mirror:
Home >> Subaru >> 1992 >> SVX L6-3.3L DOHC >> Repair and Diagnosis >> Powertrain Management >> Computers and Control Systems >> Air Flow Meter/Sensor >> Testing and Inspection

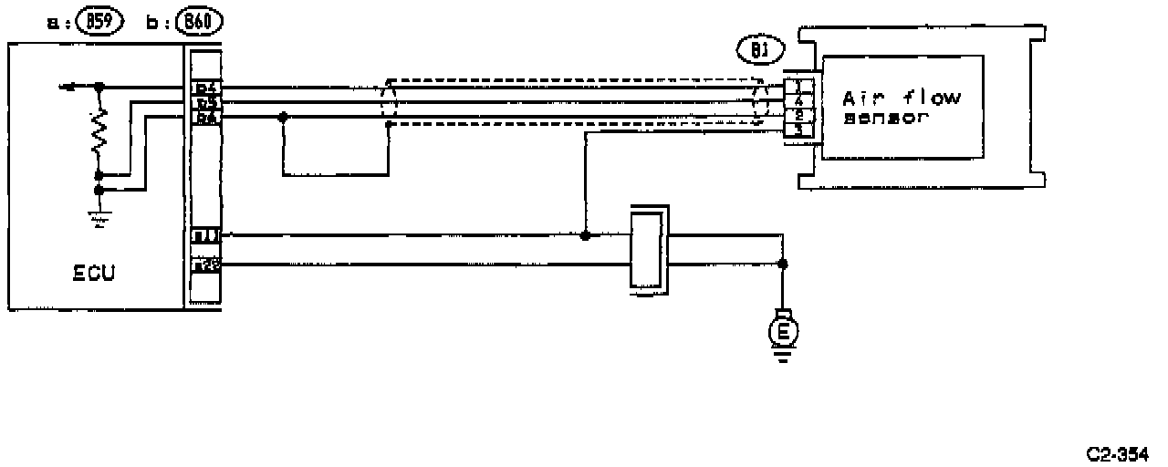
Air Flow Meter/Sensor: Testing and Inspection

Air Flow Sensor Circuit:





1. Turn ignition switch to "ON".
2. Measure voltage between ECU connector terminals and body.


Connector & Terminal/Specified value
(B60) No. 11 - Body/10 - 13 V
(B60) No. 5 - Body/0 - 0.3 V
(B60) No. 6 - Body/0 - 0 V


3. Measure voltage between ECU connector terminals and body with engine idling.

Connector & Terminal/Specified value
(B60) No. 11 - Body/13 - 14 V
(B60) No. 5 - Body/O.3 - 1.2 V
(B6O) No. 6 - Body/0 - 0 V