lemon-mirror:
Home >> Subaru >> 1985 >> Hatchback 2WD F4-1595cc 1.6L >> Repair and Diagnosis >> Powertrain Management >> Computers and Control Systems >> Oxygen Sensor >> Testing and Inspection

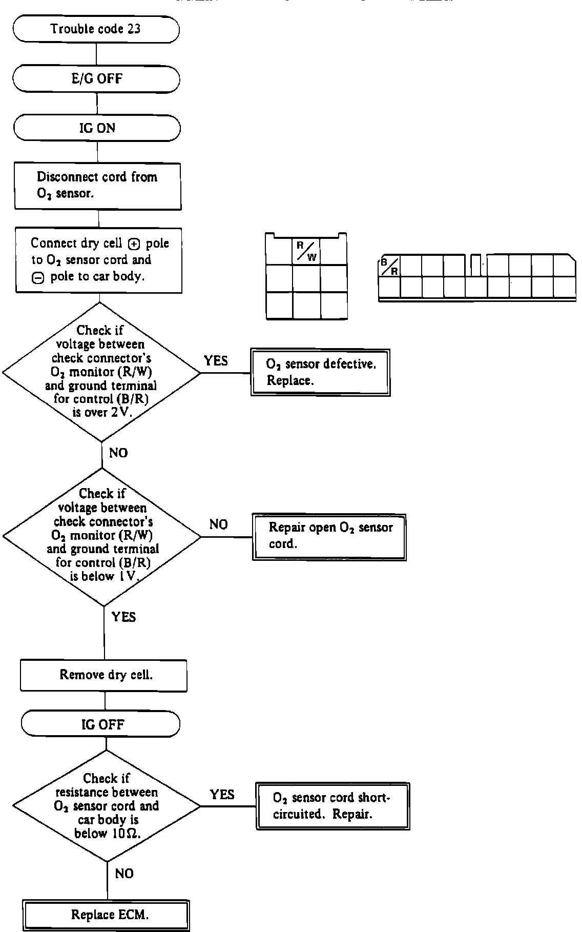
Oxygen Sensor: Testing and Inspection

Code 23 - Oxygen Sensor: