lemon-mirror:
Home >> Scion >> 2013 >> iQ EV ELE-Electric Engine >> Repair and Diagnosis >> Maintenance >> Alignment >> Service and Repair

Alignment: Service and Repair




WHEEL ALIGNMENT STANDARD

NOTICE: If the wheel alignment has been adjusted, or if suspension or underbody components have been removed/installed or replaced, be sure to perform the following initialization procedure in order for the system to function normally:
Perform zero point calibration of the yaw rate and deceleration sensor.

1. MEASURE VEHICLE HEIGHT

NOTICE:
- Before inspecting the wheel alignment, check the vehicle height.
- Be sure to perform measurement on a level surface.
- If it is necessary to go under the vehicle for measurement, confirm that the parking brake is applied and the vehicle is secured with chocks.
- Perform the inspection while the vehicle is empty (with the tire puncture repair kit and the tools in the vehicle).
- The standard value shown here is a value that is used for adjusting the wheel alignment and does not indicate the height of an actual vehicle.

a. Bounce the vehicle up and down at the corners to stabilize the suspension.
b. Measure the vehicle height.

Vehicle Height (Unloaded Vehicle):










Measurement points:
A Ground clearance of front wheel center
B Ground clearance of front lower arm set rear bolt center
C Ground clearance of rear wheel center
D Ground clearance of axle beam set bolt center

2. FRONT WHEEL ALIGNMENT
a. INSPECT CAMBER, CASTER AND STEERING AXIS INCLINATION
1. Put the front wheel on the center of the alignment tester.










2. Remove the wheel cap.
3. Set the camber-caster-kingpin gauge at the center of the axle hub or drive shaft.
4. Inspect the camber, caster and steering axis inclination.

Camber, Caster and Steering Axis Inclination (Unloaded Vehicle):







NOTICE:
- Perform the inspection while the vehicle is empty (with the tire puncture repair kit and the tools in the vehicle).
- The tolerance for the difference between the left and right wheels is 30' (0.5°) or less for both the camber and caster.

5. Remove the camber-caster-kingpin gauge.
6. Install the wheel cap.

If the caster and steering axis inclination are not within the specified values after the camber has been correctly adjusted, recheck the suspension parts for damage and wear.

b. INSPECT TOE-IN
1. Bounce the vehicle up and down at the corners to stabilize the suspension.
2. Release the parking brake and move the shift lever to N.
3. Push the vehicle straight ahead approximately 5 m (16.4 ft.).
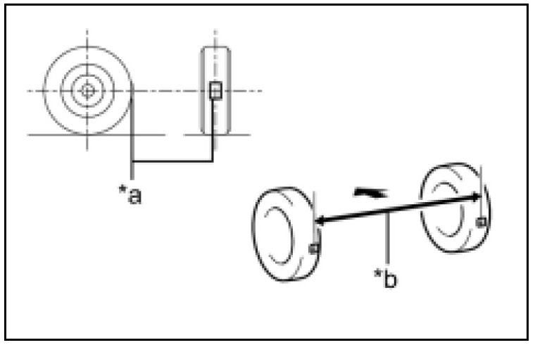
4. Put tread center marks on the rearmost points of the front wheels and measure the distance between the marks (dimension B).










5. Slowly push the vehicle straight ahead to cause the front wheels to rotate 180°. using the front tire valve as a reference point.

NOTICE: Do not allow the wheels to rotate more than 180°. If the wheels rotate more than 180°, perform the procedure from the beginning again.

6. Measure the distance between the tread center marks on the front of the wheels (dimension A).










Toe-in (Unloaded Vehicle):







NOTICE:
- Measure "B - A" only when "C + D" cannot be measured.
- If the toe-in is not within the specified range, adjust it at the tie rod ends.

c. INSPECT WHEEL TURNING ANGLE
1. Fully turn the steering wheel left and right, and measure the wheel turning angle.










Wheel Turning Angle (Unloaded Vehicle):







NOTICE:
- Perform the inspection while the vehicle is empty (with the tire puncture repair kit and the tools in the vehicle).
- If the right and left inside wheel angles are not within the specified range, check the right and left rack end lengths.

3. REAR WHEEL ALIGNMENT
a. INSPECT CAMBER
1. Install the camber-caster-kingpin gauge and position the rear wheel on the alignment tester.
2. Inspect the camber.

Camber (Unloaded Vehicle):







NOTICE:
- Perform the inspection while the vehicle is empty (with the tire puncture repair kit and the tools in the vehicle).
- The tolerance for the difference between the left and right wheels is 30' (0.5°) or less for both cambers.

If the camber is not within the specified range, inspect the suspension parts and replace them if necessary.

b. INSPECT TOE-IN
1. Bounce the vehicle up and down at the corners to stabilize the suspension.
2. Release the parking brake and move the shift lever to N.
3. Push the vehicle straight ahead approximately 5 m (16.4 ft.).
4. Put tread center marks on the rearmost points of the rear wheels and measure the distance between the marks (dimension B).










5. Slowly push the vehicle straight ahead to cause the rear wheels to rotate 180°. Use the rear tire valve as a reference point.

NOTICE: Do not allow the wheels to rotate more than 180°. If the wheels rotate more than 180°, perform the procedure from the beginning again.

6. Measure the distance between the tread center marks on the front of the wheels (dimension A).










Toe-in (Unloaded Vehicle):







NOTICE:
- Measure "B - A" only when "C + D" cannot be measured.
- If the toe-in is not within the specified range, inspect the suspension parts and replace them if necessary.