lemon-mirror:
Home >> Scion >> 2012 >> xD L4-1.8L (2ZR-FE) >> Repair and Diagnosis >> Maintenance >> Alignment >> Service and Repair >> Front Wheel Alignment

Front Wheel Alignment





SUSPENSION: FRONT WHEEL ALIGNMENT: ADJUSTMENT

NOTICE:
For vehicles equipped with VSC, if the wheel alignment has been adjusted, and if suspension or underbody components have been removed/installed or replaced, be sure to perform the following initialization procedure in order for the system to function normally:

(a) Disconnect the negative battery terminal for more than 2 seconds.
(b) Reconnect the negative battery terminal.
(c) Perform zero point calibration of the yaw rate and acceleration sensor and test mode inspection.

Programming and Relearning

1. INSPECT TIRES Testing and Inspection

2. MEASURE VEHICLE HEIGHT

NOTICE:
* Before inspecting the wheel alignment, adjust the vehicle height to the specified value.
* Be sure to perform measurement on a level surface.
* If it is necessary to go under the vehicle for measurement, confirm that the parking brake is applied and the vehicle is secured with chocks.

(a) Bounce the vehicle up and down at the corners to stabilize the suspension.

(b) Measure the vehicle height.





Measuring points:

A
Ground clearance of front wheel center

B
Ground clearance of front lower arm set front bolt head center

C
Ground clearance of rear wheel center

D
Ground clearance of axle beam set bolt head center

Vehicle Height (Unloaded Vehicle):





NOTICE:
The standard value shown here is a value that is used for adjusting the wheel alignment and does not indicate the height of an actual vehicle.

3. INSPECT CAMBER, CASTER AND STEERING AXIS INCLINATION





(a) Put the front wheel on the center of the alignment tester.

Text in Illustration





(b) Remove the wheel cap.

(c) Set the camber-caster-kingpin gauge at the center of the axle hub or drive shaft.

(d) Inspect the camber, caster and steering axis inclination.

Camber, Caster and Steering Axis Inclination (Unloaded Vehicle):





NOTICE:
* Perform the inspection while the vehicle is empty (without a spare tire or tools on board).
* The tolerance for the difference between the left and right wheels is 0°30' (0.50°) or less for both the camber and caster.

(e) Remove the camber-caster-kingpin gauge and attachment.

(f) Install the wheel cap.

If the caster and steering axis inclination are not within the specified values after the camber has been correctly adjusted, recheck the suspension parts for damage and wear.

4. ADJUST CAMBER

NOTICE:
Inspect the toe-in after the camber has been adjusted.

(a) Remove the front wheel.

(b) Remove the bolt and separate the speed sensor and flexible hose.





(c) Remove the 2 nuts from the lower side of the shock absorber.





HINT
Keep the bolt from rotating while loosening and removing the nuts.

(d) Clean the installation surfaces of the shock absorber and steering knuckle.

(e) Provisionally install the 2 nuts (Step A).

(f) Fully push or pull the axle hub in the direction of the required adjustment (Step B).





(g) Tighten the 2 nuts.





Torque : 164 Nm (1672 kgf-cm, 121 ft-lbf)

HINT
Keep the bolt from rotating while loosening and removing the nuts.

(h) Install the flexible hose and speed sensor with the bolt.





Torque : 29 Nm (300 kgf-cm, 22 ft-lbf)

NOTICE:
Install the flexible hose and speed sensor without twisting them.

(i) Install the front wheel.

Torque : 103 Nm (1050 kgf-cm, 76 ft-lbf)

(j) Check the camber.





If the measured value is not within the specifications, calculate the required adjustment amount using the formula below.

(Camber adjustment amount) = Center of specified range - Measured value

Check the combination of installed bolts. Select appropriate bolts from the table below to adjust the camber to within the specified range.

HINT
Try to adjust the camber to the center of the specified range.





(k) Table (1) (Move the axle toward the positive side)





(l) Table (2) (Move the axle toward the negative side).





The body and suspension may be damaged if the camber is not correctly adjusted in accordance with the above table.

NOTICE:
Replace the nut with a new one when replacing the bolt.

(m) Repeat the steps mentioned above. At step (A), replace 1 or 2 selected bolts.

HINT
Replace one bolt at a time when replacing 2 bolts.

5. INSPECT TOE-IN

(a) Bounce the vehicle up and down at the corners to stabilize the suspension.

(b) Release the parking brake and move the shift lever to the neutral position.

(c) Push the vehicle straight ahead approximately 5 m (16.4 ft.). (*1)

(d) Put tread center marks on the rearmost points of the front wheels and measure the distance between the marks (dimension B).





Text in Illustration





(e) Slowly push the vehicle straight ahead to cause the front wheels to rotate 180° using the front tire valve as a reference point.

HINT
Do not allow the wheels to rotate more than 180°. If the wheels rotate more than 180°, perform the procedure from (*1) again.

(f) Measure the distance between the tread center marks on the front side of the wheels (dimension A).





Text in Illustration





Toe-in (Unloaded Vehicle):





If the toe-in is not within the specified value, adjust it at the rack ends.

6. ADJUST TOE-IN





(a) Measure the thread lengths of the right and left rack ends.

Standard:

Difference in thread length of 1.5 mm (0.0591 in.) or less

(b) Remove the rack boot set clips.

(c) Loosen the tie rod end lock nuts.

(d) Adjust the rack ends if the difference in thread length between the right and left rack ends is not within the specified range.

(1) Extend the shorter rack end if the measured toe-in deviates toward the outer-side.

(2) Shorten the longer rack end if the measured toe-in deviates toward the inner-side.

(e) Turn the right and left rack ends by an equal amount to adjust the toe-in.

HINT
Try to adjust the toe-in to the center of the specified range.

(f) Make sure that the lengths of the right and left rack ends are the same.

Toe-in:

1.3 +/- 1.0 mm (0.0512 +/- 0.0394 in.)

(g) Tighten the tie rod end lock nuts to the specified torque.

Torque : 75 Nm (760 kgf-cm, 55 ft-lbf)

NOTICE:
Provisionally tighten the lock nut while holding the hexagonal part of the steering rack end so that the lock nut and the steering rack end do not turn together. Hold the flat of the tie rod end and tighten the lock nut.

(h) Place the boots on the seats.

(i) Using pliers, install the clip as shown in the illustration.





Text in Illustration





NOTICE:
Make sure that the boots are not twisted.

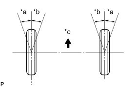
7. INSPECT WHEEL TURNING ANGLE





(a) Fully turn the steering wheel left and right, and measure the wheel turning angle.

Text in Illustration





Wheel Turning Angle (Unloaded Vehicle):





If the right and left inside wheel angles are not within the specified range, check the right and left rack end lengths.

8. PLACE FRONT WHEELS FACING STRAIGHT AHEAD

9. DISCONNECT CABLE FROM NEGATIVE BATTERY TERMINAL

NOTICE:
Disconnect the negative battery terminal for more than 2 seconds.

10. CONNECT CABLE TO NEGATIVE BATTERY TERMINAL

Torque : 5.4 Nm (55 kgf-cm, 48 in-lbf)

11. PERFORM YAW RATE SENSOR ZERO POINT CALIBRATION

Programming and Relearning

12. CHECK STEERING ANGLE SENSOR ZERO POINT CALIBRATION

C1290