lemon-mirror:
Home >> Scion >> 2012 >> tC L4-2.5L (2AR-FE) >> Repair and Diagnosis >> Specifications >> Capacity Specifications >> Refrigerant

Refrigerant






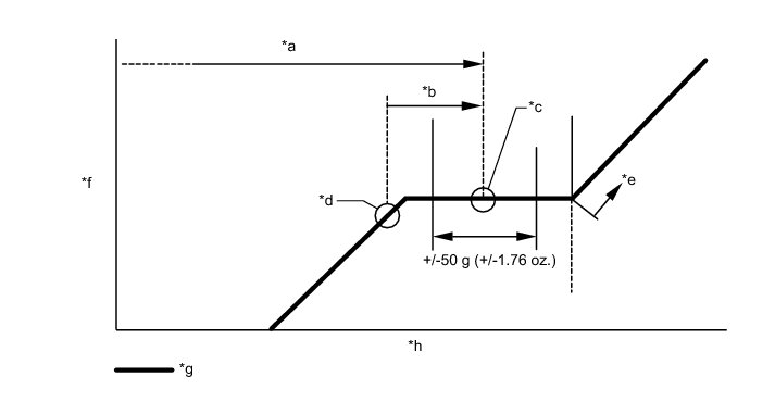
Refrigerant Capacity Standard 440 +/- 30 g (15.5 +/- 1.1 oz.)