lemon-mirror:
Home >> Scion >> 2012 >> tC L4-2.5L (2AR-FE) >> Repair and Diagnosis >> Powertrain Management >> Computers and Control Systems >> Body Control Module >> Service and Repair >> Removal

Removal





POWER DISTRIBUTION: MAIN BODY ECU: REMOVAL

1. DISCONNECT CABLE FROM NEGATIVE BATTERY TERMINAL

CAUTION:
Wait at least 90 seconds after disconnecting the cable from the negative (-) battery terminal to disable the SRS system.

NOTICE:
When disconnecting the cable, some systems need to be initialized after the cable is reconnected Repair Instruction - Initialization.

2. REMOVE UPPER INSTRUMENT PANEL

Removal

3. REMOVE LOWER INSTRUMENT PANEL

Removal

4. REMOVE INSTRUMENT PANEL JUNCTION BLOCK ASSEMBLY

(a) Detach the 5 claws.





(b) Disconnect the 6 connectors.

(c) Detach the clamp.





(d) Remove the 2 screws and instrument panel junction block assembly.

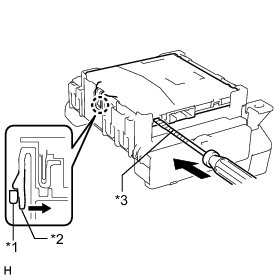
5. REMOVE MULTIPLEX NETWORK BODY ECU

(a) Press the claw of the junction block as shown in the illustration to release the lock.





Text in Illustration





(b) With the junction block lock released, insert a screwdriver horizontally between the multiplex network body ECU and junction block.

NOTICE:
Use a screwdriver with a radius of between 5.0 mm (0.197 in.) and 6.3 mm (0.248 in.) and a length of 90 mm (3.54 in.) or more.

HINT
Tape the screwdriver tip before use.

(c) Using the screwdriver, carefully raise the multiplex network body ECU until the connector becomes disengaged.





Text in Illustration





NOTICE:
Do not twist the screwdriver to raise the multiplex network body ECU.

(d) Raise the multiplex network body ECU as shown by arrow (1), and then pull it out as shown by arrow (2) in the illustration.





NOTICE:
Do not touch the ECU connector.