lemon-mirror:
Home >> Scion >> 2012 >> tC L4-2.5L (2AR-FE) >> Repair and Diagnosis >> Powertrain Management >> Computers and Control Systems >> Air Flow Meter/Sensor >> Testing and Inspection >> Inspection

Inspection





2AR-FE ENGINE CONTROL: MASS AIR FLOW METER: INSPECTION

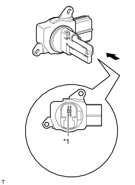
1. INSPECT MASS AIR FLOW METER SUB-ASSEMBLY

(a) Perform a visual check for any foreign matter on the platinum hot wire (heater) of the mass air flow meter as shown in the illustration.





OK:

There is no foreign matter.

Text in Illustration





(b) Check the intake air temperature sensor (built into the mass air flow meter).

(1) Measure the resistance according to the value(s) in the table below.





Standard Resistance:





Text in Illustration





If the result is not as specified, replace the mass air flow meter sub-assembly.