lemon-mirror:
Home >> Saturn >> 2009 >> VUE FWD V6-3.6L >> Repair and Diagnosis >> Diagrams >> Exploded Views >> Engine

Engine




Disassembled Views

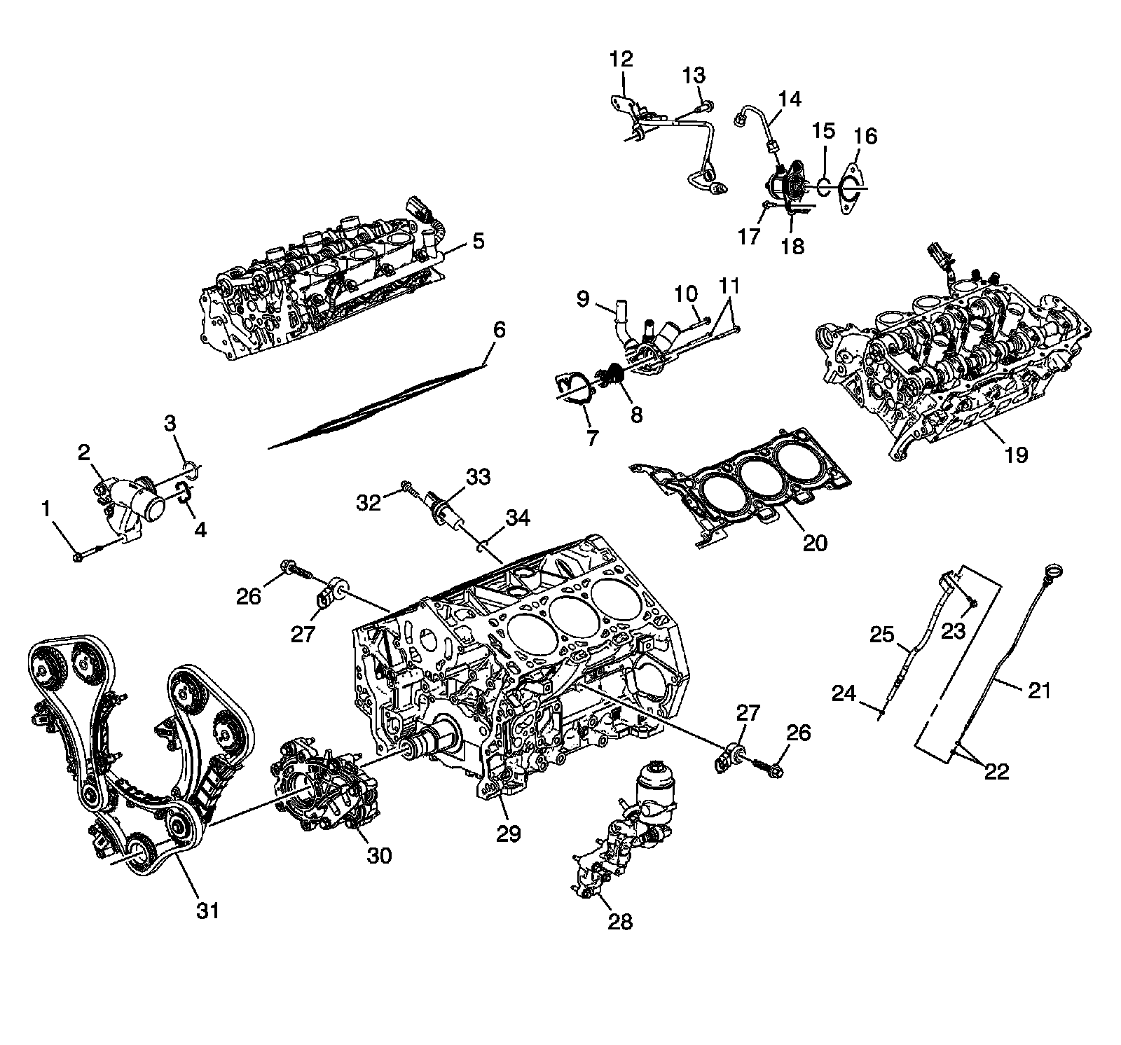
Engine Covers and Component Assemblies (1 of 2) (LY7)




3 - Engine Assembly
6 - Intake Manifold Assembly
9 - Left Camshaft Cover Assembly
10 - Right Camshaft Cover Assembly
14 - Engine Front Cover Assembly
15 - Oil Pan Assembly
140 - Engine Flywheel
141 - Engine Flywheel Bolt
390 - Crankshaft Balancer
391 - Crankshaft Balancer Bolt
601 - Left Exhaust Manifold Gasket
602 - Left Exhaust Manifold
610 - Exhaust Manifold Heat Shield
611 - Left Exhaust Manifold Heat Shield Bolt
621 - Right Exhaust Manifold Gasket
622 - Right Exhaust Manifold
625 - Cylinder Head Exhaust Manifold Bolt
625 - Cylinder Head Exhaust Manifold Bolt
630 - Right Exhaust Manifold Heat Shield
631 - Right Exhaust Manifold Heat Shield Bolt
704 - Ignition Coil
704 - Ignition Coil
705 - Ignition Coil Bolt
705 - Ignition Coil Bolt
719 - Spark Plug
719 - Spark Plug
739 - Crankshaft Position Sensor Heat Shield
764 - Crankshaft Position Sensor Heat Shield Bolt - Large
769 - Crankshaft Position Sensor Heat Shield Bolt - Small

Engine Covers and Component Assemblies (2 of 2) (LY7)




4 - Engine Short Block Assembly
7 - Left Cylinder Head Assembly
8 - Right Cylinder Head Assembly
13 - Oil Pump Assembly
16 - Oil Filter Adapter Assembly
19 - Timing Drive Assembly
302 - Left Cylinder Head Gasket
303 - Right Cylinder Head Gasket
365 - Engine Cooling Thermostat
366 - Engine Cooling Thermostat Gasket
367 - Engine Cooling Thermostat Housing
368 - Engine Cooling Thermostat Housing Bolt
369 - Engine Cooling Thermostat Bolt - Short
377 - Water Outlet Seal
378 - Water Outlet O-ring
379 - Water Outlet Bolt
380 - Water Outlet
395 - Coolant Pipe
396 - Coolant Pipe O-ring
398 - Coolant Pipe Bracket Bolt - Large
399 - Coolant Pipe Bracket Bolt - Small
430 - Oil Level Indicator
431 - Oil Level Indicator Tube
432 - Oil Level Indicator Tube O-ring
433 - Oil Level Indicator Tube Bolt
434 - Oil Level Indicator Handle O-ring
495 - Water Inlet/Outlet Pipe
496 - Water Inlet/Outlet Pipe O-ring
498 - Water Inlet/Outlet Pipe Bolts
499 - Water Inlet/Outlet Pipe Gaskets
720 - Crankshaft Position Sensor
721 - Crankshaft Position Sensor O-ring
722 - Crankshaft Position Sensor Bolt
723 - Knock Sensor
723 - Knock Sensor
724 - Knock Sensor Bolt
724 - Knock Sensor Bolt

Engine Covers and Component Assemblies (1 of 2) (LCS)




1 - Right Camshaft Cover Assembly
2 - Ignition Coil Bolt
3 - Ignition Coil
4 - Spark Plug
5 - Intake Manifold Assembly
6 - Left Camshaft Cover Assembly
7 - Fuel Rail Noise Shield
8 - Fuel Pump Cover
9 - Fuel Pump Cover Bolt
10 - Engine Flywheel
11 - Engine Flywheel Bolt
12 - Left Exhaust Manifold Heat Shield Bolt
13 - Left Exhaust Manifold Heat Shield
14 - Left Exhaust Manifold
15 - Cylinder Head Exhaust Manifold Bolt
16 - Left Exhaust Manifold Gasket
17 - Engine Assembly
18 - Oil Pan Assembly
19 - Engine Front Cover Assembly
20 - Crankshaft Balancer
21 - Crankshaft Balancer Bolt
22 - Right Exhaust Manifold
23 - Right Exhaust Manifold Gasket
24 - Crankshaft Position Sensor Heat Shield Bolt - Large
25 - Crankshaft Position Sensor Heat Shield
26 - Crankshaft Position Sensor Heat Shield Bolt - Small

Engine Covers and Component Assemblies (2 of 2) (LCS)




1 - Water Outlet Bolt
2 - Water Outlet
3 - Water Outlet O-ring
4 - Water Outlet Seal
5 - Right Cylinder Head Assembly
6 - Right Cylinder Head Gasket
7 - Engine Cooling Thermostat Gasket
8 - Engine Cooling Thermostat
9 - Engine Cooling Thermostat Housing
10 - Engine Cooling Thermostat Bolt - Short
11 - Engine Cooling Thermostat Housing Bolt
12 - Fuel Feed Pipe Assembly
13 - Fuel Feed Pipe Assembly Bolt
14 - Fuel Feed Intermediate Pipe Assembly
15 - Fuel Pump O-ring Seal
16 - Fuel Pump Gasket
17 - Fuel Pump Bolt
18 - Fuel Pump
19 - Left Cylinder Head Assembly
20 - Left Cylinder Head Gasket
21 - Oil Level Indicator
22 - Oil Level Indicator Handle O-ring
23 - Oil Level Indicator Tube Bolt
24 - Oil Level Indicator Tube O-ring
25 - Oil Level Indicator Tube
26 - Knock Sensor Bolt
27 - Knock Sensor
28 - Oil Filter Adapter Assembly
29 - Engine Short Block Assembly
30 - Oil Pump Assembly
31 - Timing Drive Assembly
32 - Crankshaft Position Sensor Bolt
33 - Crankshaft Position Sensor
34 - Crankshaft Position Sensor O-ring

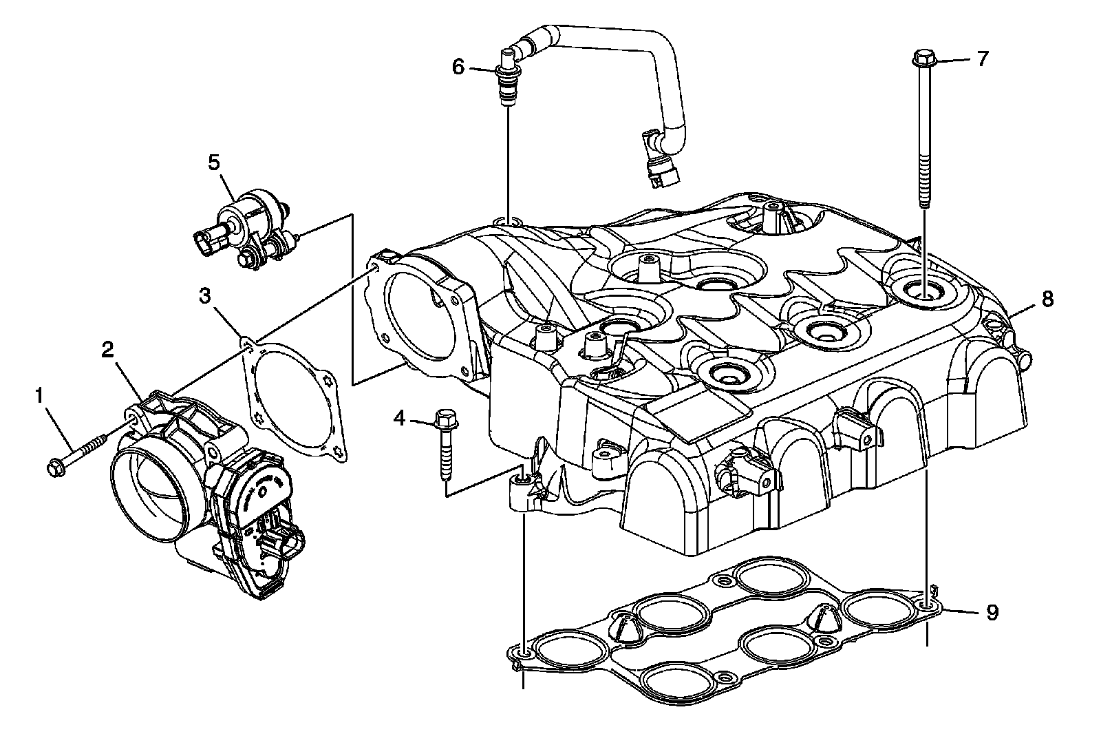
Camshaft Cover Assembly (LY7)




250 - Left Camshaft Cover
251 - Left Camshaft Cover Gasket
252 - Right Camshaft Cover
253 - Right Camshaft Cover Gasket
254 - Camshaft Cover Spark Plug Port Seal
254 - Camshaft Cover Spark Plug Port Seal
255 - Camshaft Cover Bolt
255 - Camshaft Cover Bolt
256 - Camshaft Cover Bolt Insulator
256 - Camshaft Cover Bolt Insulator
257 - Ignition Coil Bolt Thread Insert
258 - Oil Fill Cap
259 - Oil Fill O-ring
260 - Left Camshaft Cover PCV Fitting
261 - Right Camshaft Cover PCV Fitting Orifice
262 - Oil Fill Tube
263 - Left Camshaft Cover PCV Fitting O-ring
265 - Left Camshaft Housing Cover Insulator
266 - Right Camshaft Housing Cover Insulator
704 - Ignition Coil
704 - Ignition Coil
705 - Ignition Coil Bolt
705 - Ignition Coil Bolt
719 - Spark Plug
719 - Spark Plug

Camshaft Cover Assembly (LCS)




1 - Camshaft Cover Bolt Insulator
2 - Camshaft Cover Bolt
3 - Right Camshaft Housing Cover Insulator
4 - Ignition Coil Bolt Thread Insert
5 - Ignition Coil
6 - Ignition Coil Bolt
7 - Spark Plug
8 - Right Camshaft Cover PCV Fitting Orifice
9 - Right Camshaft Cover
10 - Camshaft Cover Spark Plug Port Seal
11 - Right Camshaft Cover Gasket
12 - Left Camshaft Housing Cover Insulator
13 - Left Camshaft Cover PCV Fitting
14 - Left Camshaft Cover PCV Fitting O-ring
15 - Left Camshaft Cover
16 - Oil Fill Cap
17 - Oil Fill O-ring
18 - Oil Fill Tube
19 - Left Camshaft Cover Gasket

Camshaft Timing Components




150 - Crankshaft Sprocket
151 - Lower Primary Timing Chain Guide
152 - Primary Timing Chain Tensioner
153 - Primary Timing Chain Tensioner Bolt
153 - Primary Timing Chain Tensioner Bolt
153 - Primary Timing Chain Tensioner Bolt
153 - Primary Timing Chain Tensioner Bolt
153 - Primary Timing Chain Tensioner Bolt
153 - Primary Timing Chain Tensioner Bolt
154 - Lower Primary Timing Chain Guide Bolt
155 - Primary Timing Chain
156 - Upper Primary Timing Chain Guide
161 - Camshaft Intermediate Drive Shaft Sprocket Bolt
161 - Camshaft Intermediate Drive Shaft Sprocket Bolt
164 - Primary Timing Chain Tensioner Gasket
165 - Left Camshaft Intermediate Drive Shaft Sprocket
166 - Right Camshaft Intermediate Drive Shaft Sprocket
170 - Secondary Timing Chain
170 - Secondary Timing Chain
171 - Left Secondary Timing Chain Guide
173 - Left Secondary Timing Chain Shoe
174 - Left Secondary Timing Chain Shoe Bolt
174 - Left Secondary Timing Chain Shoe Bolt
175 - Left Secondary Timing Chain Tensioner
177 - Left Secondary Timing Chain Tensioner Gasket
181 - Right Secondary Timing Chain Guide
183 - Right Secondary Timing Chain Shoe
185 - Right Secondary Timing Chain Tensioner
187 - Right Secondary Timing Chain Tensioner Gasket
190 - Exhaust Camshaft Position Actuator
190 - Exhaust Camshaft Position Actuator
191 - Intake Camshaft Position Actuator
191 - Intake Camshaft Position Actuator
192 - Camshaft Position Actuator Bolt
192 - Camshaft Position Actuator Bolt
192 - Camshaft Position Actuator Bolt
192 - Camshaft Position Actuator Bolt

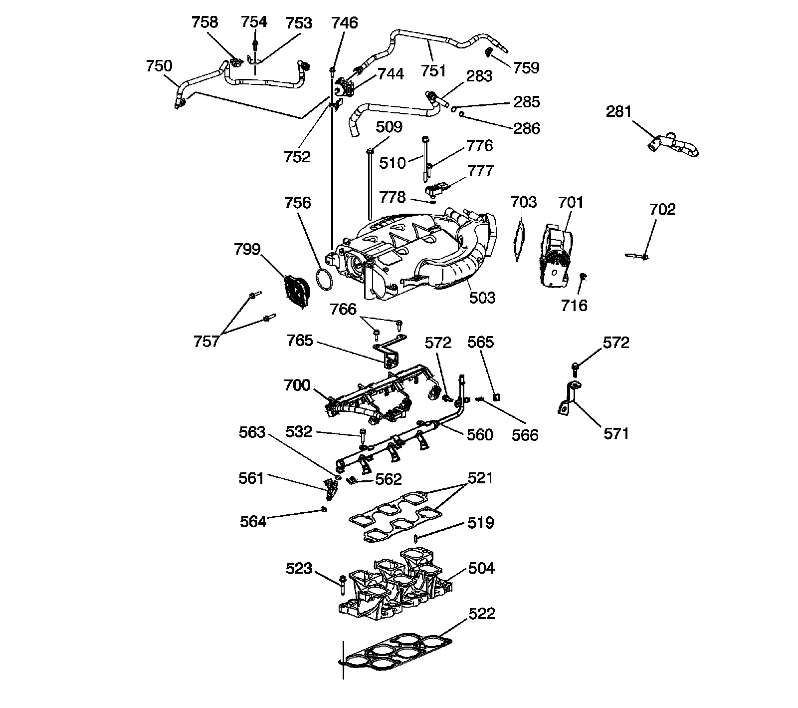
Intake Manifold (LY7)




281 - Clean PCV Hose
283 - Dirty PCV Hose
285 - PCV Hose O-ring Outer/Larger
286 - PCV Hose O-ring Inner/Smaller
503 - Upper Intake Manifold
504 - Lower Intake Manifold
509 - Upper Intake Manifold Bolt - Long
510 - Upper Intake Manifold Bolt - Short
519 - Lower Intake Manifold to Upper Intake Manifold Dowel Pin
521 - Upper Intake Manifold Gasket
522 - Lower Intake Manifold Gasket
523 - Lower Intake Manifold Bolt
532 - Fuel Rail Bolt
560 - Fuel Rail
561 - Fuel Injector
562 - Fuel Injector Retainer
563 - Fuel Injector Upper Seal
564 - Fuel Injector Lower Seal
565 - Fuel Pressure Service Valve Cap
566 - Fuel Pressure Service Valve
571 - Fuel Rail Support Bracket
572 - Fuel Rail Support Bracket Bolt
572 - Fuel Rail Support Bracket Bolt
700 - Fuel Injector Wiring Harness
701 - Throttle Body
702 - Throttle Body Bolt
703 - Throttle Body Gasket
716 - Throttle Body Engine Wiring Harness Clip
744 - EVAP Purge Solenoid
746 - EVAP Purge Solenoid Bolt
750 - EVAP Purge Solenoid Tube - Intake Manifold to EVAP Solenoid
751 - EVAP Purge Solenoid Tube - EVAP Solenoid to Chassis
752 - EVAP Purge Solenoid Bracket
753 - EVAP Purge Solenoid Tube Bracket
754 - EVAP Purge Solenoid Tube Bracket Bolt
756 - Intake Manifold Tuning Valve O-ring
757 - Intake Manifold Tuning Valve Bolt
758 - EVAP Purge Solenoid Tube Clip
759 - EVAP Purge Solenoid Tube Clip
765 - Fuel Injector Wiring Harness Bracket
766 - Fuel Injector Wiring Harness Bracket Bolt
776 - BARO Sensor Bolt
777 - BARO Sensor
778 - BARO Sensor O-ring
799 - Intake Manifold Opening Cover

Intake Manifold (LCS)




1 - Throttle Body Bolt
2 - Throttle Body
3 - Throttle Body Gasket
4 - Intake Manifold Bolt - Short
5 - EVAP Solenoid
6 - PCV Tube
7 - Intake Manifold Bolt - Long
8 - Intake Manifold
9 - Intake Manifold Gasket

Fuel Rail (LY7)




561 - Fuel Injector
562 - Fuel Injector Retainer
563 - Fuel Injector Upper Seal
564 - Fuel Injector Lower Seal
565 - Fuel Pressure Service Valve Cap
566 - Fuel Pressure Service Valve
700 - Fuel Injector Wiring Harness
766 - Fuel Injector Wiring Harness Bracket Bolt

Fuel Rail (LCS)




1 - Fuel Pressure Sensor
2 - Fuel Rail Bolt
3 - Fuel Injector Retainer
4 - Fuel Injector O-ring Seal
5 - Fuel Injector Spacer
6 - Fuel Injector
7 - Fuel Injector Teflon Seal
8 - Fuel Injector Isolator Cup
9 - Fuel Injector Isolator Cup Retaining Ring
10 - Fuel Rail

Cylinder Head Assemblies (LY7)




300 - Left Cylinder Head
301 - Right Cylinder Head
302 - Left Cylinder Head Gasket
303 - Right Cylinder Head Gasket
310 - Cylinder Head Bolt
311 - Cylinder Head Front Bolt
313 - Cylinder Head Coolant Hole Threaded Plug
318 - Spark Plug Sleeve
319 - Cylinder Head Oil Gallery Expansion Plug - 14 mm
319 - Cylinder Head Oil Gallery Expansion Plug - 14 mm
320 - Exhaust Valve
321 - Intake Valve
322 - Valve Rocker Arm Assembly
323 - Hydraulic Valve Lash Adjuster Assembly
324 - Valve Stem Oil Seal
325 - Valve Spring
326 - Valve Spring Cap
327 - Valve Stem Key
328 - Cylinder Head Camshaft Front Thrust Bearing Cap
328 - Cylinder Head Camshaft Front Thrust Bearing Cap
329 - Camshaft Oil Seal Ring
330 - Left Exhaust Camshaft
331 - Left Intake Camshaft
332 - Right Intake Camshaft
333 - Right Exhaust Camshaft
336 - Cylinder Head Camshaft Cap - Intermediate
337 - Cylinder Head Camshaft Cap Bolt
339 - Cylinder Head Oil Gallery Check Valve
711 - Engine Coolant Temperature Sensor

Cylinder Head Assemblies (LCS)




1 - Fuel Injector Wiring Harness
2 - Fuel Rail
3 - Fuel Pressure Sensor
4 - Fuel Rail Bolt
5 - Fuel Rail Crossover Pipe
6 - Fuel Injector Retainer
7 - Fuel Injector O-ring Seal
8 - Fuel Injector Spacer
9 - Fuel Injector
10 - Fuel Injector Teflon Seal
11 - Fuel Injector Isolator Cup
12 - Fuel Injector Isolator Cup Retaining Ring
13 - Cylinder Head Front Bolt
14 - Cylinder Head Bolt
15 - Valve Stem Oil Seal
16 - Valve Spring
17 - Valve Spring Cap
18 - Valve Stem Key
19 - Valve Rocker Arm Assembly
20 - Cylinder Head Camshaft Front Thrust Bearing Cap
21 - Cylinder Head Camshaft Cap - Intermediate
22 - Cylinder Head Camshaft Cap Bolt
23 - Left Intake Camshaft
24 - Left Exhaust Camshaft
25 - Cylinder Head Coolant Hole Threaded Plug
26 - Spark Plug Sleeve
27 - Hydraulic Valve Lash Adjuster Assembly
28 - Engine Coolant Temperature Sensor
29 - Left Cylinder Head
30 - Intake Valve
31 - Left Cylinder Head Gasket
32 - Exhaust Valve
33 - Cylinder Head Oil Gallery Expansion Plug - 14 mm
34 - Right Cylinder Head Gasket
35 - Cylinder Head Oil Gallery Check Valve
36 - Right Cylinder Head
37 - Right Exhaust Camshaft
38 - Right Intake Camshaft
39 - Camshaft Oil Seal Ring

Engine Front Cover




132 - Engine Front Cover Locating Pin
350 - Engine Front Cover
351 - Engine Front Cover Gasket
352 - Engine Front Cover Bolt
353 - Engine Front Cover Seal
354 - Engine Front Cover Deadener
360 - Water Pump Assembly
361 - Water Pump Bolt
362 - Water Pump Gasket
363 - Water Pump Pulley
364 - Water Pump Pulley Bolt
390 - Crankshaft Balancer
391 - Crankshaft Balancer Bolt
725 - Camshaft Position Sensor
726 - Camshaft Position Sensor O-ring
727 - Camshaft Position Sensor Bolt
732 - Camshaft Position Actuator Solenoid Valve
733 - Camshaft Position Actuator Solenoid Valve Bolt
734 - Camshaft Position Actuator Solenoid Valve Seal

Oil Pump - Second Design




151 - Lower Primary Timing Chain Guide
154 - Lower Primary Timing Chain Guide Bolt
463 - Oil Pump Housing
464 - Oil Pump Cover
465 - Oil Pump Driven Gear
466 - Oil Pump Drive Gear
468 - Oil Pump Cover Bolt
470 - Oil Pressure Relief Valve Bore Plug
471 - Oil Pressure Relief Valve Spring
472 - Oil Pressure Relief Valve
474 - Oil Pressure Relief Valve Bore Plug Retainer Clip
475 - Oil Pump Bolt

Engine Block Assembly




15 - Piston and Connecting Rod Assembly
100 - Engine Block
110 - Crankshaft Bearing Cap
111 - Crankshaft Bearing Thrust Cap
114 - Crankshaft Bearing Cap Inboard Bolt
115 - Crankshaft Bearing Cap Outboard Bolt
116 - Crankshaft Bearing Cap Side Bolt - Short
117 - Crankshaft Bearing Cap Side Bolt - Long
119 - Engine Block Oil Gallery Expansion Plug - 10 mm
120 - Crankshaft
122 - Crankshaft Upper Bearing
123 - Crankshaft Lower Bearing
124 - Crankshaft Upper Thrust Bearing #3
126 - Engine Block Oil Gallery Expansion Plug - 14 mm
127 - Engine Block Oil Gallery Threaded Plug - 14 mm
127 - Engine Block Oil Gallery Threaded Plug - 14 mm
128 - Engine Block Coolant Drain Threaded Plug - 14 mm
129 - Engine Block Oil Gallery Threaded Plug - 20 mm
130 - Engine Block Core Coolant Expansion Plug - 34.3 mm
131 - Transaxle Locating Pin
133 - Crankshaft Rear Oil Seal Housing Assembly
134 - Crankshaft Rear Oil Seal Housing Assembly Bolt
135 - Oil Pan Locating Pin
137 - Cylinder Head Locating Pin
490 - Piston Oil Nozzle
491 - Piston Oil Nozzle Bolt

Piston, Rings, Bearing and Connecting Rod




200 - Connecting Rod
201 - Connecting Rod Bolt
202 - Connecting Rod Bushing
203 - Connecting Rod Bearing
210 - Piston
211 - Piston Pin
212 - Piston Pin Retainer
212 - Piston Pin Retainer
213 - Piston Upper Compression Ring
214 - Piston Lower Compression Ring
215 - Piston Oil Control Rail Ring
216 - Piston Oil Control Ring Spacer

Oil Pan Assembly




400 - Oil Pan
405 - Oil Pump Suction Pipe
406 - Oil Pump Suction Pipe Gasket
407 - Oil Pump Suction Pipe Bolt
407 - Oil Pump Suction Pipe Bolt
410 - Oil Pan Baffle Scraper
411 - Oil Pan Baffle Scraper Bolt
412 - Oil Pan Drain Plug
413 - Oil Pan Drain Plug O-ring
420 - Oil Pan Bolt
422 - Oil Pan Bolt - Long

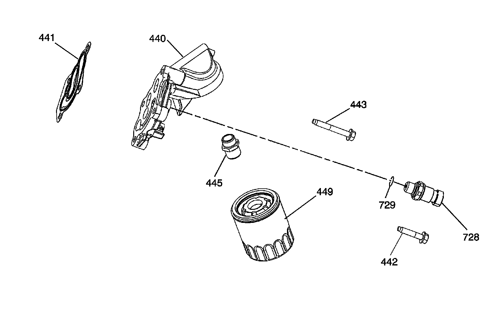
Oil Filter Adapter (LY7)




440 - Oil Filter Adapter
441 - Oil Filter Adapter Gasket
442 - Oil Filter Adapter Bolt
443 - Oil Filter Adapter Bolt - Long
445 - Oil Filter Fitting
449 - Oil Filter
728 - Engine Oil Pressure Sensor
729 - Engine Oil Pressure Sensor O-ring.

Oil Filter Adapter (LCS)




440 - Oil Filter Adapter
441 - Oil Filter Adapter Gasket
442 - Oil Filter Adapter Bolt
443 - Oil Filter Adapter Bolt - Long
446 - Oil Filter Bypass Valve
447 - Oil Filter Adapter Bolt - Large
448 - Oil Filter Adapter Bolt Sleeve
449 - Oil Filter
450 - Oil Filter Cap
451 - Oil Filter Cap O-ring
456 - Oil Filter Bypass Valve Body
458 - Drain Valve Assembly
459 - Drain Valve Assembly Seal
728 - Engine Oil Pressure Sensor
729 - Engine Oil Pressure Sensor O-ring