lemon-mirror:
Home >> Saturn >> 2009 >> Astra L4-1.8L >> Repair and Diagnosis >> Diagrams >> Exploded Views >> Automatic Transmission/Transaxle >> Parking System Components

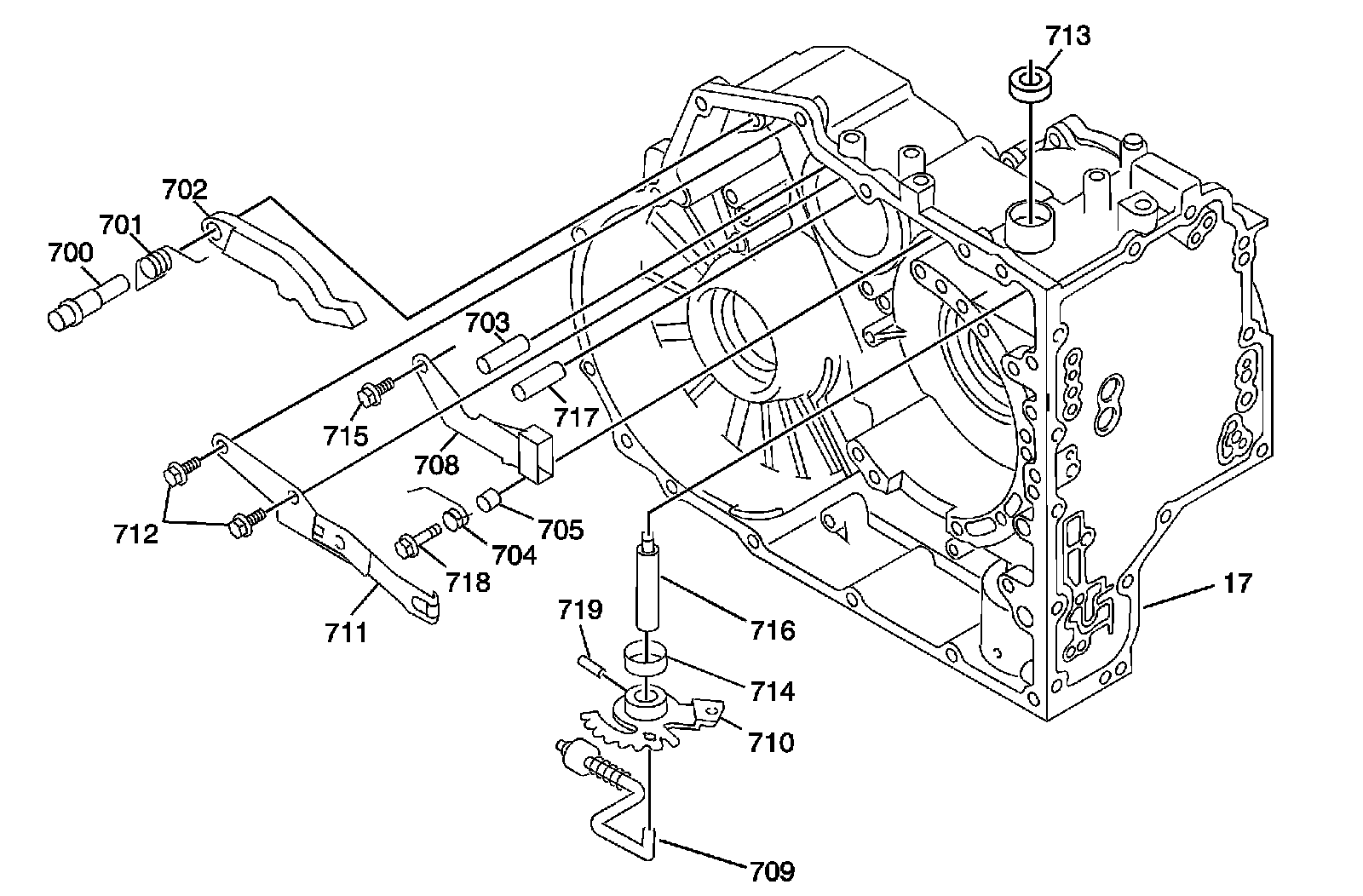
Parking System Components




Disassembled Views

Parking System Components




17 - Transmission Case Assembly
700 - Park Pawl Shaft
701 - Park Pawl Spring - Return
702 - Park Pawl
703 - Park Pawl Locking Pin
704 - Park Pawl Pin Spring
705 - Park Pawl Pin Spring Guide Sleeve
708 - Park Pawl Lock Guide
709 - Park Pawl Actuator Rod
710 - Manual Shift Shaft Detent Assembly
711 - Manual Shift Shaft Detent Lever Spring
712 - Manual Shaft Detent Spring Bolt M6 x 1.0 x 14 (Qty: 2)
713 - Manual Shift Shaft Seal Assembly
714 - Manual Shift Shaft Spacer
715 - Manual Shift Shaft Detent Lever Bolt M6 x 1.0 x 14 (Qty: 1)
716 - Manual Shift Shaft
717 - Park Pawl Stop Pin
718 - Manual Shift Shaft Detent Lever Bolt M6 x 1.0 x 28 (Qty: 1)
719 - Manual Shift Shaft Locking Pin