lemon-mirror:
Home >> Saturn >> 2008 >> Aura L4-2.4L >> Repair and Diagnosis >> Locations >> Component Locations >> Instrument Panel/Center Console Component Views

Instrument Panel/Center Console Component Views



Instrument Panel/Center Console Component Views

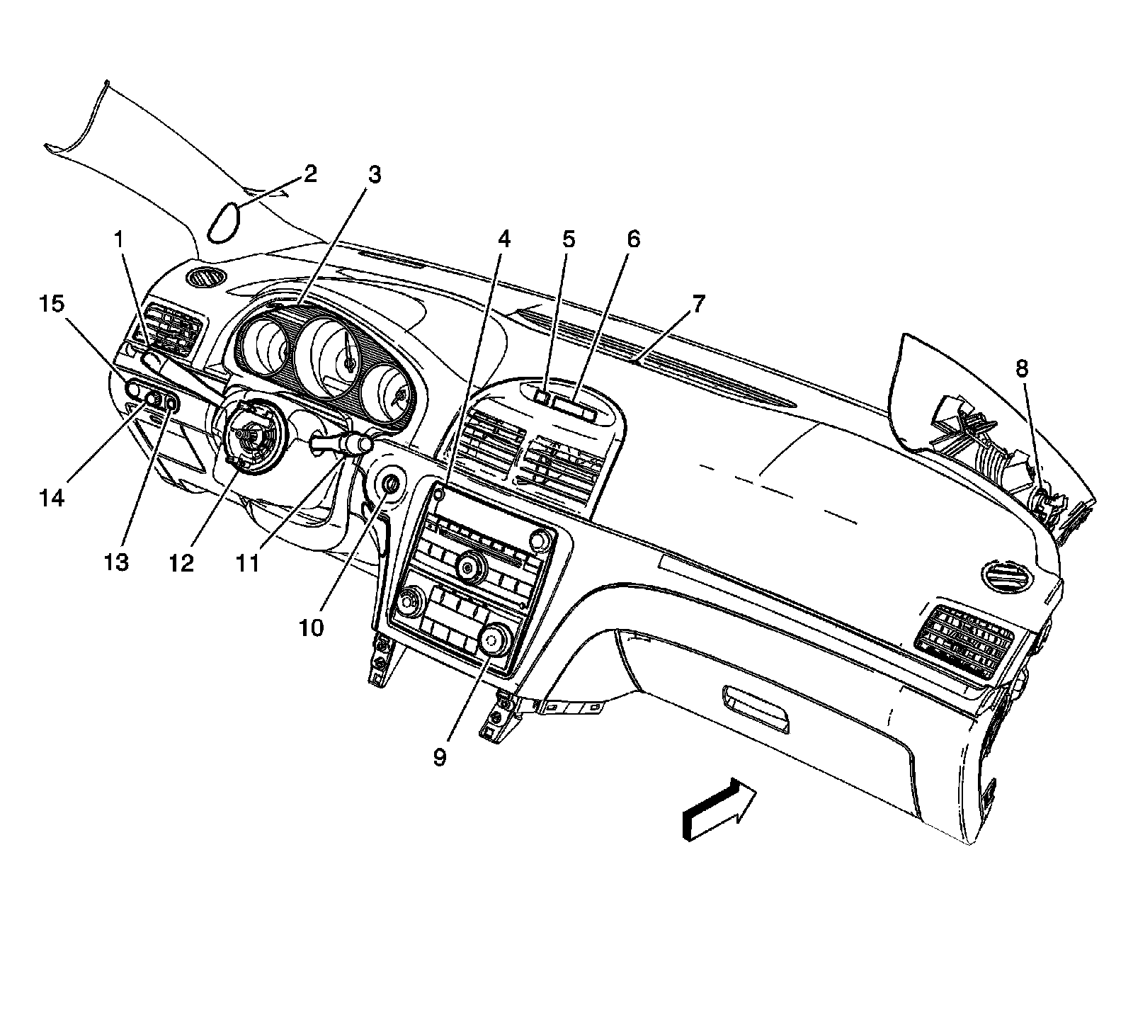
Instrument Panel Components 1 of 2




1 - Turn Signal/Multifunction Switch
2 - Speaker - Left Front Tweeter
3 - Instrument Panel Cluster (IPC)
4 - Radio
5 - Hazard Switch
6 - Inflatable Restraint PASSENGER AIR BAG ON/OFF Indicator
7 - Ambient Light Sensor (C60) Sunload Sensor (C68)
8 - Speaker - Right Front Tweeter
9 - HVAC Control Module
10 - Ignition Switch
11 - Windshield Wiper/Washer Switch
12 - Inflatable Restraint Steering Wheel Module Coil
13 - Fog Lamp Switch (T96)
14 - I/P Dimmer Switch
15 - Adjustable Pedal Position Switch (JF4)

Instrument Panel Components 2 of 2




1 - Instrument Panel Trim
2 - Vehicle Communications Interface Module (VCIM) (UE1)

Instrument Panel SIR Components




1 - Instrument Panel Trim
2 - Inflatable Restraint Instrument Panel Module
3 - Inflatable Restraint Steering Wheel Module

Console Components 1 of 2




1 - Auxiliary Power Outlet (- DT4), Cigar Lighter (DT4)
2 - Auxiliary Power Outlet
3 - Traction Control Switch
4 - Rear Seat Audio (RSA) Controller (UK6)
5 - Console Trim

Console Components 2 of 2




1 - Shift Lever
2 - X303
3 - Transmission Range Indicator Lamp
4 - A/T Shift Lock Control Solenoid

HVAC Components 1 of 3




1 - Rear Floor Duct
2 - Air Temperature Sensor - Lower (C68)
3 - Console

HVAC Components 2 of 3




1 - Mode Actuator
2 - HVAC Module Assembly
3 - Air Temperature Actuator
4 - Blower Motor
5 - Recirculation Actuator
6 - Blower Motor Control Module (C68)

HVAC Components 3 of 3




1 - Center Duct
2 - Defrost Duct
3 - Rear Floor Duct
4 - Air Temperature Sensor - Upper (C68)

Park Brake and Pedal Assemblies Components

Park Brake And Pedal Assemblies:




1 - Park Brake Switch
2 - Adjustable Pedal Module (JF4)
3 - Brake Pedal Position Sensor
4 - Adjustable Pedal Position Sensor (JF4)
5 - Adjustable Accelerator Pedal Position Motor (JF4)
6 - Accelerator Pedal Position (APP) Sensor
7 - Floor Panel

Data Link Connector and Body Control Module (BCM)




1 - Instrument Panel Trim
2 - Instrument Panel Carrier
3 - I/P Compartment
4 - Body Bontrol Module (BCM) X2
5 - Data Link Connector (DLC)
6 - X206
7 - X208

Steering Wheel Controls




1 - Tap Up/Tap Down Switch - Left (KB7)
2 - Tap Up/Tap Down Switch - Right (KB7)
3 - Steering Wheel Controls - Right (UK3)
4 - Horn Switch
5 - Steering Wheel Controls - Left (UK3)

Steering Column Components 1 of 4




1 - Turn Signal/Multifunction Switch
2 - Windshield Wiper/Washer Switch
3 - Inflatable Restraint Steering Wheel Module Coil
4 - Steering Wheel Position Sensor (FX3)

Steering Wheel Controls Components 2 of 4

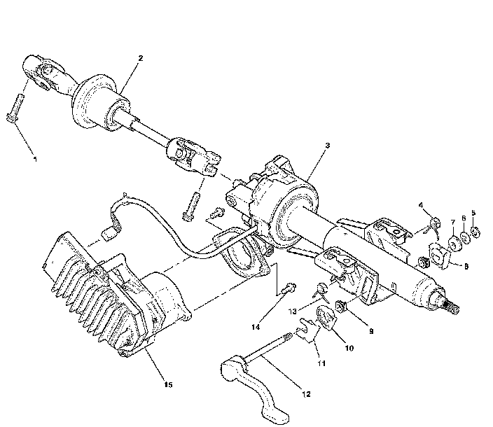
Steering Column Disassembled View (Electronic Power Steering):




1 - Intermediate Steering Shaft Lower Bolt
2 - Intermediate Steering Shaft
3 - Steering Column
4 - Tilt Lever Spring
5 - Tilt Lever Nut
6 - Tilt Lever Bearing
7 - Tilt Lever Spacer
8 - Tilt Lever Retainer
9 - Tilt Lever Retainer
10 - Tilt Lever Cam
11 - Tilt Lever Follower
12 - Tilt Lever
13 - Tilt Lever Spring
14 - Power Steering Assist Motor Bolt
15 - Power Steering Assist Motor

Steering Wheel Controls Components 3 of 4

Steering Column Disassembled View (Hydraulic Power Steering):




1 - Intermediate Steering Shaft
2 - Intermediate Steering Shaft Bolt
3 - Steering Wheel Position Sensor
4 - Steering Column
5 - Tilt Lever Spring
6 - Tilt Lever Nut
7 - Tilt Lever Bearing
8 - Tilt Lever Spacer
9 - Tilt Lever Retainer
10 - Tilt Lever Retainer
11 - Tilt Lever Cam
12 - Tilt Lever Follower
13 - Tilt Lever
14 - Tilt Lever Spring
15 - Intermediate Steering Shaft Nut

Steering Wheel Controls Components 4 of 4

Power Steering Component Views:




1 - Brake Booster Bracket
2 - Power Steering Control Module
3 - G103
4 - Fuse Block - Underhood Terminal