lemon-mirror:
Home >> Saturn >> 2008 >> Astra L4-1.8L >> Repair and Diagnosis >> Diagrams >> Exploded Views >> Automatic Transmission/Transaxle

Automatic Transmission/Transaxle



Disassembled Views

Case and Associated Parts (1 of 3)




1 - Torque Converter Assembly
2 - Transmission Fluid Pump Assembly
10 - Torque Converter Housing
12 - Output Gear Assembly
13 - Front Differential Assembly
14 - Front Differential Transfer Drive Gear Assembly
15 - Overdrive and Coast Clutch Assembly
16 - 2nd and 4th Gear Band Assembly
17 - Transmission Case Assembly
18 - Forward Clutch Assembly
19 - Transmission Case Cover
20 - Transmission Case Cover Bolts M8x1.0x25 (Qty: 10)
21 - Transmission Case Cover Fluid Seal Rings (Qty: 5)
23 - Reverse Clutch Assembly with Input Shaft Assembly
25 - Rear Ring Gear Assembly
27 - Front Planetary Ring Gear Assembly
29 - Control Valve Body Cover
39 - Transmission Control Valve Body Assembly
542 - Carrier Assembly
544 - Sun Gear

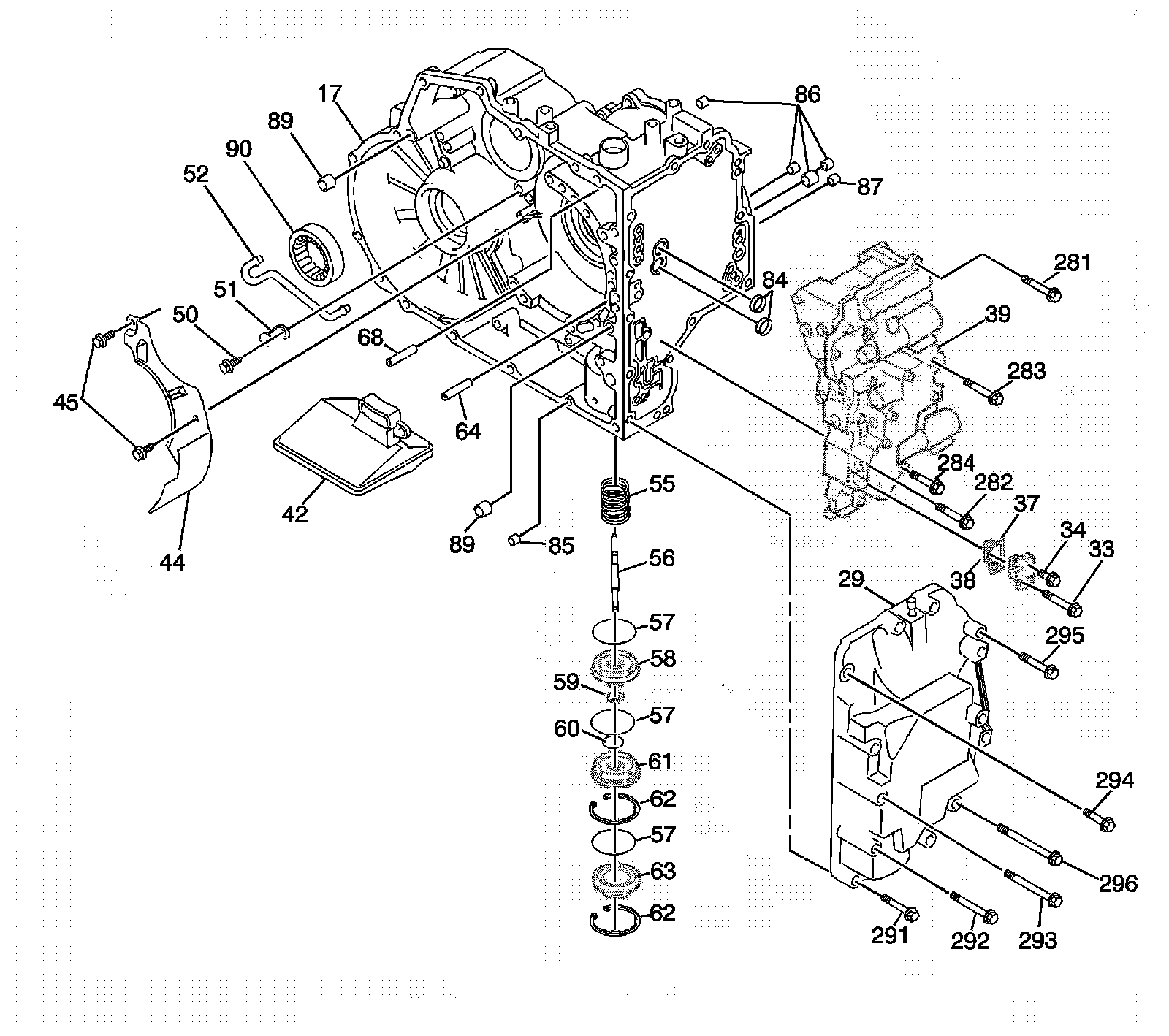
Case and Associated Parts (2 of 3)




17 - Transmission Case Assembly
29 - Control Valve Body Cover
34 - Control Valve Body Fluid Passage Bolt M6 x 1.0 x 20 (Qty: 1)
37 - Control Valve Body Fluid Passage Cover
38 - Control Valve Body Fluid Passage Cover Gasket
39 - Transmission Control Valve Body Assembly
42 - Transmission Fluid Filter Assembly
44 - Transmission Fluid Baffle
45 - Transmission Fluid Baffle Bolt M6 x 1.0 x 12 (Qty: 2)
50 - Apply Tube Retainer Bolt M6 x 1.0 x 12 (Qty: 1)
51 - Apply Tube Retainer
52 - Apply Tube
55 - 2nd and 4th Gear Band Servo Piston Spring
56 - 2nd and 4th Gear Band Servo Piston Pin - Selective
57 - 2nd and 4th Gear Band Servo Piston and Cover O-Ring Seal (Qty: 3)
58 - 2nd and 4th Gear Band Servo Piston
59 - 2nd and 4th Gear Band Servo Piston Pin Retainer
60 - 2nd and 4th Gear Band Servo Piston Inner Seal
61 - 2nd and 4th Gear Band Servo Piston Cover
62 - 2nd and 4th Gear Band Servo Cover Retaining Ring
63 - 2nd and 4th Gear Band Servo Cover
64 - 2-4 Gear Band Anchor Pin
68 - Transmission Case Locating Pin (Qty: 2)
84 - Transmission Case Fluid Passage Seal to Valve Body (Qty: 2)
85 - Transmission Fluid Passage Seal
86 - Transmission Case Fluid Passage Seal (Qty: 4)
87 - Transmission Case Fluid Passage Seal
89 - Transmission Fluid Passage Seal (Qty: 2)
90 - Front Differential Transfer Drive Gear Assembly Bearing
281 - Control Valve Body Bolt M6 x 1.0 x 20 (Qty: 5)
282 - Control Valve Body Bolt M6 x 1.0 x 76 (Qty: 1)
283 - Control Valve Body Bolt M6 x 1.0 x 55 (Qty: 1)
284 - Control Valve Body Bolt M6 x 1.0 x 12 ((Qty: 1)
291 - Control Valve Body Cover Bolt M8 x 1.0 x 38 (Qty: 4)
292 - Control Valve Body Cover Bolt M8 x 1.0 x 72 (Qty: 2)
293 - Control Valve Body Cover Bolt M8 x 1.0 x 90 (Qty: 2)
294 - Control Valve Body Cover Bolt M8 x 1.0 x 25 (Qty: 1)
295 - Control Valve Body Cover Bolt M8 x 1.0 x 60 (Qty: 3)
296 - Control Valve Body Cover Bolt M8 x 1.0 x 106.5 (Qty: 1)
713 - Manual Shift Shaft Seal Assembly

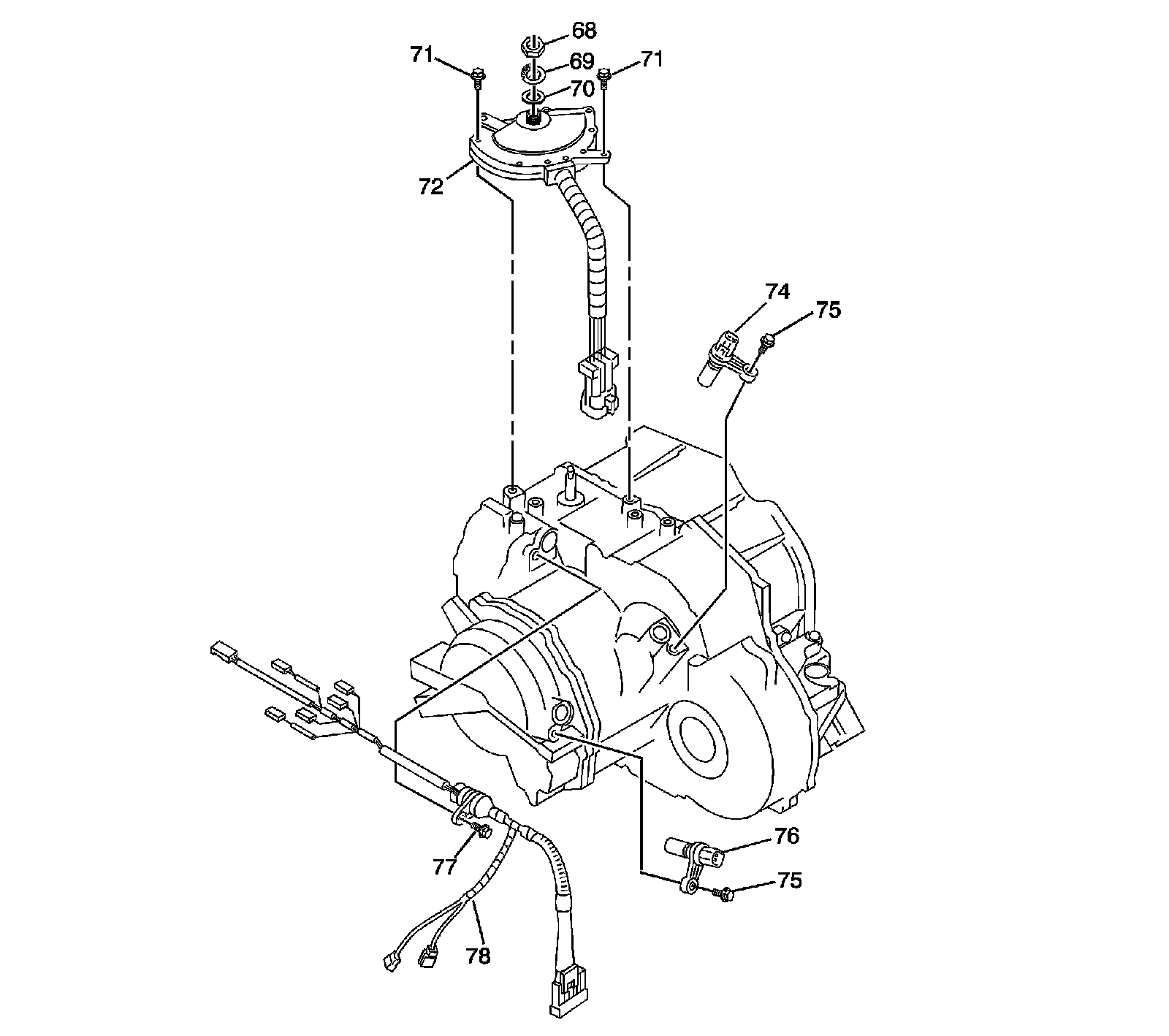
Case and Associated Parts (3 of 3)




69 - Manual Shift Shaft Retaining Nut
70 - Manual Shift Shaft Retaining Nut Lock Washer
71 - Park/Neutral Position Switch Bolt M8 x 1.0 x 26 (Qty: 2)
72 - Park/Neutral Position Switch
74 - Transmission Output Speed Sensor Assembly
75 - Transmission Speed Sensor Bolt M6 x 1.0 x 17 (Qty: 2)
76 - Transmission Input Speed Sensor Assembly
77 - Transmission Wiring Harness Bolt M6 x 1.0 x 17 (Qty: 1)
78 - Automatic Transmission Wiring Harness Assembly

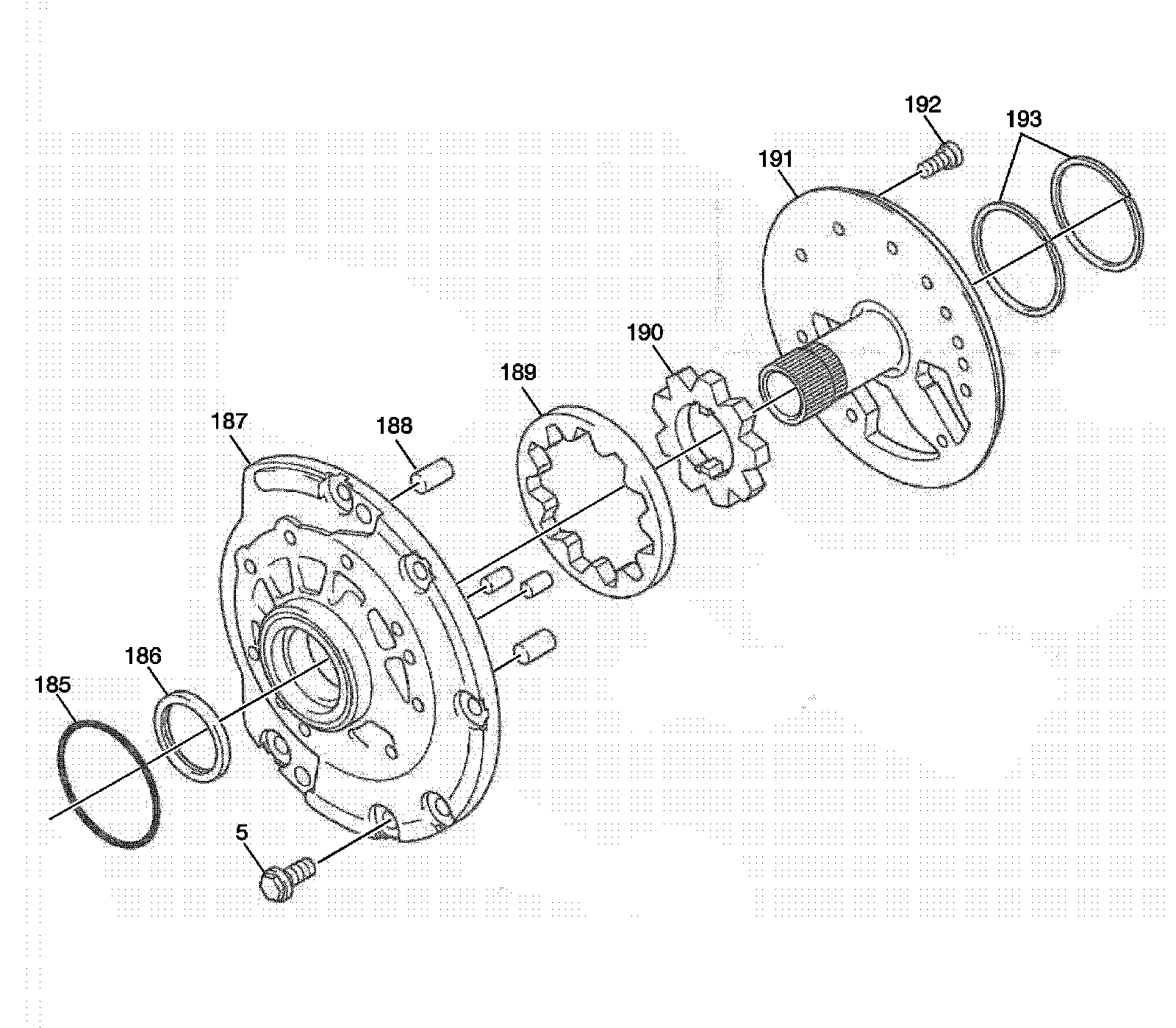
Fluid Pump Assembly




5 - Transmission Fluid Pump to Case Bolt M8 x 1.0 x 20 (Qty: 6)
185 - Transmission Fluid Pump Body O-Ring Seal
186 - Transmission Fluid Pump Body Seal Assembly
187 - Fluid Pump Body
188 - Fluid Pump Body to Fluid Pump Stator Shaft Assembly Alignment Pin (Qty: 2)
189 - Fluid Pump Body Driven Gear
190 - Fluid Pump Body Drive Gear
191 - Fluid Pump Cover and Stator Shaft Assembly
192 - Transmission Fluid Pump Cover Bolt M6 x 1.0 x 18 (Qty: 8)
193 - Fluid Pump Cover O-Ring Seals (Qty: 2)

Overdrive (C0) and Coast (C3) Clutch Assembly




209 - Overdrive Clutch Backing Plate Retaining Ring
210 - Overdrive Clutch Backing Plate
211 - Overdrive Clutch Plate Assembly - Fiber
212 - Overdrive Clutch Plate Assembly - Steel
213 - Coast Clutch Backing Plate
214 - Coast Clutch Backing Plate Retaining Ring
215 - Coast Clutch Plate Assembly - Fiber
216 - Coast Clutch Plate Assembly - Steel
217 - Overdrive and Coast Clutch Spring Retaining Ring
218 - Overdrive and Coast Clutch Spring
219 - Coast Clutch Piston Inner Seal
220 - Coast Clutch Piston Outer Seal
221 - Coast Clutch Piston
222 - Overdrive Clutch Piston Inner Seal
223 - Overdrive Clutch Piston Outer Seal
224 - Overdrive Clutch Piston
225 - Overdrive and Coast Clutch Housing
226 - Overdrive and Coast Clutch Housing Thrust Washer

Output Gear Assembly




236 - Output Gear
237 - Output Gear Bearing Assembly
238 - Output Gear Bearing Assembly Lock Nut
239 - Output Gear Retaining Ring

Front Differential Transfer Drive Gear Assembly




263 - Front Differential Transfer Drive Gear Front Thrust Bearing Race
264 - Front Differential Transfer Drive Gear Drive Pinion Bearing Inner Race
265 - Front Differential Transfer Drive Gear Drive Pinion
266 - Front Differential Transfer Drive Gear Counter Driven Gear
267 - Front Differential Transfer Drive Gear Bearing Inner Race
268 - Front Differential Transfer Drive Gear Lock Nut
269 - Front Differential Transfer Drive Gear Rear Thrust Bearing Race
270 - Front Differential Transfer Drive Gear Rear Thrust Bearing Assembly

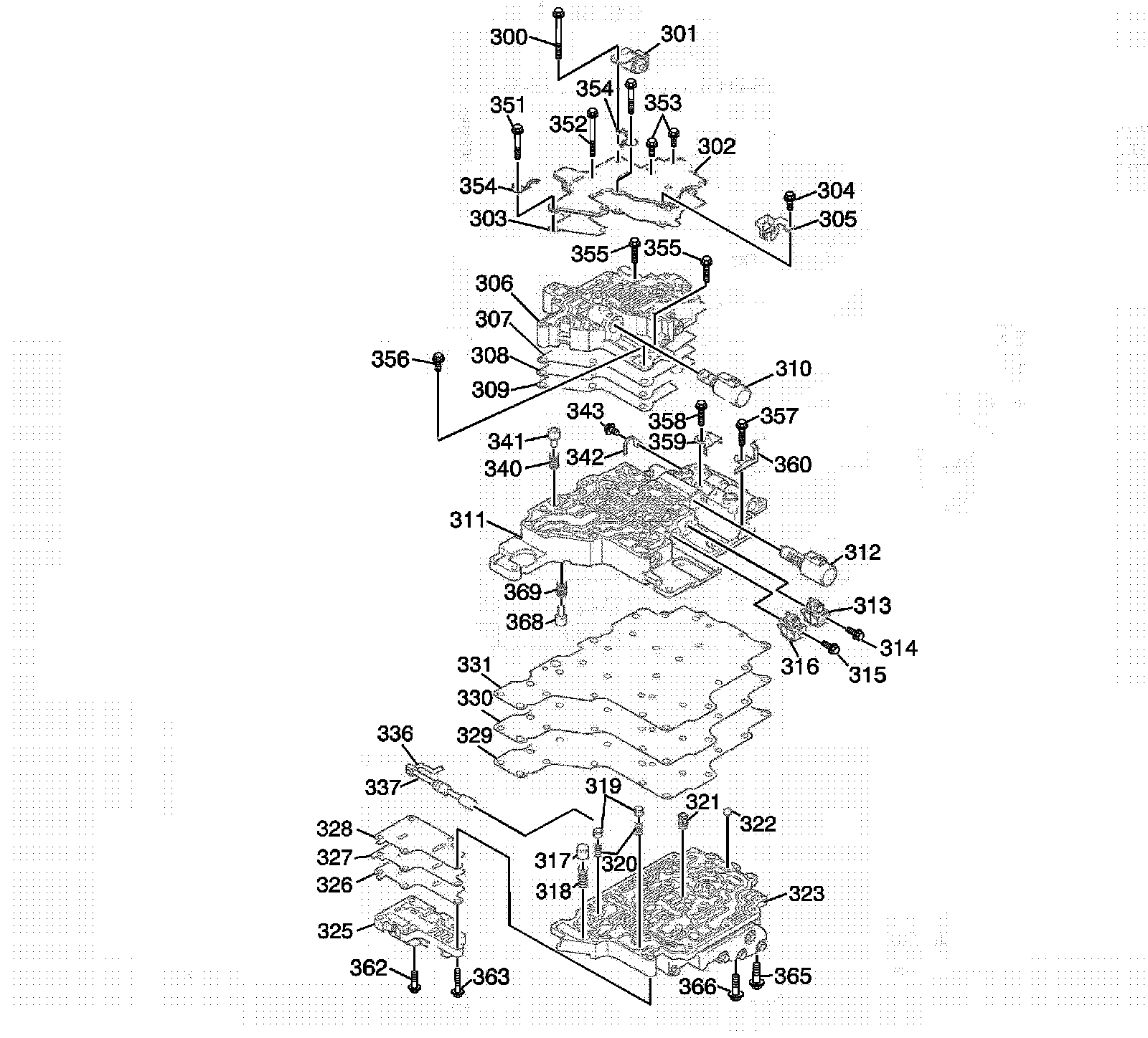
Valve Body Assemblies




300 - Control Valve Body Bolt
301 - Neutral Switching Solenoid Valve
302 - Front Control Valve Body Cover
303 - Front Control Valve Body Cover Gasket
304 - Lock Up Solenoid Clamp Bolt
305 - Lock Up Solenoid Clamp
306 - Front Control Valve Body
307 - Front Control Valve Body to Front Control Valve Body Spacer Plate Gasket
308 - Front Control Valve Body Spacer Plate
309 - Front Control Valve Body Spacer Plate to Middle Control Valve Body Gasket
310 - Lock Up Control Solenoid (SLU)
311 - Middle Control Valve Body Assembly
312 - Line Pressure Control Solenoid Valve Assembly (SLT)
313 - 2-3 Shift Solenoid Valve Assembly (S1)
314 - 2-3 Shift Solenoid Valve Assembly Bolt
315 - Shift Solenoid Valve Assembly Bolt
316 - 1-2/3-4 Shift Solenoid Valve Assembly (S2)
317 - Check Valve B
318 - Check Valve Spring B
319 - Check Valve A
320 - Check Valve A Spring
321 - Fluid Strainer
322 - Check Ball
323 - Rear Control Valve Body Assembly
325 - No. 2 Rear Control Valve Body Assembly
326 - No. 2 Rear Control Valve Body Assembly Spacer Plate Gasket
327 - No. 2 Rear Control Valve Body Assembly Spacer Plate
328 - No. 2 Rear Control Valve Body Gasket
329 - Rear No. 1 Control Valve Body Spacer Plate Gasket
330 - Rear No. 1 Control Valve Body Spacer Plate
331 - Rear No. 1 Control Valve Body Gasket
336 - Manual Valve Link
337 - Manual Valve
340 - Pressure Relief Valve Spring
341 - Pressure Relief Valve
342 - Line Pressure Control Solenoid Valve Retainer
343 - Line Pressure Control Solenoid Valve Retainer Bolt
351 - Front Control Valve Body Cover Bolt (Qty: 4)
352 - Front Control Valve Body Cover Bolt (Qty: 2)
353 - Front Control Valve Body Cover Bolt (Qty: 2)
354 - Automatic Transmission Wiring Harness Assembly Retainer (Qty: 2)
355 - Front Valve Body Bolt (Qty: 2)
356 - Front Valve Body Bolt (Qty: 1)
357 - Rear Valve Body to No. 2 Rear Valve Body Bolts (Qty: 4)
358 - Rear Valve Body to No. 2 Rear Valve Body Bolt (Qty: 1)
359 - No. 2 Rear Valve Body Fluid Baffle (Qty: 1)
360 - No. 2 Rear Valve Body Wiring Harness Assembly Retianer (Qty: 1)
362 - No. 2 Rear Control Valve Body Bolts (Qty: 3)
363 - No. 2 Rear Control Valve Body Bolts (Qty: 2)
365 - Middle Control Valve Body Bolt (Qty: 1)
366 - Middle Control Valve Body Bolts (Qty: 2)
368 - Middle Control Valve Body Fluid Cooler By-pass Valve
369 - Middle Control Valve Body Fluid Cooler By-pass Valve Spring

Front Valve Body Assembly




306 - Front Control Valve Body
370 - Solenoid B-1 Modulator No. 2
371 - Solenoid B-1 Modulator Valve No. 2 Spring
372 - Sleeve/Bore Plug Retainer
373 - Solenoid Modulator Valve Bore Plug
374 - Neutral Relay Valve
375 - Neutral Relay Valve Spring

Middle Valve Body Assembly




311 - Middle Control Valve Body Assembly
376 - Primary Regulator Valve Sleeve
377 - Primary Regulator Valve Plunger
378 - Primary Regulator Valve Spring
379 - Primary Regulator Valve
380 - Lock Up Control Solenoid (SLU) Valve
381 - Lock Up Control Solenoid (SLU) Spring
382 - Sleeve/Bore Plug Retainer
383 - Solenoid Modulator Valve Bore Plug
384 - Solenoid Modulator Valve Bore Plug
385 - 3-4 Shift Valve Sleeve
386 - 3-4 Shift Valve Spring
387 - 3-4 Shift Valve
388 - 2-3 Shift Valve Spring
389 - 2-3 Shift Valve
390 - 1-2 Shift Valve
391 - 1-2 Shift Valve Spring
392 - Solenoid B-1 Modulator Valve No. 1 Plunger
393 - Solenoid B-1 Modulator Valve No. 1 Spring
394 - Solenoid B-1 Modulator Valve No. 1
395 - Solenoid B-1 Modulator Valve No. 1 Sleeve
396 - Accumulator Regulator Valve Sleeve
397 - Accumulator Regulator Valve Plunger
398 - Accumulator Regulator Valve Spring
399 - Accumulator Regulator Valve

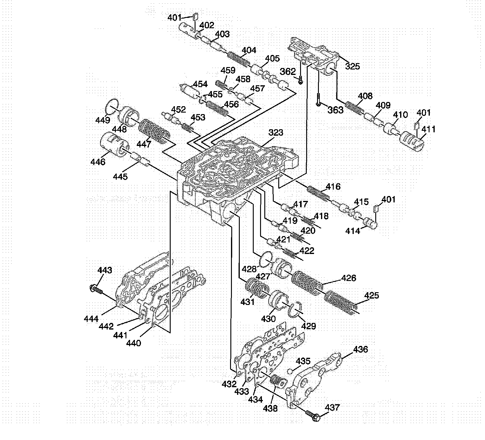
Rear Valve Body and No. 2 Rear Valve Body Assemblies




323 - Rear Control Valve Body Assembly
325 - No. 2 Rear Control Valve Body Assembly
362 - No. 2 Rear Control Valve Body Bolts (Qty: 3)
363 - No. 2 Rear Control Valve Body Bolts (Qty: 2)
401 - Sleeve/Bore Plug Retainer
402 - Lock Up Relay Control Valve Sleeve
403 - Lock Up Relay Control Valve Plunger
404 - Lock Up Relay Control Valve Spring
405 - Lock Up Relay Control Valve
408 - Lock Up Control Valve Spring
409 - Lock Up Control Valve
410 - Lock Up Control Valve Plunger
411 - Solenoid Modulator Valve Bore Plug
414 - Solenoid Modulator Valve Bore Plug
415 - Secondary Regulator Valve
416 - Secondary Regulator Valve Spring
417 - B-1 Modulator Control Valve
418 - B-1 Modulator Control Valve Spring
419 - Low Modulator Valve
420 - Low Modulator Valve Spring
421 - Solenoid Modulator Valve
422 - Solenoid Modulator Valve Spring
425 - C-2 Accumulator Inner Spring
426 - C-2 Accumulator Outer Spring
427 - C-2 Accumulator Piston
428 - C-2 Accumulator O-Ring Seal
429 - B-1 Accumulator Snap Ring
430 - B-1 Accumulator Piston
431 - B-1 Accumulator Split Seal Ring
432 - Rear Valve Body Cover No. 1 Gasket
433 - Rear Valve Body Cover No. 1 Plate
434 - Rear Valve Body Cover No. 1 Gasket
435 - Rear Valve Body Cover No. 1 Check Ball
436 - Rear Valve Body Cover No. 1
437 - Rear Valve Body Cover No. 1 Bolt
438 - B-1 Accumulator Counter Spring
440 - Rear Valve Body Cover No. 2 Gasket
441 - Rear Valve Body Cover No. 2 Plate
442 - Rear Valve Body Cover No. 2 Gasket
443 - Rear Valve Body Cover No. 2 Bolt
444 - Rear Valve Body Cover No. 2
445 - C-1 Control Valve
446 - C-1 Control Valve Sleeve
447 - C-0 Accumulator Spring
448 - C-0 Accumulator Piston
449 - C-0 Accumulator O-Ring Seal
452 - 2-3 Timing Valve
453 - 2-3 Timing Valve Spring
454 - C-1 Damper Piston
455 - C-1 Damper Piston Split Seal Ring
456 - C-1 Damper Spring
457 - C-3 Modulator Valve
458 - C-3 Modulator Valve Spring Seat
459 - C-3 Modulator Valve Spring

1st and Reverse Clutch Assembly




17 - Transmission Case Assembly
510 - 1st and Reverse Clutch Piston Inner Seal
511 - 1st and Reverse Clutch Piston
512 - 1st and Reverse Clutch Piston Outer Seal
513 - 1st and Reverse Clutch Spring Assembly
514 - 1st and Reverse Clutch Spring Retaining Ring
516 - 1st and Reverse Clutch Plate Assembly - Fiber
517 - 1st and Reverse Clutch Plate - Steel
518 - 1st and Reverse Clutch Backing Plate Retaining Ring
519 - 1st and Reverse Clutch Backing Plate

Front Planetary Ring Gear Assembly




520 - Overrun Clutch Inner Race
521 - Overrun Clutch Inner Race Thrust Washer
522 - Overrun Clutch Inner Race Thrust Bearing Race
523 - Overrun Clutch Inner Race Thrust Bearing with Race
524 - Overrun Clutch Retaining Ring
525 - Overrun Clutch End Bearing
526 - Overrun One-Way Clutch
527 - Overrun Clutch Thrust Washer
528 - Front Planetary Ring Gear
529 - Front Planetary Ring Gear O-Ring Seal
530 - Front Planetary Ring Gear Flange
531 - Front Planetary Ring Gear Flange Retaining Ring
532 - Front Planetary Ring Gear Flange Thrust Washer

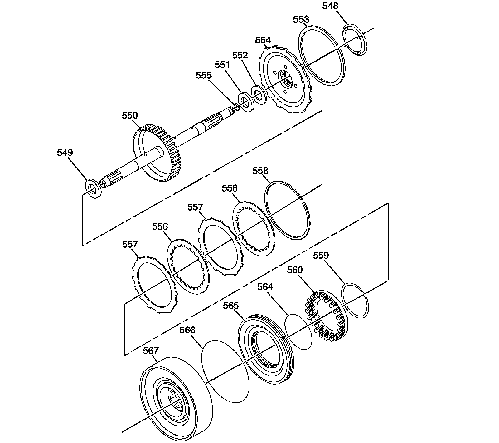
Reverse Gear Clutch (C2) and Input Shaft Assembly




548 - Sun Gear Input Flange Thrust Washer
549 - Input Shaft Front Thrust Washer
550 - Input Shaft
551 - Input Shaft Thrust Bearing
552 - Input Shaft Thrust Bearing Race
553 - Sun Gear Input Flange Retaining Ring
554 - Sun Gear Input Flange
555 - Input Shaft Seal Ring - Slotted
556 - Reverse Gear Clutch Plate Assembly - Fiber
557 - Reverse Gear Clutch Plate Assembly - Steel
558 - Reverse Gear Clutch Plate Retaining Ring
559 - Reverse Gear Clutch Spring Retaining Ring
560 - Reverse Gear Clutch Spring
564 - Reverse Gear Clutch Piston Inner Seal
565 - Reverse Gear Clutch Piston
566 - Reverse Gear Clutch Piston Outer Seal
567 - Reverse Gear Clutch Drum

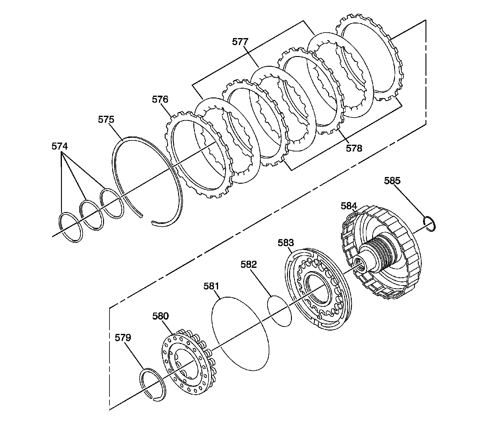
Forward Clutch (C1) Assembly




574 - Forward Clutch Housing Seal - Slotted
575 - Forward Clutch Backing Plate Retaining Ring
576 - Forward Clutch Backing Plate
577 - Forward Clutch Plate Assembly - Fiber
578 - Forward Clutch Plate Assembly - Steel
579 - Forward Clutch Piston Return Spring Retaining Ring
580 - Forward Clutch Piston Return Spring Assembly
581 - Forward Clutch Piston Outer Seal
582 - Forward Clutch Piston Inner Seal
583 - Forward Clutch Piston
584 - Forward Clutch Housing
585 - Forward Clutch Housing Thrust Bearing Assembly

Rear Planetary Ring Gear and Carrier Assembly




541 - Carrier Thrust Washer
542 - Carrier Assembly
543 - Carrier Thrust Bearing
544 - Sun Gear
545 - Sun Gear Thrust Bearing Assembly
600 - Overdrive Clutch Hub
601 - Overdrive Clutch Hub Retaining Ring
602 - Rear Planetary Ring Gear Thrust Bearing
603 - Sun Gear Thrust Bearing Race
604 - Rear Planetary Ring Gear Flange Retaining Ring
605 - Rear Planetary Ring Gear Flange
606 - Rear Planetary Ring Gear
607 - Coast Clutch Outer Race
608 - Coast Clutch End Bearing
609 - Coast One Way Clutch
610 - Coast Clutch Retainer Plate
611 - Coast Clutch Retainer Plate Retaining Ring
612 - Rear Ring Gear Rear Thrust Bearing Race
613 - Rear Ring Gear Rear Thrust Bearing
614 - Rear Planetary Ring Gear Flange Thrust Washer

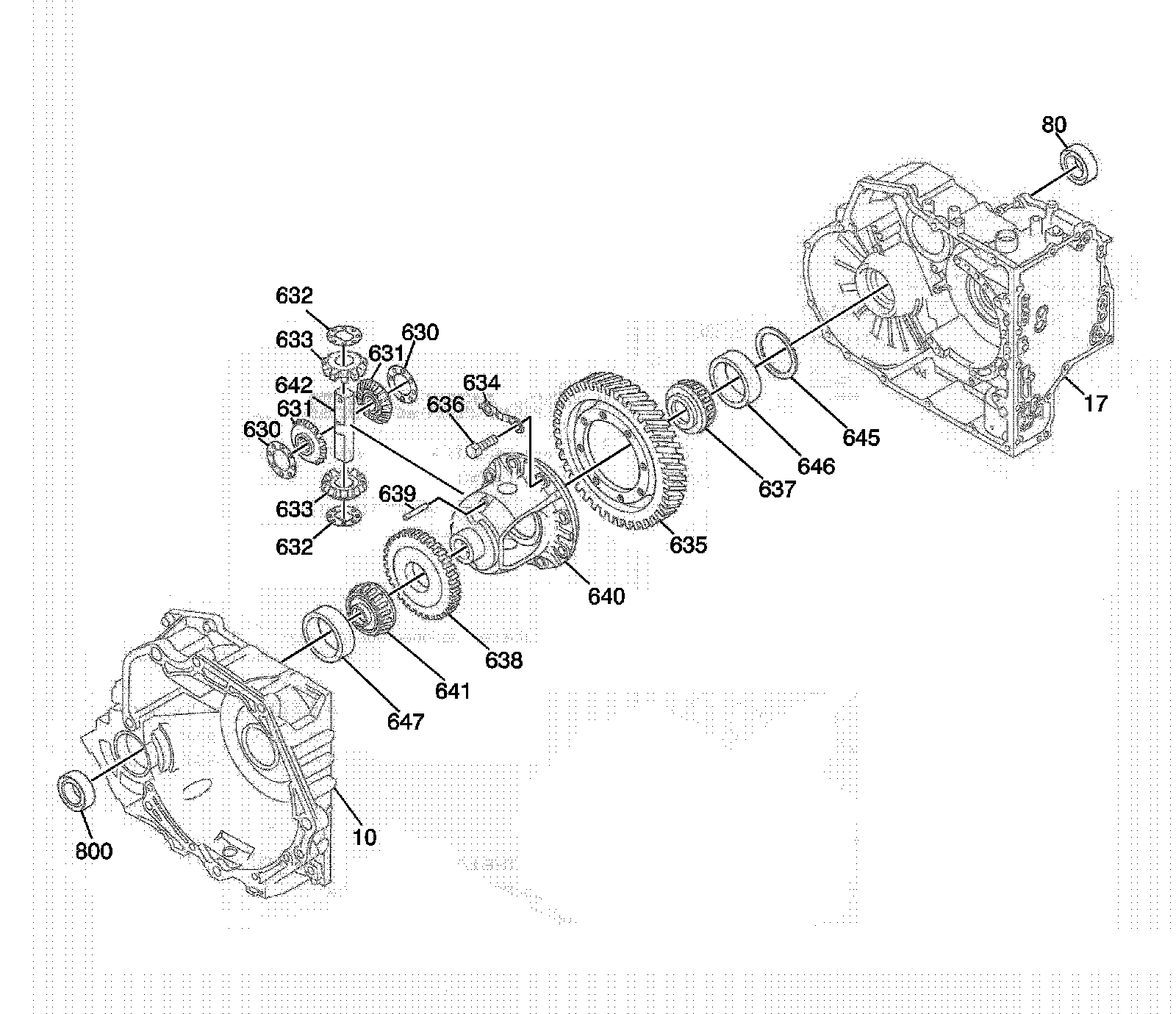
Differential Assembly




10 - Torque Converter Housing
17 - Transmission Case Assembly
80 - Front Wheel Drive Shift Oil Seal
630 - Front Differential Side Gear Thrust Washer
631 - Front Differential Side Gear
632 - Front Differential Pinion Shaft Thrust Washer
633 - Front Differential Pinion Gear
634 - Front Differential Ring Gear Mounting Bolt Lock
635 - Front Differential Ring Gear
636 - Front Differential Ring Gear Mounting Bolt
637 - Front Differential Tapered Outer Roller Bearing
638 - Front Differential Speed Sensor Reluctor Wheel
639 - Front Differential Pinion Shaft Retaining Pin
640 - Front Differential Carrier Assembly
641 - Front Differential Tapered Outer Roller Bearing
642 - Front Differential Pinion Shaft
645 - Front Differential Carrier Bearing Shim - Selective
646 - Front Differential Carrier Bearing Race
647 - Front Differential Carrier Bearing Race
800 - Front Differential Carrier Seal Assembly

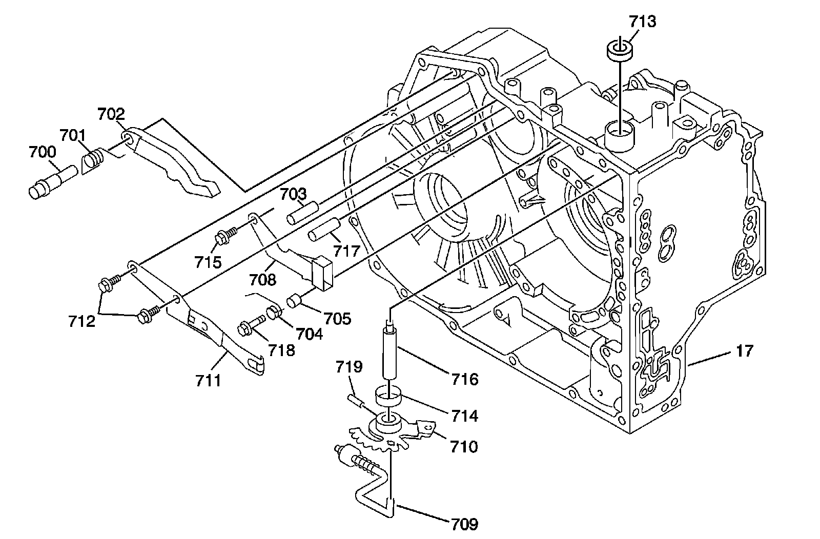
Parking System Components




17 - Transmission Case Assembly
700 - Park Pawl Shaft
701 - Park Pawl Spring - Return
702 - Park Pawl
703 - Park Pawl Locking Pin
704 - Park Pawl Pin Spring
705 - Park Pawl Pin Spring Guide Sleeve
708 - Park Pawl Lock Guide
709 - Park Pawl Actuator Rod
710 - Manual Shift Shaft Detent Assembly
711 - Manual Shift Shaft Detent Lever Spring
712 - Manual Shaft Detent Spring Bolt M6 x 1.0 x 14 (Qty: 2)
713 - Manual Shift Shaft Seal Assembly
714 - Manual Shift Shaft Spacer
715 - Manual Shift Shaft Detent Lever Bolt M6 x 1.0 x 14 (Qty: 1)
716 - Manual Shift Shaft
717 - Park Pawl Stop Pin
718 - Manual Shift Shaft Detent Lever Bolt M6 x 1.0 x 28 (Qty: 1)
719 - Manual Shift Shaft Locking Pin

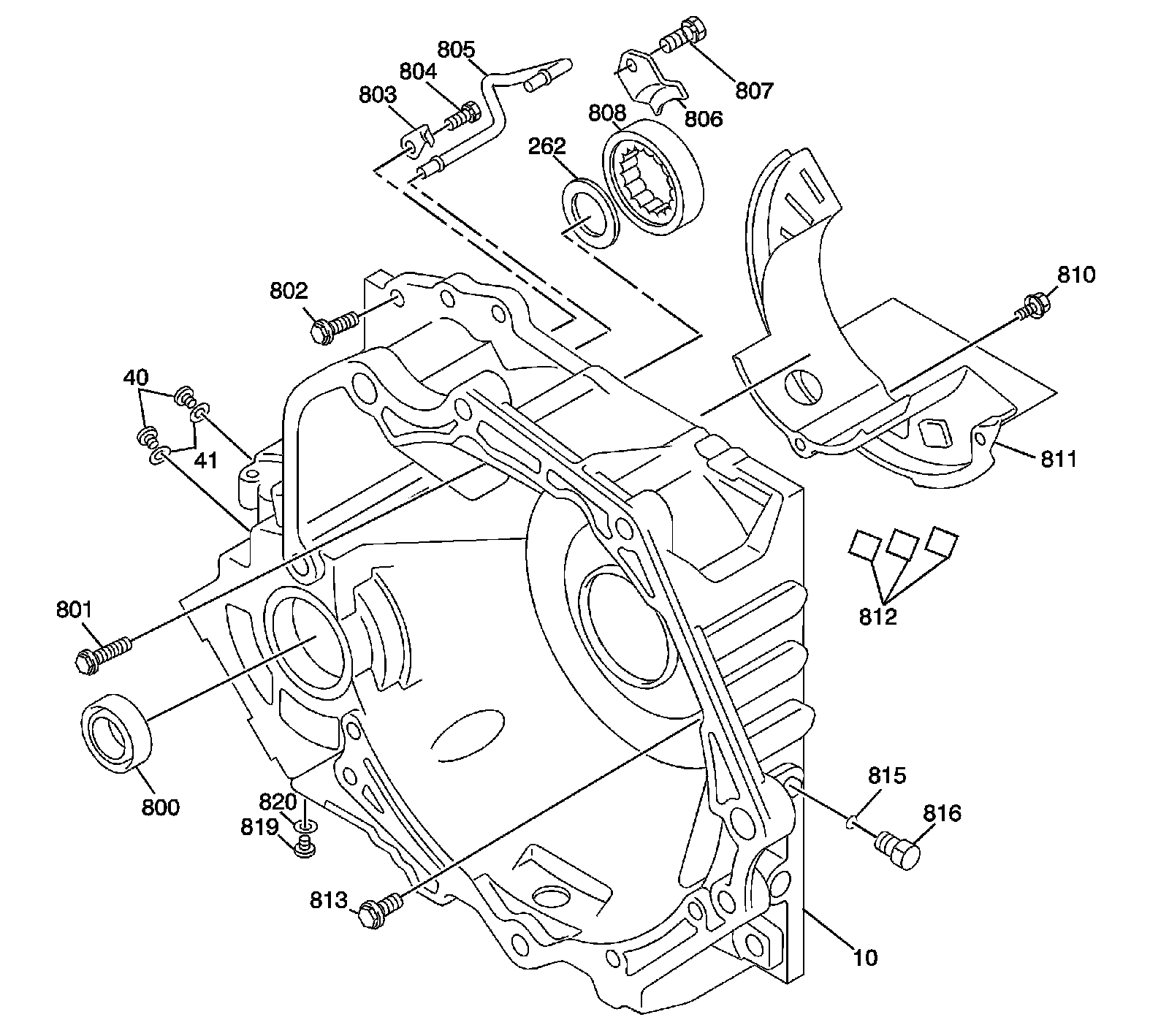
Torque Converter Housing Assembly




10 - Torque Converter Housing
40 - Fluid Passage Plug
41 - Fluid Passage Plug Seal
262 - Front Differentail Transfer Drive Gear Front Thrust Bearing Assembly
800 - Front Differential Carrier Seal Assembly
801 - Torque Converter Housing Bolt M8 1.0 x 39 (Qty: 2)
802 - Torque Converter Housing Bolt M8 x 1.0 x 30 (Qty: 10)
803 - Lube Fluid Pipe Retainer
804 - Lube Fluid Pipe Retainer Bolt M6 x 1.0 x 12 (Qty: 1)
805 - Lube Fluid Pipe
806 - Front Differential Transfer Drive Gear Assembly Bearing Retainer
807 - Front Differential Transfer Drive Gear Assembly Bearing Retainer Bolt M8 x 1.0 x 20 (Qty: 1)
808 - Front Differential Transfer Drive Gear Assembly Bearing
810 - Transmission Fluid Baffle Bolt M6 x 1.0 x 12 (Qty: 3)
811 - Transmission Fluid Baffle
812 - Chip Collector Magnet
813 - Torque Converter Housing Bolt M8 x 1.0 x 25 (Qty: 2)
815 - Automatic Transmission Fluid Pressure Test Hole Plug O-Ring Seal
816 - Automatic Transmission Fluid Pressure Test Hole Plug
819 - Transmission Fluid Drain Plug
820 - Transmission Fluid Drain Plug Washer