lemon-mirror:
Home >> Saturn >> 2007 >> VUE FWD L4-2.4L Hybrid >> Repair and Diagnosis >> Powertrain Management >> Computers and Control Systems >> Relays and Modules - Computers and Control Systems >> Engine Control Module >> Diagrams >> Connector Views

Connector Views



Engine Control Module Connector End Views

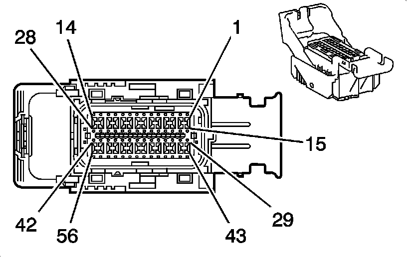
Engine Control Module (ECM) C1














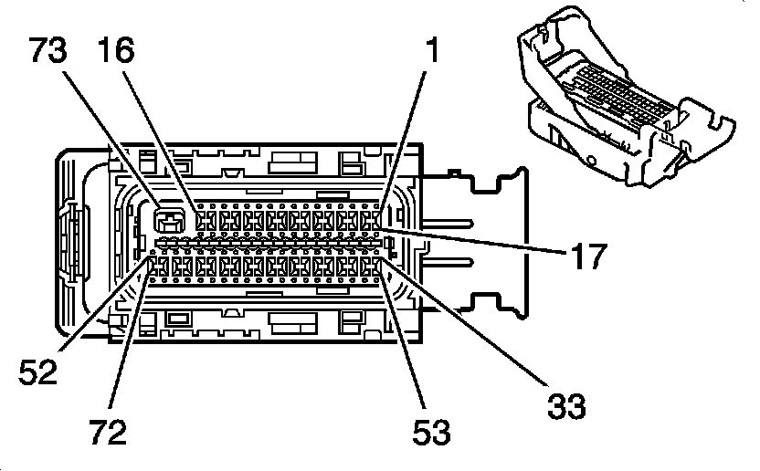
Engine Control Module (ECM) C2









Engine Control Module (ECM) C2 (Pin 1 To 55):





Engine Control Module (ECM) C2 (Pin 56 To 73):






Engine Control Module (ECM) C3