lemon-mirror:
Home >> Saturn >> 2007 >> VUE FWD L4-2.2L >> Repair and Diagnosis >> Transmission and Drivetrain >> Automatic Transmission/Transaxle >> Control Module >> Service and Repair

Control Module: Service and Repair



Transmission Control Module Replacement (2.2L (L61))

Removal Procedure

Important: Wires to the transmission control module (TCM) connector have 350-400 mm of extra length to aid in the diagnosis and repair of the TCM. Re-tape wires after repairs.




1. Remove the screws from the instrument panel (I/P) lower closeout panel.
2. Remove the I/P lower left closeout panel.




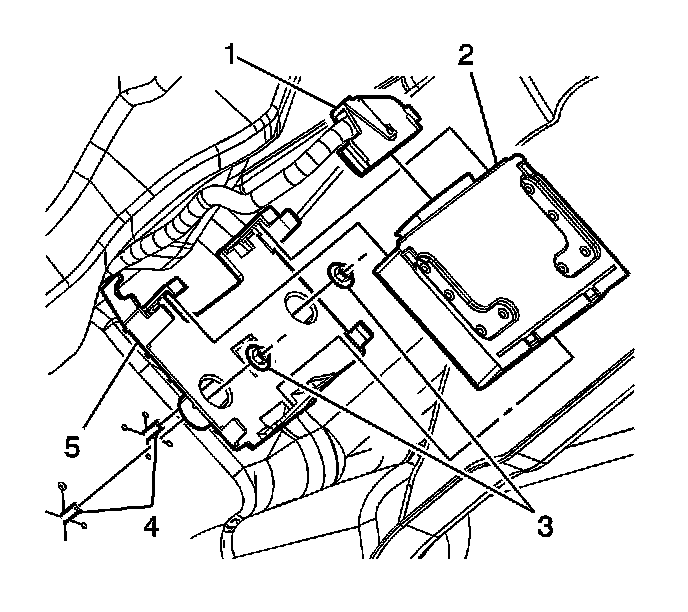
3. Release the transmission control module (TCM) (2) from the TCM bracket (5).
4. Un-wrap the tape from the extra length of wires in wiring harness.
5. Pull the TCM down to access the electrical connector.
6. Release the TCM electrical connector (1) from the TCM.
7. If TCM bracket replacement is necessary, remove the TCM bracket nuts (3).
8. Remove the TCM bracket (5) from the vehicle.

Installation Procedure




1. Install the TCM bracket (5) if previously removed.

Notice: Refer to Fastener Notice.

2. Install the TCM bracket nuts (3).

Tighten the nuts to 10 N.m (89 lb in).

3. Install the TCM electrical connector (1) to the TCM.
4. Install the TCM (2) to the TCM bracket (5).
5. Re-tape the extra length of wires in harness.




6. Install the I/P lower left closeout panel.
7. Install the I/P lower closeout panel screws.

Tighten the screws to 2 N.m (18 lb in).

Important: It is recommended that transmission adaptive pressure (TAP) information be reset.

Resetting the TAP values using a scan tool will erase all learned values in all cells. As a result, the engine control module (ECM), powertrain control module (PCM) or TCM will need to relearn TAP values. Transmission performance may be affected as new TAP values are learned.

8. Reset the TAP values. Refer to Transmission Adaptive Functions.
9. Refer to Programming and RelearningProgramming and Relearning