lemon-mirror:
Home >> Saturn >> 2007 >> VUE FWD L4-2.2L >> Repair and Diagnosis >> Specifications >> Mechanical Specifications >> Engine >> Cylinder Head Assembly

Cylinder Head Assembly

Cylinder Head
Surface Flatness - Block Deck - Transverse 0.030 mm (0.0012 in)
Surface Flatness - Block Deck - Longitude 0.050 mm (0.002 in)
Surface Flatness - Block Deck - Overall 0.1 mm (0.004 in)





Camshaft Cap Bolt 10 N.m (89 lb in)
Intake Camshaft Rear Cap Bolt 25 N.m (18 lb ft)

Install all bearing caps except the front caps and rear intake camshaft cap, if serviced. Tighten down the bearing caps uniformly.

Camshaft Sprocket Bolt
First Pass 85 N.m (63 lb ft)
Final Pass 30 degrees

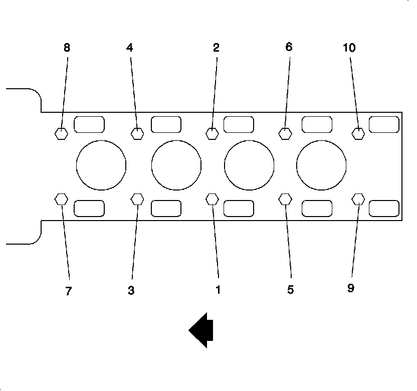
Cylinder Head Bolt





Important: Always use new cylinder head bolts.

First Pass 30 N.m (22 lb ft)
Final Pass 155 degrees





Exhaust Manifold to Cylinder Head Nut - 2 passes 14 N.m (124 lb in)
Exhaust Manifold to Cylinder Head Stud 10 N.m (89 lb in)

Intake Manifold to Cylinder Head Bolt 10 N.m (89 lb in)
Intake Manifold to Cylinder Head Nut 10 N.m (89 lb in)
Intake Manifold to Cylinder Head Stud 6 N.m (53 lb in)