lemon-mirror:
Home >> Saturn >> 2007 >> Outlook V6-3.6L >> Repair and Diagnosis >> Diagrams >> Exploded Views >> Automatic Transmission/Transaxle >> System Diagram >> Control Valve Body Assembly

Control Valve Body Assembly



Disassembled Views

Control Valve Body Assembly:





301 - Control Valve Channel Upper Plate Assembly
302 - Control Valve Body Bolt
303 - Control Valve Body Bolt
304 - Control Valve Channel Plate
305 - Control Valve Body Bolt
306 - Actuator Feed Accumulator Piston
307 - Actuator Feed Accumulator Spring
308 - Control Valve Body Locator Pin
309 - Control Valve Upper Body Spacer Plate Assembly
310 - Control Valve Body Spacer Plate Retainer
311 - Control Valve Body Ball Check Valve
312 - Control Valve Upper Body Assembly
313 - Control Valve Lower Body Spacer Plate Assembly
314 - Control Valve Lower Body

Upper Valve Body Assembly:





325 - Low and Reverse and 4-5-6 Clutch Regulator Valve Spring
326 - Low and Reverse and 4-5-6 Clutch Regulator Valve
327 - Pressure Regulator Valve Bore Plug
328 - Torque Converter Clutch Valve Spring Retainer
329 - Torque Converter Clutch Regulator Apply Valve Spring
330 - Torque Converter Clutch Regulator Apply Valve
331 - Torque Converter Clutch Regulator Apply Shuttle Valve
332 - 2-6 Clutch Regulator Valve Spring
333 - 2-6 Clutch Regulator Valve
334 - 2-6 Clutch Regulator Valve Gain Valve
335 - 3-5-Reverse Clutch Regulator Valve Spring
336 - 3-5-Reverse Clutch Regulator Valve
337 - Pressure Regulator Valve
338 - Pressure Regulator Valve Spring
339 - Pressure Regulator Valve Bore Plug Retainer
340 - Isolator Valve
341 - Isolator Valve Spring
342 - Torque Converter Clutch Control Valve
343 - Torque Converter Clutch Control Valve Spring
344 - Clutch Select Solenoid Valve #3 Spring
345 - Clutch Select Solenoid #3 Valve
346 - Clutch Select Solenoid Valve #2 Spring
347 - Clutch Select Solenoid #2 Valve
348 - Manual Valve
349 - Control Valve Upper Body

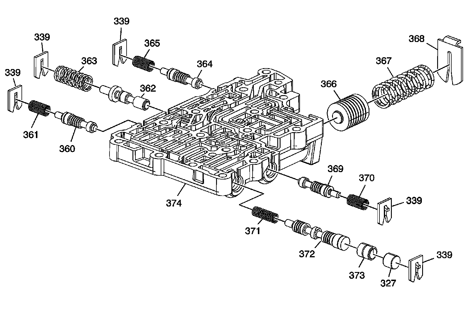
Lower Valve Body Assembly:





327 - 1-2-3-4 Clutch Regulator Valve Bore Plug
339 - Actuator Feed Limit Valve Spring Retainer
360 - 4-5-6 Clutch Boost Valve
361 - 4-5-6 Clutch Boost Valve Spring
362 - Actuator Feed Limit Valve
363 - Actuator Feed Limit Valve Spring
364 - 3-5-Reverse Clutch Boost Valve
365 - 3-5-Reverse Clutch Boost Valve Spring
366 - 4-5-6 Clutch Accumulator Piston
367 - 4-5-6 Clutch Accumulator Piston Spring
368 - 4-5-6 Clutch Accumulator Piston Retainer
369 - 1-2-3-4 Clutch Boost Valve
370 - 1-2-3-4 Clutch Boost Valve Spring
371 - 1-2-3-4 Clutch Regulator Valve Spring
372 - 1-2-3-4 Clutch Regulator Valve
373 - Default Override 1-2-3-4 Clutch Valve
374 - Control Valve Lower Body