lemon-mirror:
Home >> Saturn >> 2007 >> ION L4-2.0L SC >> Repair and Diagnosis >> Diagrams >> Connector Views >> Engine Control Module

Engine Control Module



Powertrain Control Module Connector End Views

Powertrain Control Module (PCM) C1









Powertrain Control Module (PCM) C1 (Pin 1 To 24):





Powertrain Control Module (PCM) C1 (Pin 25 To 56):






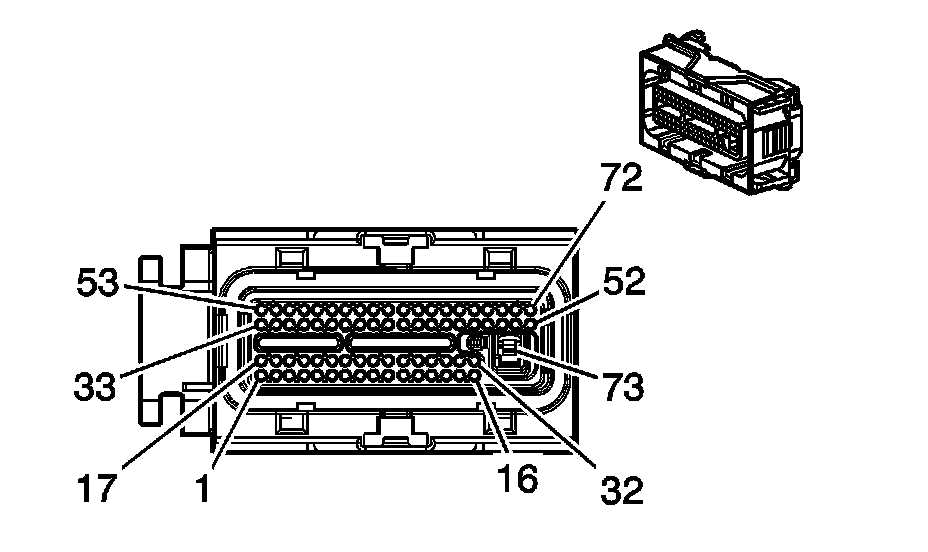
Powertrain Control Module (PCM) C2









Powertrain Control Module (PCM) C2 (Pin 1 To 26):





Powertrain Control Module (PCM) C2 (Pin 27 To 73):






Powertrain Control Module (PCM) C3









Powertrain Control Module (PCM) C3 (Pin 1 To 56):