lemon-mirror:
Home >> Saturn >> 2005 >> ION L4-2.2L VIN F >> Repair and Diagnosis >> Specifications >> Mechanical Specifications >> Engine >> System Specifications >> Thread Repair Specifications

Thread Repair Specifications



Thread Repair Specifications

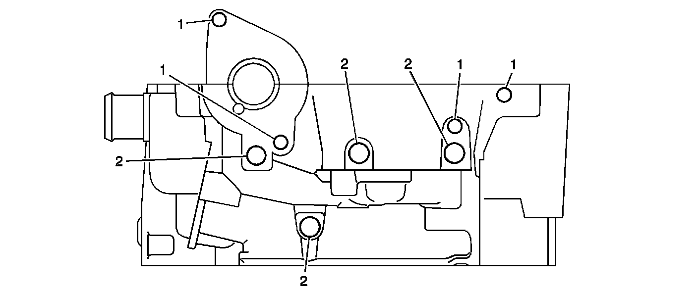
Engine Block - Front View:









Engine Block - Front View

Engine Block - Back View:









Engine Block - Back View

Engine Block - Left Side View:









Engine Block - Left Side View

Engine Block - Bottom View:









Engine Block - Bottom View

Engine Block - Right Side View:









Engine Block - Right Side View

Engine Block - Top View:









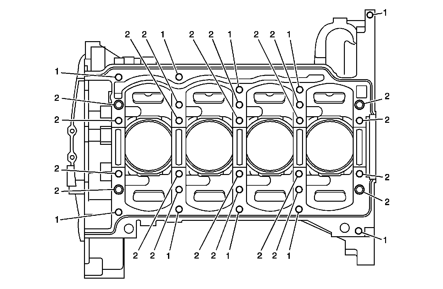
Lower Crankcase - Front View:









Lower Crankcase - Front View

Lower Crankcase - Back View:









Lower Crankcase - Back View

Lower Crankcase - Bottom View:









Lower Crankcase - Bottom View

Lower Crankcase - Left View:









Lower Crankcase - Left View

Lower Crankcase - Right View:









Lower Crankcase - Right View

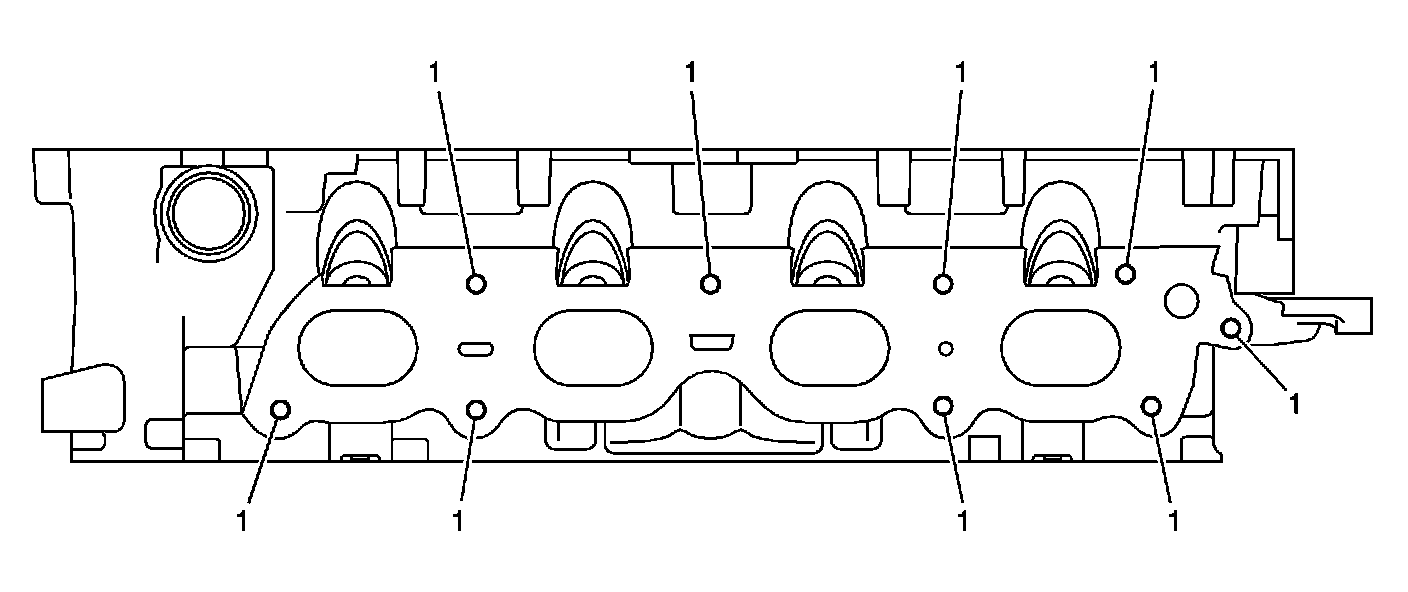
Cylinder Head - Top View:









Cylinder Head - Top View

Cylinder Head - Intake Manifold Deck View:









Cylinder Head - Intake Manifold Deck View

Cylinder Head - Exhaust Manifold Deck View:









Cylinder Head - Exhaust Manifold Deck View

Cylinder Head - Front View:









Cylinder Head - Front View

Cylinder Head - Back View:









Cylinder Head - Back View

Cylinder Head - Bottom View:









Cylinder Head - Bottom View