lemon-mirror:
Home >> Saturn >> 2005 >> ION L4-2.2L VIN F >> Repair and Diagnosis >> Powertrain Management >> Computers and Control Systems >> Fuel Level Sensor >> Service and Repair >> Fuel Level Sensor Replacement

Fuel Level Sensor Replacement



FUEL LEVEL SENSOR REPLACEMENT

REMOVAL PROCEDURE

CAUTION: Refer to Gasoline/Gasoline Vapors Caution in Service Precautions.




1. Remove the fuel pump module assembly.
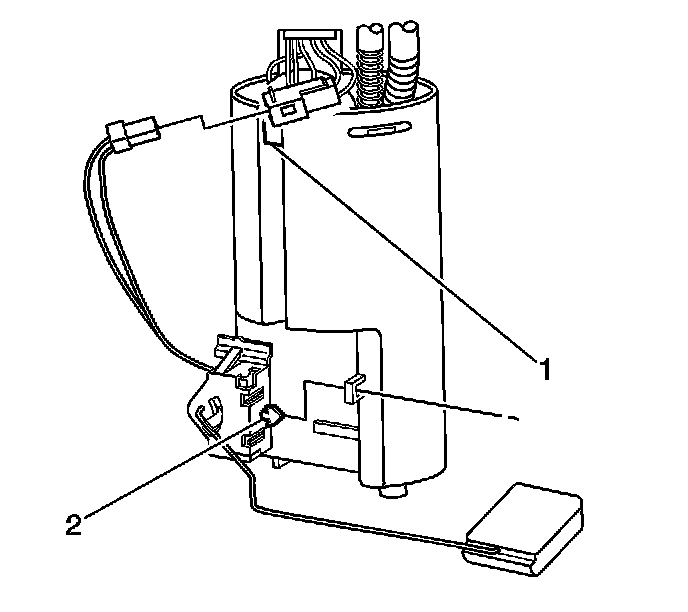
2. Release the fuel level sensor wiring harness from the molded-in tab (1) on the pump module bowl.
3. Disconnect the fuel level sensor electrical connector from the pump module.
4. Depress the retaining tab (2) on the sensor and begin to slide the level sensor away from the pump module.
5. Carefully slide the level sensor the rest of the way off of the pump module.

INSTALLATION PROCEDURE




1. Carefully slide the fuel level sensor into the slots on the fuel pump module bowl.
2. Secure the retaining tab (2) on the sensor into the slot on the pump module bowl.
3. Connect the fuel level sensor electrical connector to the pump module.
4. Install the fuel level sensor wiring harness to the molded-in tab (1) on the pump module bowl.
5. Install the fuel pump module assembly.